TOP
|
特許
|
意匠
|
商標
特許ウォッチ
Twitter
他の特許を見る
10個以上の画像は省略されています。
公開番号
2025155887
公報種別
公開特許公報(A)
公開日
2025-10-14
出願番号
2025020174
出願日
2025-02-10
発明の名称
光センサおよび光センサの製造方法
出願人
京セラ株式会社
代理人
弁理士法人三協国際特許事務所
主分類
H10F
55/00 20250101AFI20251002BHJP()
要約
【課題】実装されたICチップを安定して保護するとともに、製造時の作業性を向上することが可能な光センサおよびその製造方法を提供する。
【解決手段】光センサは、回路基板と、前記回路基板に搭載され、光の発光および受光を行う受発光部と、前記回路基板に搭載されるICチップと、コート剤の固化物からなり、前記ICチップを覆うように形成されて前記ICチップを保護するコート層と、を備え、前記回路基板の表面は、部品実装領域と、前記部品実装領域に並んで配置され前記装置本体に取付けられる取付領域とを有し、前記ICチップは、前記部品実装領域のうちの前記取付領域に隣接する領域に配置され、前記回路基板は、前記ICチップと前記取付領域との間の前記回路基板の表面に配置された第1抑制部を有する。
【選択図】図8
特許請求の範囲
【請求項1】
装置本体に装着される光センサであって、
回路基板と、
前記回路基板に搭載され、光の発光および受光を行う受発光部と、
前記回路基板に搭載されるICチップと、
コート剤の固化物からなり、前記ICチップを覆うように形成されて前記ICチップを保護するコート層と、
を備え、
前記回路基板の表面は、部品実装領域と、前記部品実装領域に並んで配置され前記装置本体に取付けられる取付領域とを有し、
前記ICチップは、前記部品実装領域のうちの前記取付領域に隣接する領域に配置され、
前記回路基板は、前記ICチップと前記取付領域との間の前記回路基板の表面に配置された第1抑制部を有する、光センサ。
続きを表示(約 1,000 文字)
【請求項2】
前記回路基板は、回路基板本体と、前記回路基板本体の表面に形成されて前記回路基板本体を保護する保護膜とを有し、
前記第1抑制部は、前記回路基板の表面から突出する第1凸部、前記回路基板の表面に対して窪んだ第1溝部、および前記保護膜と前記コート剤との濡れ性よりも低い濡れ性を前記コート剤との間で有し前記回路基板本体の表面が露出した第1露出部のうちの少なくとも一つである、請求項1に記載の光センサ。
【請求項3】
前記第1凸部は、前記部品実装領域と前記取付領域とを区切り、印刷塗料の固化物からなるパターン印刷部である、請求項2に記載の光センサ。
【請求項4】
前記第1抑制部は、前記ICチップの周囲の領域である周囲領域に配置されている、請求項1に記載の光センサ。
【請求項5】
前記第1抑制部は、前記周囲領域の全域に配置されている、請求項4に記載の光センサ。
【請求項6】
前記第1抑制部は、前記周囲領域の一部を開放して配置されている、請求項4に記載の光センサ。
【請求項7】
前記第1抑制部は、前記ICチップから前記取付領域に向かう方向とは反対の方向に向かって、前記周囲領域の一部を開放して配置されている、請求項6に記載の光センサ。
【請求項8】
前記受発光部を覆うカバー部材を更に備え、
前記回路基板は、
前記カバー部材の一部が挿通される貫通孔と、
前記ICチップと前記貫通孔との間の前記回路基板の表面に配置された第2抑制部と、
を更に有する、請求項1に記載の光センサ。
【請求項9】
前記回路基板は、回路基板本体と、前記回路基板本体の表面に形成されて前記回路基板本体を保護する保護膜とを有し、
前記第2抑制部は、前記回路基板の表面から突出する第2凸部、前記回路基板の表面に対して窪んだ第2溝部、および前記保護膜と前記コート剤との濡れ性よりも低い濡れ性を前記コート剤との間で有し前記回路基板本体の表面が露出した第2露出部のうちの少なくとも一つである、請求項8に記載の光センサ。
【請求項10】
前記第2抑制部は、前記第2露出部であり、
前記ICチップと前記貫通孔との間に配置された前記第2露出部の幅は、前記ICチップと前記貫通孔との間に配置されていない前記第2露出部の幅より広い、請求項9に記載の光センサ。
(【請求項11】以降は省略されています)
発明の詳細な説明
【技術分野】
【0001】
本開示は、光センサおよびその製造方法に関する。
続きを表示(約 2,800 文字)
【背景技術】
【0002】
測定対象物に照射する測定光を発する発光素子と、前記測定光の反射光を受光する受光素子とを備える光センサが知られている。当該光センサは、例えばタンデム型の画像形成装置の中間転写ベルトに形成される、トナー濃度や色ずれ計測のためのパッチ画像の検出に用いられる。特許文献1には、光センサが、パッチ画像からの反射光を検出するための発光素子および受光素子を含むセンサ基板と、前記センサ基板を支持する回路基板とを含む光センサが開示されている。
【先行技術文献】
【特許文献】
【0003】
特開2021-128983号公報
【発明の概要】
【発明が解決しようとする課題】
【0004】
本開示の目的は、実装されたICチップを安定して保護するとともに、製造時の作業性を向上することが可能な光センサおよびその製造方法を提供することにある。
【課題を解決するための手段】
【0005】
本開示の一の局面に係る光センサは、装置本体に装着される光センサであって、回路基板と、前記回路基板に搭載され、光の発光および受光を行う受発光部と、前記回路基板に搭載されるICチップと、コート剤の固化物からなり、前記ICチップを覆うように形成されて前記ICチップを保護するコート層と、を備え、前記回路基板の表面は、部品実装領域と、前記部品実装領域に並んで配置され前記装置本体に取付けられる取付領域とを有し、前記ICチップは、前記部品実装領域のうちの前記取付領域に隣接する領域に配置され、前記回路基板は、前記ICチップと前記取付領域との間の前記回路基板の表面に配置されたことを抑制する第1抑制部を有する。
【0006】
本開示の他の局面に係る光センサの製造方法は、光センサの製造方法であって、部品実装領域と、装置本体に対して取付けられる取付領域とを有する回路基板の前記部品実装領域に、光の発光および受光を行う受発光部を搭載することと、前記回路基板の前記部品実装領域のうちの前記取付領域に隣接する領域にICチップを搭載することと、前記ICチップの端子と前記回路基板とをワイヤボンディングによって接続することと、前記ICチップと前記取付領域との間の前記回路基板の表面に、抑制部を形成することと、コート剤が前記取付領域に流入することを前記抑制部によって抑制しながら、前記ワイヤボンディングによって配設されたワイヤおよび前記ICチップを覆うように、前記コート剤によって前記ICチップに対してコート層を形成することと、を備える。
【発明の効果】
【0007】
本開示によれば、実装されたICチップを安定して保護するとともに、製造時の作業性を向上することが可能な光センサおよびその製造方法を提供できる。
【図面の簡単な説明】
【0008】
図1は、本開示の光センサが適用されるカラープリンターの内部構造を概略的に示す断面図である。
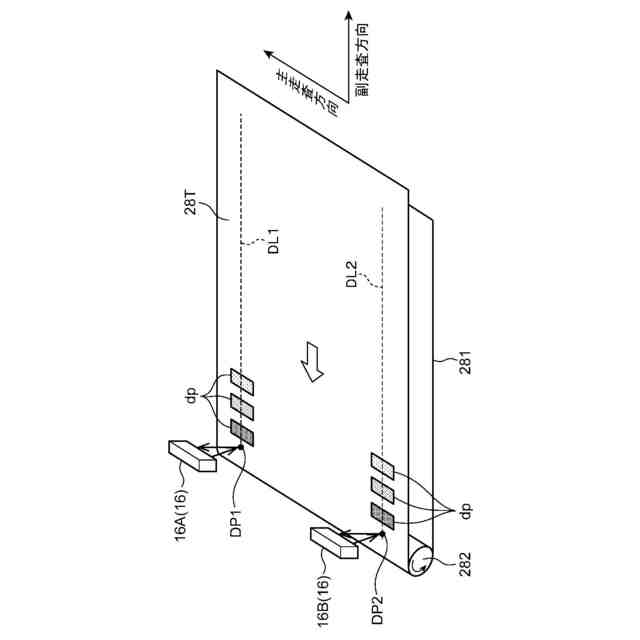
図2は、光センサの一例である濃度センサの配置例を示す斜視図である。
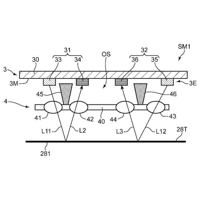
図3(A)および(B)は、黒トナーの検出原理を示す模式図である。
図4(A)および(B)は、カラートナーの検出原理を示す模式図である。
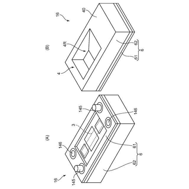
図5は、本開示の一実施形態に係る濃度センサを示す簡易的な断面図である。
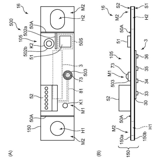
図6(A)及び(B)は、本開示の一実施形態に係る濃度センサの一部の外観を示す斜視図である。
図7(A)は、図6に示す濃度センサの一部の上面図、図7(B)は底面図、図7(C)は側面図である。
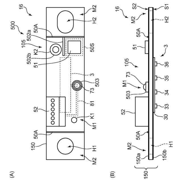
図8(A)は、本開示の第1実施形態に係る濃度センサを示す底面図であり、図8(B)は、同側面図である。
図9は、LEDに駆動電圧を印加したときに、流れる電流の値を記載したデータである。
図10は、横軸に駆動電圧、縦軸に電流とし、図9のデータをプロットしたグラフである。
図11は、本開示の第1実施形態に係る濃度センサのICチップの周辺の拡大側面図である。
図12は、図11に示す濃度センサにコート剤が塗布された状態を示す拡大図である。
図13は、濃度センサの製造方法を示すフローチャートである。
図14(A)は、本開示の第2実施形態に係る濃度センサを示す底面図であり、図14(B)は、同側面図である。
図15は、図14のコート剤を塗布する手順を示す図である。
図16(A)および(B)は、コート剤の塗布の仕方によるコート剤の付着状態を示す図である。
図17は、本開示の第3実施形態に係る濃度センサのICチップの周辺の拡大側面図である。
図18は、本開示の第4実施形態に係る濃度センサのICチップの周辺の拡大平面図である。
図19は、本開示の第5実施形態に係る濃度センサのICチップの周辺の拡大平面図である。
図20は、本開示の第6実施形態に係る濃度センサのICチップの周辺の拡大平面図である。
図21は、本開示の第7実施形態に係る濃度センサのICチップの周辺の拡大平面図である。
図22は、本開示の第8実施形態に係る濃度センサのICチップの周辺の拡大平面図である。
【発明を実施するための形態】
【0009】
以下、本開示の一実施形態に係る光センサについて、図面を参照して詳細に説明する。本開示の光センサは、測定光を測定対象物に照射し、その反射光を受光することで、当該測定対象物の物理特性を計測するモジュールである。測定対象物には特に制限はなく、固体、半固体、液体、粉体などが対象となり得る。測定する物理特性についても、反射光から解析し得る限りにおいて特に制限はない。例えば、測定対象物の色や濃度の計測に、本開示の光センサは好適である。以下で説明する実施形態では、カラープリンターに対し、画像形成用のトナーの濃度検出用に組み付けられる光センサを例示する。
【0010】
[カラープリンターの説明]
先ず、本開示の光センサが適用されるカラープリンターの構成について説明する。図1は、タンデム式のカラープリンター1の内部構造を概略的に示す断面図である。カラープリンター1は、本体ハウジング10に収容された、画像形成ユニット2Y、2C、2M、2Bk、光走査装置23、中間転写ユニット28及び定着ユニット29を含む。本体ハウジング10の上面には排紙トレイ11が備えられている。排紙トレイ11に対向して、シート排出口12が開口している。本体ハウジング10の側壁には手差し給紙トレイ13が、本体ハウジング10の下部には、自動給紙等のシートを収容する給紙カセット14が、それぞれ装備されている。
(【0011】以降は省略されています)
この特許をJ-PlatPat(特許庁公式サイト)で参照する
関連特許
京セラ株式会社
二次電池
1か月前
京セラ株式会社
蓄電装置
9日前
京セラ株式会社
弾性波装置
22日前
京セラ株式会社
粒子分離装置
9日前
京セラ株式会社
センサシステム
15日前
京セラ株式会社
静圧気体軸受装置
8日前
京セラ株式会社
太陽電池モジュール
1か月前
京セラ株式会社
配線基板及び電子装置
15日前
京セラ株式会社
走査装置及び制御装置
8日前
京セラ株式会社
コネクタ及び取付方法
10日前
京セラ株式会社
配線基板及び電子装置
15日前
京セラ株式会社
走査装置及び制御装置
8日前
京セラ株式会社
発光装置および照明装置
19日前
京セラ株式会社
太陽電池付きカーポート
8日前
京セラ株式会社
太陽電池付きカーポート
8日前
京セラ株式会社
流路デバイスの準備方法
10日前
京セラ株式会社
受電装置及び光給電システム
10日前
京セラ株式会社
半導体装置及びその製造方法
1か月前
京セラ株式会社
取付部材及びヘッド取付方法
16日前
京セラ株式会社
電源制御装置及び電源制御方法
1か月前
京セラ株式会社
電源制御装置及び電源制御方法
1か月前
京セラ株式会社
液体吐出ヘッドおよび記録装置
1か月前
京セラ株式会社
電源制御装置及び電源制御方法
1か月前
京セラ株式会社
フィルタデバイスおよび通信装置
15日前
京セラ株式会社
光センサおよび光センサの製造方法
4日前
京セラ株式会社
液滴吐出ヘッドおよび液滴吐出装置
1か月前
京セラ株式会社
揺動装置、電磁波照射装置、及び制御装置
8日前
京セラ株式会社
光通信装置、光通信システム及び光照射素子
11日前
京セラ株式会社
情報処理装置及び学習モデル用データ生成方法
1か月前
京セラ株式会社
ホルダ、切削工具、及び切削加工物の製造方法
9日前
京セラ株式会社
多層基板、フィルタモジュール、および通信装置
19日前
京セラ株式会社
ノード、方法、プログラム及び分散台帳システム
10日前
京セラ株式会社
表示システム、表示制御装置及び表示制御プログラム
1か月前
京セラ株式会社
表示システム、表示制御装置及び表示制御プログラム
1か月前
京セラ株式会社
切削インサート、切削工具及び切削加工物の製造方法
1か月前
京セラ株式会社
情報処理装置、情報処理システム、及び情報処理方法
10日前
続きを見る
他の特許を見る