TOP
|
特許
|
意匠
|
商標
特許ウォッチ
Twitter
他の特許を見る
10個以上の画像は省略されています。
公開番号
2025148822
公報種別
公開特許公報(A)
公開日
2025-10-08
出願番号
2024049136
出願日
2024-03-26
発明の名称
見切りウェザストリップ
出願人
豊田合成株式会社
代理人
個人
,
個人
主分類
B60J
10/86 20160101AFI20251001BHJP(車両一般)
要約
【課題】 ロードノイズや風切音などを低減することのできる見切りウェザストリップを提供する。
【課題を解決するための手段】
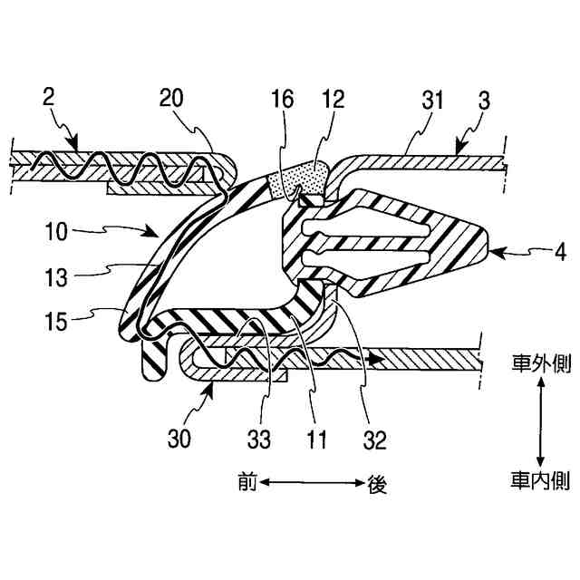
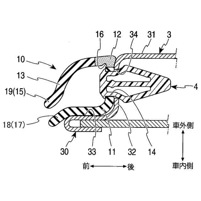
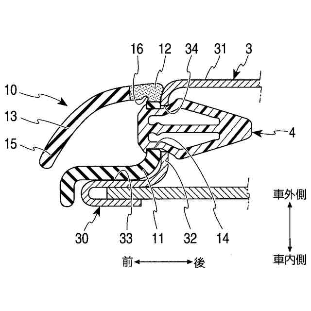
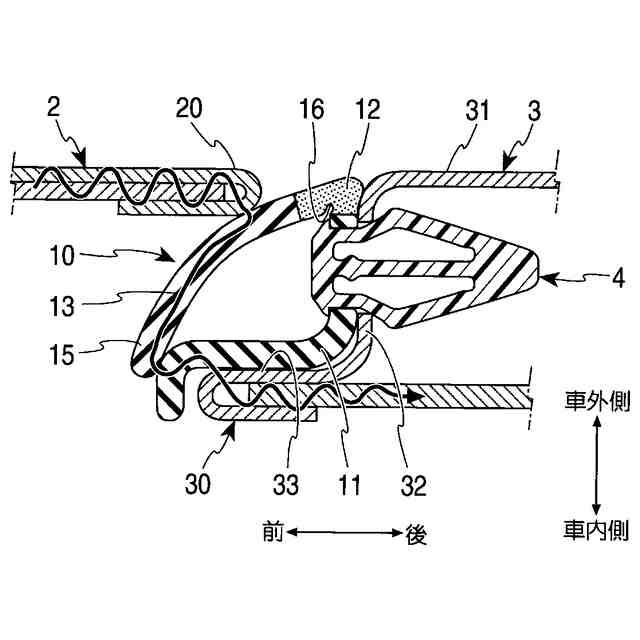
フロントドア2とリヤドア3との隙間をシールする見切りウェザストリップ10は、 略弧形状を含むシール部13の一方の端部と、略L字形状を含む取付基部11の一方の端部が連結部12によって接続され、シール部13と取付基部11は、連結部12より硬度の高い材料により形成され、シール部13において連結部12と反対側に位置するシール部先端部15は、フロントドア2を閉じた時に取付基部11に当接している。
【選択図】図3
特許請求の範囲
【請求項1】
第1部材と第2部材の少なくとも一方が開閉扉であり、前記第1部材と前記第2部材が隣接することにより車両の外面に形成される隙間をシールするゴム又は樹脂で構成される見切りウェザストリップであって、
前記見切りウェザストリップは、
略弧形状を含むシール部の一方の端部と、略L字形状を含む取付基部の一方の端部が連結部によって接続され、
前記シール部と前記取付基部は、前記連結部より硬度の高い材料により形成され、
前記シール部において前記連結部と反対側に位置するシール部先端部は、前記開閉扉を閉じた時に前記取付基部に当接していることを特徴とする見切りウェザストリップ。
続きを表示(約 290 文字)
【請求項2】
前記連結部は、前記シール部と前記取付基部に跨って形成されている請求項1に記載の見切りウェザストリップ。
【請求項3】
前記取付基部において前記連結部の反対側に位置する取付基部先端部には、前記シール部先端部から離れる方向に延設される傾斜部が形成され、前記開閉扉が閉じる時に、前記シール部先端部が前記傾斜部に当接する請求項1又は請求項2に記載の見切りウェザストリップ。
【請求項4】
前記シール部先端部には、面当接部が形成され、前記開閉扉が閉じる時に、前記面当接部が前記傾斜部に当接する請求項3に記載の見切りウェザストリップ。
発明の詳細な説明
【技術分野】
【0001】
本発明は、自動車等車両において、第1部材と第2部材の少なくとも一方が開閉扉であり、第1部材と第2部材が隣接することにより車両の外面に形成される隙間をシールする見切りウェザストリップに関するものである。
続きを表示(約 1,300 文字)
【背景技術】
【0002】
自動車等車両の静粛性向上は、乗員の快適性が高められるので、商品力向上のアピール度が高い。又、今後急速に普及が進むことが予想される電気自動車においては、従来搭載されているエンジンが無くなるので、そのエンジン音が無くなることによって残存する主な騒音は、ロードノイズと風切音が顕在化する。したがって、それらの低減技術の必要性が従来以上に高まっている。
【0003】
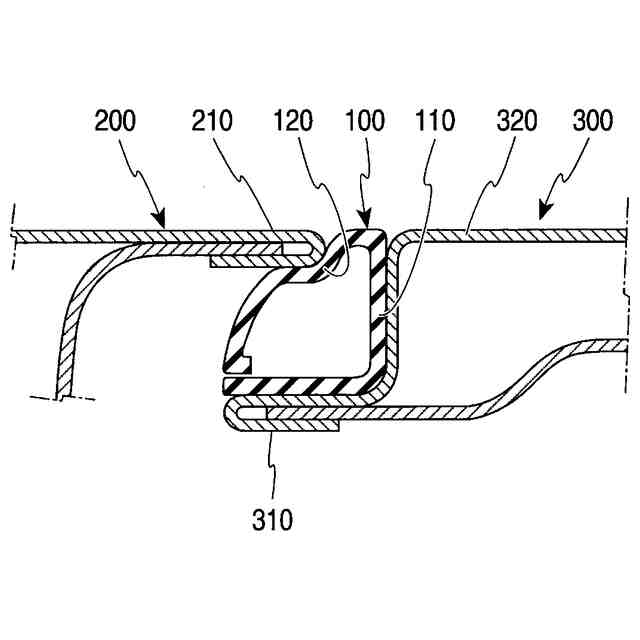
例えば、図9に示すように、フロントドアとリヤドアの重複部分にパーティングシール(以下、「見切りウェザストリップ」と記載する)が配設されたものがある(特許文献1)。
【0004】
見切りウェザストリップ100は、L字形状の取付部110と弧形状のシール部120から構成されている。シール部120がフロントドア後端部210と対向するように、取付部110がリヤドア前端部310に接着材で固定されている。見切りウェザストリップ100は、EPDM等のゴム材料を用いて押出成形で均一断面形状の長尺品として形成される。
【0005】
そして、見切りウェザストリップ100のシール部120がフロントドア後端部210に撓んで当接することにより、所望の遮音性・気密性を発揮するようになっている。
【先行技術文献】
【特許文献】
【0006】
特開2020-117053号公報
【発明の概要】
【発明が解決しようとする課題】
【0007】
しかし、特許文献1では、見切りウェザストリップ100は、フロントドア200を閉じる時の衝撃を積極的にリヤドア300に伝搬することで、意図的にリヤドア300のアウターパネル320を振動させ、リヤドア300のアウターパネル320からも低音を発生させ、フロントドア200のドア閉め音の低音を強調する目的で取付けられており、ロードノイズや風切音などの低減や、走行中のフロントドア200の振動抑制には至っていない。
【0008】
自動車等の車両において、回転扉であるドアやフードは、走行中の空気抵抗やタイヤが道路に接触するによって振動するが、振動の周波数は概ね200Hzから1250Hzが中心になっている。
【課題を解決するための手段】
【0009】
本発明は、ロードノイズや風切音などを低減することのできる見切りウェザストリップを提供するものである。
【0010】
上記課題を解決するために、請求項1の本発明は、第1部材と第2部材の少なくとも一方が開閉扉であり、第1部材と第2部材が隣接することにより車両の外面に形成される隙間をシールするゴム又は樹脂で構成される見切りウェザストリップであって、見切りウェザストリップは、略弧形状を含むシール部の一方の端部と、略L字形状を含む取付基部の一方の端部が連結部によって接続され、シール部と取付基部は、連結部より硬度の高い材料により形成され、シール部において連結部と反対側に位置するシール部先端部は、開閉扉を閉じた時に取付基部に当接していることを特徴とする見切りウェザストリップである。
(【0011】以降は省略されています)
この特許をJ-PlatPat(特許庁公式サイト)で参照する
関連特許
豊田合成株式会社
着座装置
1か月前
豊田合成株式会社
操作装置
1か月前
豊田合成株式会社
調光装置
4日前
豊田合成株式会社
殺菌装置
1か月前
豊田合成株式会社
発光素子
1か月前
豊田合成株式会社
表示装置
1か月前
豊田合成株式会社
半導体素子
1か月前
豊田合成株式会社
ガラスラン
16日前
豊田合成株式会社
ガラスラン
16日前
豊田合成株式会社
ガラスラン
23日前
豊田合成株式会社
流体殺菌装置
1か月前
豊田合成株式会社
樹脂成形装置
24日前
豊田合成株式会社
乗員保護装置
2か月前
豊田合成株式会社
流体殺菌装置
1か月前
豊田合成株式会社
車両用内装品
18日前
豊田合成株式会社
乗員保護装置
16日前
豊田合成株式会社
車両用外装品
16日前
豊田合成株式会社
車両用内装品
18日前
豊田合成株式会社
機器制御装置
16日前
豊田合成株式会社
流体殺菌装置
1か月前
豊田合成株式会社
車両用外装品
1か月前
豊田合成株式会社
車両用外装品
1か月前
豊田合成株式会社
情報処理装置
1か月前
豊田合成株式会社
車載照明装置
1か月前
豊田合成株式会社
乗員保護装置
10日前
豊田合成株式会社
流体殺菌装置
1か月前
豊田合成株式会社
流体殺菌装置
1か月前
豊田合成株式会社
電動液体ポンプ
16日前
豊田合成株式会社
電動液体ポンプ
16日前
豊田合成株式会社
電動液体ポンプ
16日前
豊田合成株式会社
空調用レジスタ
17日前
豊田合成株式会社
電動液体ポンプ
16日前
豊田合成株式会社
電動液体ポンプ
16日前
豊田合成株式会社
空調用レジスタ
17日前
豊田合成株式会社
ミスト噴射装置
1か月前
豊田合成株式会社
車両の前部構造
1か月前
続きを見る
他の特許を見る