TOP
|
特許
|
意匠
|
商標
特許ウォッチ
Twitter
他の特許を見る
公開番号
2025149677
公報種別
公開特許公報(A)
公開日
2025-10-08
出願番号
2024050461
出願日
2024-03-26
発明の名称
ノード、分散台帳取引方法、分散台帳取引プログラム及び分散台帳取引システム
出願人
京セラ株式会社
代理人
弁理士法人キュリーズ
主分類
H04L
9/32 20060101AFI20251001BHJP(電気通信技術)
要約
【課題】異なる分散台帳間でトランザクションを、より少ないリソースで安全に行うことのできるノードを提供する。
【解決手段】ノードは、第1台帳ノードを有する第1分散台帳システムのノードであって、制御部と通信部とを備え、通信部は、自身の公開鍵であるノード公開鍵、及びノード公開鍵について第1分散台帳システムにより認証された第1公開証明書を、第2分散台帳システムのノードである第2台帳ノードに送信し、第2台帳ノードから、ノード公開鍵について第2分散台帳システムにより認証された第2公開証明書を受信し、第1分散台帳システムのノードである第1取引ノード、及び第2分散台帳システムのノードである第2取引ノードの間の取引に関するブロックの発行要求を第1分散台帳システムの第1台帳ノードに送信し、取引に関するブロックの発行要求を第2台帳ノードに送信する。
【選択図】図1
特許請求の範囲
【請求項1】
第1台帳ノードを有する第1分散台帳システムのノードであって、
制御部と通信部とを備え、前記通信部は、
自身の公開鍵であるノード公開鍵、及び前記ノード公開鍵について前記第1分散台帳システムにより認証された第1公開証明書を、第2分散台帳システムの第2台帳ノードに送信し、
前記第2台帳ノードから、前記ノード公開鍵について前記第2分散台帳システムにより認証された第2公開証明書を受信し、
前記第1分散台帳システムの第1取引ノード、及び前記第2分散台帳システムの第2取引ノードの間の取引に関するブロックの発行要求を前記第1分散台帳システムの前記第1台帳ノードに送信し、
前記取引に関するブロックの発行要求を前記第2台帳ノードに送信する、ノード。
続きを表示(約 1,800 文字)
【請求項2】
前記第1取引ノード及び前記第2取引ノードに対して、暗号資産を一時的に保管する一時保管庫の鍵を通知し、
前記取引に関するブロックの発行要求は、前記一時保管庫を利用した前記取引の終了後に行われる、請求項1に記載のノード。
【請求項3】
前記一時保管庫の鍵は、前記第1公開証明書又は前記第2公開証明書である、請求項2に記載のノード。
【請求項4】
前記第1公開証明書は、前記ノード公開鍵について前記第1分散台帳システムにより合意形成されていることを示し、
前記第2公開証明書は、前記ノード公開鍵について前記第2分散台帳システムにより合意形成されていることを示す、請求項1に記載のノード。
【請求項5】
前記制御部は、前記取引に関するブロックの発行要求を前記第1台帳ノード及び前記第2台帳ノードに送信した後、前記第2公開証明書を失効させる、請求項1に記載のノード。
【請求項6】
前記第1分散台帳システムによる認証は、前記第1分散台帳システムのバリデータノード又はフルノードの署名により合意形成されることによりなされる、請求項1に記載のノード。
【請求項7】
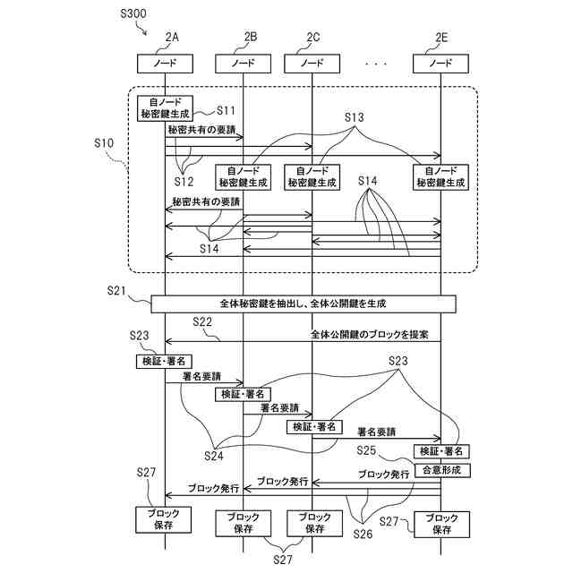
前記第1台帳ノードと秘密共有が行われた、自身の秘密鍵であるノード秘密鍵に基づいて生成された全体公開鍵をブロックヘッダ部又はトランザクションデータ部に含む証明書ブロックのうち、少なくとも前記ブロックヘッダ部を保存する記憶部を更に備える、請求項1に記載のノード。
【請求項8】
第1台帳ノードを有する第1分散台帳システムのノードのノード公開鍵、及び前記ノード公開鍵について前記第1分散台帳システムにより認証された第1公開証明書を、第2分散台帳システムのノードである第2台帳ノードに送信し、
前記第2台帳ノードから、前記ノード公開鍵について前記第2分散台帳システムにより認証された第2公開証明書を受信し、
前記第1分散台帳システムのノードである第1取引ノード、及び前記第2分散台帳システムのノードである第2取引ノードの間の取引に関するブロックの発行要求を前記第1分散台帳システムの前記第1台帳ノードに送信し、
前記取引に関するブロックの発行要求を前記第2台帳ノードに送信する、分散台帳取引方法。
【請求項9】
第1台帳ノードを有する第1分散台帳システムのノードのノード公開鍵、及び前記ノード公開鍵について前記第1分散台帳システムにより認証された第1公開証明書を、第2分散台帳システムのノードである第2台帳ノードに送信する工程と、
前記第2台帳ノードから、前記ノード公開鍵について前記第2分散台帳システムにより認証された第2公開証明書を受信する工程と、
前記第1分散台帳システムのノードである第1取引ノード、及び前記第2分散台帳システムのノードである第2取引ノードの間の取引に関するブロックの発行要求を前記第1分散台帳システムの前記第1台帳ノードに送信する工程と、
前記取引に関するブロックの発行要求を前記第2台帳ノードに送信する工程と、をコンピュータに実行させる分散台帳取引プログラム。
【請求項10】
第1台帳ノード及び一時接続ノードを有する第1分散台帳システムと、
第2台帳ノードを有する第2分散台帳システムと、を備え、
前記一時接続ノードは、
ノード公開鍵、及び前記ノード公開鍵について前記第1分散台帳システムにより認証された第1公開証明書を、前記第2台帳ノードに送信し、
前記第2台帳ノードから、前記ノード公開鍵について前記第2分散台帳システムにより認証された第2公開証明書を受信し、
前記第1分散台帳システムのノードである第1取引ノード、及び前記第2分散台帳システムのノードである第2取引ノードの間の取引に関するブロックの発行要求を前記第1分散台帳システムの前記第1台帳ノードに送信し、
前記取引に関するブロックの発行要求を前記第2台帳ノードに送信し、
前記第2台帳ノードは、
前記一時接続ノードから、前記ノード公開鍵及び前記第1公開証明書を受信すると、前記ノード公開鍵を検証し、前記第2公開証明書を作成する、分散台帳取引システム。
発明の詳細な説明
【技術分野】
【0001】
本発明は、ノード、分散台帳取引方法、分散台帳取引プログラム及び分散台帳取引システムに関する。
続きを表示(約 2,100 文字)
【背景技術】
【0002】
近年、様々な分野で、分散台帳技術の一種としてのブロックチェーンが活用されている。ブロックチェーンでは、ブロックと呼ばれるデータの単位を生成し、各ブロックのハッシュ値を次のブロックが含むように構成することにより、ブロックを鎖のようにつなげた分散台帳としている。このような分散台帳は、原則として各ノードがそれぞれ保管・管理するため、データの改ざんが難しいと共に、取引の透明性がある台帳となっている。
【0003】
特許文献1は、各ノードの保有データ量を少なくすることができ、取引履歴の肥大化によるノードの容量逼迫の問題を解消または軽減することができる取引記録システムについて開示している。
【先行技術文献】
【特許文献】
【0004】
特開2018-67108号公報
【発明の概要】
【発明が解決しようとする課題】
【0005】
ブロックチェーン等の分散台帳システムにおいては、例えば異なる種類の仮想通貨を交換したい場合や、ビットコイン等の仮想通貨とNFT(Non-Fungible Token)等の暗号資産等を交換したい場合がある。このように、異なる分散台帳間でトランザクションを行う方法には、例えばトラスト型と呼ばれる第三者の認証機関を介して交換する方法がある。トラスト型を用いた場合には、第三者の認証機関を利用してしまうため、信用できる第三者の認証機関を見つけなくてはならないだけでなく、分散台帳システムの利点である第三者機関の排除や透明性が損なわれてしまうこととなる。
【0006】
一方で、異なる分散台帳間でトランザクションを行う他の方法として、互いの分散台帳の両方のフルノードの役割を担うノードを用意することが考えられる。この場合には、複数の分散台帳の生成、保持、並びに検証のために計算リソース、通信リソース、及びストレージリソースが必要となり、高スペックの情報処理装置が要求される。
【0007】
本開示は上述の事情に鑑みてなされたものであり、異なる分散台帳間でトランザクションを、より少ないリソースで安全に行うことのできるノード、分散台帳取引方法、分散台帳取引プログラム及び分散台帳取引システムについて開示するものである。
【課題を解決するための手段】
【0008】
本開示のノードは、第1台帳ノードを有する第1分散台帳システムのノードであって、制御部と通信部とを備え、前記通信部は、自身の公開鍵であるノード公開鍵、及び前記ノード公開鍵について前記第1分散台帳システムにより認証された第1公開証明書を、第2分散台帳システムのノードである第2台帳ノードに送信し、前記第2台帳ノードから、前記ノード公開鍵について前記第2分散台帳システムにより認証された第2公開証明書を受信し、前記第1分散台帳システムのノードである第1取引ノード、及び前記第2分散台帳システムのノードである第2取引ノードの間の取引に関するブロックの発行要求を前記第1分散台帳システムの前記第1台帳ノードに送信し、前記取引に関するブロックの発行要求を前記第2台帳ノードに送信するノードである。
【0009】
本開示の分散台帳システム間取引方法は、第1台帳ノードを有する第1分散台帳システムのノードのノード公開鍵、及び前記ノード公開鍵について前記第1分散台帳システムにより認証された第1公開証明書を、第2分散台帳システムのノードである第2台帳ノードに送信し、前記第2台帳ノードから、前記ノード公開鍵について前記第2分散台帳システムにより認証された第2公開証明書を受信し、前記第1分散台帳システムのノードである第1取引ノード、及び前記第2分散台帳システムのノードである第2取引ノードの間の取引に関するブロックの発行要求を前記第1分散台帳システムの前記第1台帳ノードに送信し、前記取引に関するブロックの発行要求を前記第2台帳ノードに送信する分散台帳取引方法である。
【0010】
本開示の分散台帳システム間取引プログラムは、第1台帳ノードを有する第1分散台帳システムのノードのノード公開鍵、及び前記ノード公開鍵について前記第1分散台帳システムにより認証された第1公開証明書を、第2分散台帳システムのノードである第2台帳ノードに送信する工程と、前記第2台帳ノードから、前記ノード公開鍵について前記第2分散台帳システムにより認証された第2公開証明書を受信する工程と、前記第1分散台帳システムのノードである第1取引ノード、及び前記第2分散台帳システムのノードである第2取引ノードの間の取引に関するブロックの発行要求を前記第1分散台帳システムの前記第1台帳ノードに送信する工程と、前記取引に関するブロックの発行要求を前記第2台帳ノードに送信する工程と、をコンピュータに実行させる分散台帳取引プログラムである。
(【0011】以降は省略されています)
この特許をJ-PlatPat(特許庁公式サイト)で参照する
関連特許
京セラ株式会社
刃物
1か月前
京セラ株式会社
蓄電装置
6日前
京セラ株式会社
二次電池
1か月前
京セラ株式会社
弾性波装置
19日前
京セラ株式会社
粒子分離装置
6日前
京セラ株式会社
センサシステム
12日前
京セラ株式会社
静圧気体軸受装置
5日前
京セラ株式会社
太陽電池モジュール
28日前
京セラ株式会社
走査装置及び制御装置
5日前
京セラ株式会社
コネクタ及び取付方法
7日前
京セラ株式会社
配線基板及び電子装置
12日前
京セラ株式会社
走査装置及び制御装置
5日前
京セラ株式会社
配線基板及び電子装置
12日前
京セラ株式会社
流路デバイスの準備方法
7日前
京セラ株式会社
太陽電池付きカーポート
5日前
京セラ株式会社
発光装置および照明装置
16日前
京セラ株式会社
太陽電池付きカーポート
5日前
京セラ株式会社
受電装置及び光給電システム
7日前
京セラ株式会社
半導体装置及びその製造方法
1か月前
京セラ株式会社
取付部材及びヘッド取付方法
13日前
京セラ株式会社
骨モデルおよび表示システム
1か月前
京セラ株式会社
電源制御装置及び電源制御方法
1か月前
京セラ株式会社
電源制御装置及び電源制御方法
1か月前
京セラ株式会社
液体吐出ヘッドおよび記録装置
1か月前
京セラ株式会社
電源制御装置及び電源制御方法
1か月前
京セラ株式会社
フィルタデバイスおよび通信装置
12日前
京セラ株式会社
液滴吐出ヘッドおよび液滴吐出装置
1か月前
京セラ株式会社
光センサおよび光センサの製造方法
1日前
京セラ株式会社
電子部品搭載用基板及び電子モジュール
1か月前
京セラ株式会社
揺動装置、電磁波照射装置、及び制御装置
5日前
京セラ株式会社
光通信装置、光通信システム及び光照射素子
8日前
京セラ株式会社
異常検知装置、プログラム及び異常検知方法
1か月前
京セラ株式会社
異常検知装置、プログラム及び異常検知方法
1か月前
京セラ株式会社
情報処理装置及び学習モデル用データ生成方法
1か月前
京セラ株式会社
ホルダ、切削工具、及び切削加工物の製造方法
6日前
京セラ株式会社
ノード、方法、プログラム及び分散台帳システム
7日前
続きを見る
他の特許を見る