TOP
|
特許
|
意匠
|
商標
特許ウォッチ
Twitter
他の特許を見る
10個以上の画像は省略されています。
公開番号
2025151422
公報種別
公開特許公報(A)
公開日
2025-10-09
出願番号
2024052832
出願日
2024-03-28
発明の名称
配船計画作成装置、配船計画作成方法、及び配船計画作成プログラム
出願人
ENEOS株式会社
代理人
個人
主分類
G06Q
10/047 20230101AFI20251002BHJP(計算;計数)
要約
【課題】寄港数を抑制しつつ輸送コストを低減した配船計画を作成する。
【解決手段】複数の積地から揚地へ原料を複数の船で輸送する配船計画を導出するサーバ装置2であって、各積地がグルーピングされた複数の積地グループに関する情報を取得する取得部21と、配船計画に係るパラメータを変数として含み、積地グループのそれぞれに対応した指標であって、積地グループに対する各船の寄港数の合計を示し、一つの船が同じ積地グループに属する複数箇所の積地に寄る場合、当該船の寄港数が複数箇所よりも少ない数としてカウントされる指標を設定する設定部22と、積地グループのそれぞれに対応する指標に関する項の和により設定される目的関数の値が小さくなるように、配船計画に係る各パラメータを導出する演算部23と、を備える。
【選択図】図3
特許請求の範囲
【請求項1】
複数の積地から揚地へ原料を複数の船で輸送する配船計画を導出する配船計画作成装置であって、
各前記積地がグルーピングされた複数の積地グループに関する情報を取得する取得部と、
前記配船計画に係るパラメータを変数として含み、前記積地グループのそれぞれに対応した指標であって、前記積地グループに対する各前記船の寄港数の合計を示し、一つの前記船が同じ前記積地グループに属する複数箇所の前記積地に寄る場合、当該船の前記寄港数が前記複数箇所よりも少ない数としてカウントされる指標を設定する設定部と、
前記積地グループのそれぞれに対応する前記指標に関する項の和により設定される目的関数の値が小さくなるように、前記配船計画に係る各前記パラメータを導出する演算部と、
を備える配船計画作成装置。
続きを表示(約 1,500 文字)
【請求項2】
前記指標において、一つの前記船が同じ前記積地グループに属する前記複数箇所の前記積地に連続して寄る場合、当該船の前記積地グループに対する前記寄港数は前記複数箇所よりも少ない数としてカウントされる、
請求項1に記載の配船計画作成装置。
【請求項3】
前記演算部は、所定の制約条件を満たすと共に前記目的関数の値が最小となる場合の前記配船計画に係る各前記パラメータの組み合わせを導出する、
請求項1又は2に記載の配船計画作成装置。
【請求項4】
前記目的関数は、前記積地グループのそれぞれに対応する前記指標に対して係数を乗算し、それぞれを加算した重み付き線形和を含む、
請求項1又は2に記載の配船計画作成装置。
【請求項5】
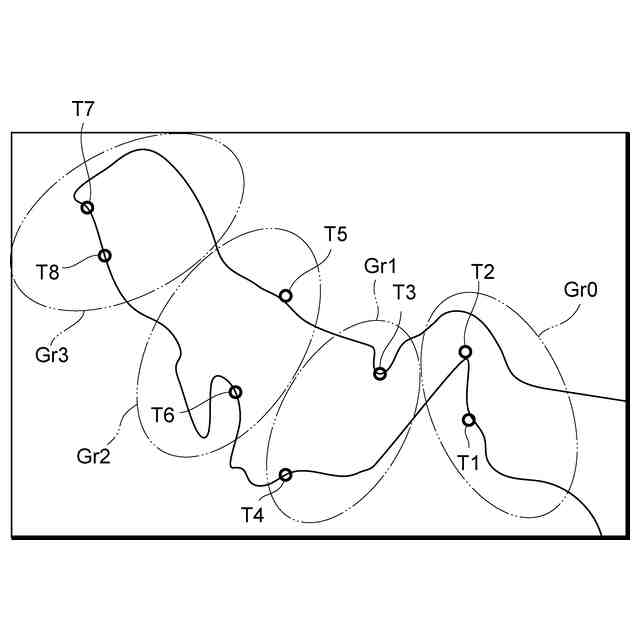
前記積地は、互いに距離の近い前記積地が同じ前記積地グループに属するようにグルーピングされている、
請求項1又は2に記載の配船計画作成装置。
【請求項6】
前記積地は、前記揚地からの距離が近い前記積地が同じ前記積地グループに属するようにグルーピングされている、
請求項1又は2に記載の配船計画作成装置。
【請求項7】
前記積地は、前記揚地からの距離が近い前記積地が同じ前記積地グループに属するようにグルーピングされており、
前記係数は、前記揚地からの距離が遠い前記積地グループほど、大きな値に設定される、
請求項4に記載の配船計画作成装置。
【請求項8】
前記積地から前記揚地の間に中継地点が設けられており、
前記目的関数には、前記変数として、前記船に対応して前記中継地点の経由の有無を示すパラメータが含まれており、
前記演算部は、前記船が前記中継地点を経由しない場合と、前記船が前記中継地点を経由する場合とのそれぞれにおいて、前記目的関数の値が小さくなるように演算を行う、
請求項1又は2に記載の配船計画作成装置。
【請求項9】
前記積地から前記揚地の間に中継地点が設けられており、
前記目的関数は、前記配船計画に係るパラメータを変数とする指標であって、前記揚地へ輸送される予定の前記原料と前記揚地が要求する前記原料との差を示す指標を含んでおり、当該指標は、前記変数として、前記中継地点から前記揚地への前記原料の輸送に関するパラメータを含み、
前記演算部は、前記中継地点から前記揚地へ前記原料を輸送する場合において、前記目的関数の値が小さくなるように演算を行う、
請求項1又は2に記載の配船計画作成装置。
【請求項10】
複数の積地から揚地へ原料を複数の船で輸送する配船計画を導出する配船計画作成方法であって、
各前記積地がグルーピングされた複数の積地グループに関する情報を取得する工程と、
前記配船計画に係るパラメータを変数として含み、前記積地グループのそれぞれに対応した指標であって、前記積地グループに対する各前記船の寄港数の合計を示し、一つの前記船が同じ前記積地グループに属する複数箇所の前記積地に寄る場合、当該船の前記寄港数が前記複数箇所よりも少ない数としてカウントされる指標を設定する工程と、
前記積地グループのそれぞれに対応する前記指標に関する項の和により設定される目的関数の値が小さくなるように、前記配船計画に係る各前記パラメータを導出する工程と、
を有する配船計画作成方法。
(【請求項11】以降は省略されています)
発明の詳細な説明
【技術分野】
【0001】
本開示は、配船計画作成装置、配船計画作成方法、及び配船計画作成プログラムに関する。
続きを表示(約 1,900 文字)
【背景技術】
【0002】
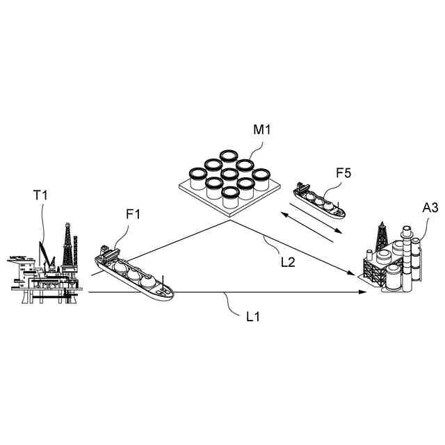
船により原料の輸送を行う場合、積地から揚地への配船計画が立案される。しかし配船計画は複雑化する傾向にあり、様々解決手法が提案されている。
【0003】
例えば特許文献1においては、目的関数を用いて、入荷した原材料を揚地で混合する配合計画を作成し、配合計画に基づいて配船計画を作成することが開示されている。
【先行技術文献】
【特許文献】
【0004】
特許第4669582号公報
【発明の概要】
【発明が解決しようとする課題】
【0005】
原料の輸送コストを考慮して配船計画を作成する場合、輸送コストを船の寄港数で評価し、寄港数を抑制するように配船計画を作成することが考えられる。しかし、複数の船により複数の積地に寄港する場合、それぞれの船の各積地への寄港のパターンによって、寄港数が少なくても航路距離が長くなり、輸送コストが多くかかってしまうことがある。特許文献1には、予め条件を設けて不適な運行距離を持つパターンを排除してもよいことが記載されているが、具体的な条件は開示されていない。輸送コストが抑制されるように配船計画を作成できる具体的方法が求められる。
【0006】
上記課題に鑑み、本開示は、寄港数を抑制しつつ輸送コストを低減した配船計画を作成することができる配船計画作成装置、配船計画作成方法、及び配船計画作成プログラムを提供することを目的とする。
【課題を解決するための手段】
【0007】
上記課題を解決するために、本開示のある態様に係る配船計画作成装置は、複数の積地から揚地へ原料を複数の船で輸送する配船計画を導出する配船計画作成装置であって、各前記積地がグルーピングされた複数の積地グループに関する情報を取得する取得部と、前記配船計画に係るパラメータを変数として含み、前記積地グループのそれぞれに対応した指標であって、前記積地グループに対する各前記船の寄港数の合計を示し、一つの前記船が同じ前記積地グループに属する複数箇所の前記積地に寄る場合、当該船の前記寄港数が前記複数箇所よりも少ない数としてカウントされる指標を設定する設定部と、前記積地グループのそれぞれに対応する前記指標に関する項の和により設定される目的関数の値が小さくなるように、前記配船計画に係る各前記パラメータを導出する演算部と、を備える。
【0008】
本開示の別の態様に係る配船計画作成方法は、複数の積地から揚地へ原料を複数の船で輸送する配船計画を導出する配船計画作成装置であって、各前記積地がグルーピングされた複数の積地グループに関する情報を取得する取得部と、前記配船計画に係るパラメータを変数として含み、前記積地グループのそれぞれに対応した指標であって、前記積地グループに対する各前記船の寄港数の合計を示し、一つの前記船が同じ前記積地グループに属する複数箇所の前記積地に寄る場合、当該船の前記寄港数が前記複数箇所よりも少ない数としてカウントされる指標を設定する設定部と、前記積地グループのそれぞれに対応する前記指標に関する項の和により設定される目的関数の値が小さくなるように、前記配船計画に係る各前記パラメータを導出する演算部と、を備える。
【0009】
本開示の別の態様に係る配船計画作成プログラムは、複数の積地から揚地へ原料を複数の船で輸送する配船計画を導出する配船計画作成プログラムであって、コンピュータを、各前記積地がグルーピングされた複数の積地グループに関する情報を取得する取得部、前記配船計画に係るパラメータを変数として含み、前記積地グループのそれぞれに対応した指標であって、前記積地グループに対する各前記船の寄港数の合計を示し、一つの前記船が同じ前記積地グループに属する複数箇所の前記積地に寄る場合、当該船の前記寄港数が前記複数箇所よりも少ない数としてカウントされる指標を設定する設定部、前記積地グループのそれぞれに対応する前記指標に関する項の和により設定される目的関数の値が小さくなるように、前記配船計画に係る各前記パラメータを導出する演算部、として機能させる。
【0010】
なお、本開示は、プログラムの一部又は全部を実現する半導体集回路として実現され得たり、情報処理装置として実現され得たり、情報処理装置を含むシステムとして実現され得る。
【発明の効果】
(【0011】以降は省略されています)
この特許をJ-PlatPat(特許庁公式サイト)で参照する
関連特許
個人
裁判のAI化
2か月前
個人
フラワーコートA
2か月前
個人
地球保全システム
9日前
個人
情報処理システム
3か月前
個人
工程設計支援装置
1か月前
個人
介護情報提供システム
2か月前
個人
為替ポイント伊達夢貯
1か月前
個人
冷凍食品輸出支援構造
1か月前
個人
設計支援システム
2か月前
個人
設計支援システム
2か月前
個人
携帯情報端末装置
1か月前
個人
残土処理システム
2日前
個人
表変換編集支援システム
29日前
個人
知財出願支援AIシステム
1か月前
個人
知的財産出願支援システム
3日前
株式会社サタケ
籾摺・調製設備
3か月前
個人
結婚相手紹介支援システム
1か月前
個人
AIによる情報の売買の仲介
1か月前
個人
パスワード管理支援システム
29日前
株式会社カクシン
支援装置
2か月前
個人
行動時間管理システム
1か月前
株式会社アジラ
進入判定装置
1か月前
株式会社キーエンス
受発注システム
8日前
個人
AIキャラクター制御システム
29日前
個人
食品レシピ生成システム
8日前
個人
アンケート支援システム
2か月前
株式会社キーエンス
受発注システム
8日前
個人
パスポートレス入出国システム
1か月前
日本精機株式会社
施工管理システム
1か月前
個人
海外支援型農作物活用システム
21日前
個人
システム及びプログラム
22日前
個人
備蓄品の管理方法
3か月前
株式会社キーエンス
受発注システム
8日前
個人
未来型家系図構築システム
21日前
個人
音声対話型帳票生成支援システム
29日前
個人
冷凍加工連携型農場運用システム
1か月前
続きを見る
他の特許を見る