TOP
|
特許
|
意匠
|
商標
特許ウォッチ
Twitter
他の特許を見る
10個以上の画像は省略されています。
公開番号
2025152784
公報種別
公開特許公報(A)
公開日
2025-10-10
出願番号
2024054857
出願日
2024-03-28
発明の名称
画像検査装置
出願人
株式会社キーエンス
代理人
弁理士法人前田特許事務所
主分類
G06T
7/00 20170101AFI20251002BHJP(計算;計数)
要約
【課題】ラベリングを簡単にし、効率良く学習できるようにする。
【解決手段】設定受付部13bは、第一画像領域に実行される第一ツールと第二画像領域に実行される第二ツールとを含む検査プログラムに関する設定の受付時、単一画像に基づいて、第一ツールに対応する第一画像領域と第二ツールに対応する第二画像領域とを特定可能に表示する対象画像領域と、第一画像領域に対応する第一ラベルと第二画像領域に対応する第二ラベルとを表示するラベル情報領域とを含む設定画面を表示し、第一画像領域に係る第一ラベルの指定と、第二画像領域に係る第二ラベルの指定を受け付け、単一画像と第一ラベルとの組み合わせを含む第一データセットで第一ツールに係る第一モデルを学習し、単一画像と第二ラベルとの組み合わせを含む第二データセットで第二ツールに係る第二モデルを学習する。
【選択図】図2
特許請求の範囲
【請求項1】
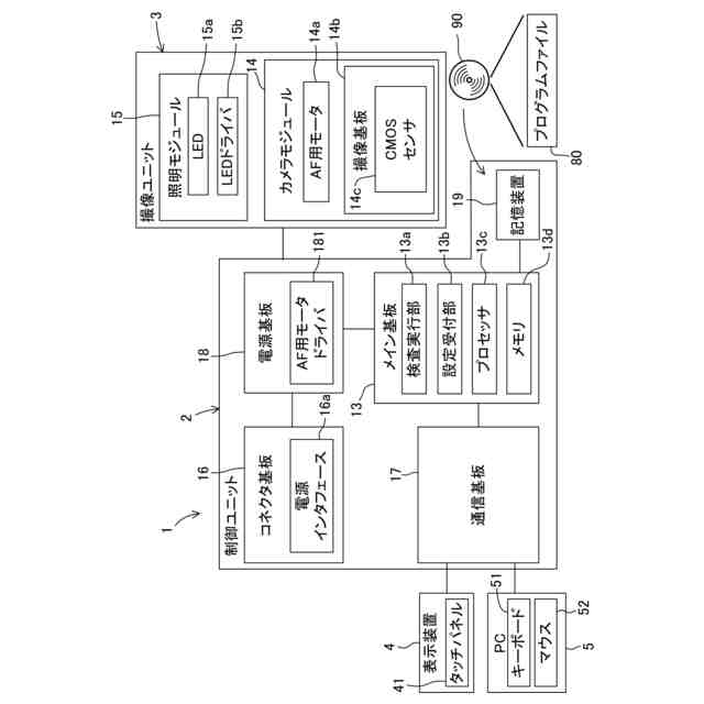
画像を撮像する撮像部と、
前記撮像部により撮像された前記画像に対する検査プログラムを実行する検査実行部と、
前記検査プログラムに関する設定を受け付ける設定受付部と、を備え、
前記設定受付部は、前記画像の第一画像領域に対して実行される第一ツールと、前記第一画像領域と異なる第二画像領域に対して実行される第二ツールと、を含む検査プログラムに関する設定を受け付けるとき、
前記画像としての単一画像に基づいて、前記第一ツールに対応する第一画像領域と前記第二ツールに対応する第二画像領域とを特定可能に表示する対象画像領域と、前記第一画像領域に対応する第一ラベルの情報と前記第二画像領域に対応する第二ラベルの情報とを表示するラベル情報領域と、を含む設定画面を表示し、
前記第一画像領域に係る前記第一ラベルの指定を受け付け、
前記第二画像領域に係る前記第二ラベルの指定を受け付け、
前記単一画像と前記第一ラベルとの組み合わせを含む第一データセットで、前記第一ツールに係る第一モデルの学習を実行し、
前記単一画像と前記第二ラベルとの組み合わせを含む第二データセットで、前記第二ツールに係る第二モデルの学習を実行する、画像検査装置。
続きを表示(約 1,200 文字)
【請求項2】
請求項1に記載の画像検査装置において、
前記設定受付部は、前記第一ツールに係る前記第一モデルの学習に用いられた画像に基づいて前記対象画像領域を表示する、画像検査装置。
【請求項3】
請求項1に記載の画像検査装置において、
前記第一モデルと前記第二モデルとが同一のモデルである、画像検査装置。
【請求項4】
請求項3に記載の画像検査装置において、
前記設定受付部は、前記第二ツールに対する設定として、前記第二ツールが参照するモデルの指定を受け付け、
前記第二ツールが参照する前記モデルとして前記第一モデルが指定されたとき、前記第二ツールは前記第二モデルとして前記第一モデルを実行する、画像検査装置。
【請求項5】
請求項1に記載の画像検査装置において、
前記設定受付部は、前記第一ツールに対応する第一画像領域について、前記単一画像と前記第一ラベルとの組み合わせを、前記第一データセットに含まれる学習画像とするか、前記第一データセットで学習された前記第一モデルの性能検証に用いられる検証画像とするか、を示すフラグの指定を受け付ける、画像検査装置。
【請求項6】
請求項1に記載の画像検査装置において、
前記設定受付部は、前記対象画像領域において、前記単一画像に、前記第一画像領域を示す表示と、前記第二画像領域を示す表示とを重畳表示する、画像検査装置。
【請求項7】
請求項6に記載の画像検査装置において、
前記設定受付部は、前記第一ラベルの指定を受け付ける時、前記第一画像領域を示す表示を、前記第二画像領域を示す表示とは異なる態様で表示する、画像検査装置。
【請求項8】
請求項1に記載の画像検査装置において、
前記設定受付部は、前記第一モデルと前記第二モデルとの学習を一括で実行させる一括学習の実行操作を受け付ける、画像検査装置。
【請求項9】
請求項1に記載の画像検査装置において、
前記設定受付部は、
前記対象画像領域に表示する画像を、前記第一画像領域および前記第二画像領域を含む第一画像と、第二画像と、に切り替える操作を受け付け、
前記対象画像領域に、前記第一ツールに対応する第三画像領域と、前記第二ツールに対応する第四画像領域と、を特定可能に表示し、
前記第三画像領域に係る第三ラベルの指定を受け付け、
前記第四画像領域に係る第四ラベルの指定を受け付け、
前記第一画像及び前記第一ラベルの組み合わせと、前記第二画像及び前記第三ラベルの組み合わせと、を含む第一データセットで前記第一ツールに係る前記第一モデルの学習を実行し、
前記第一画像及び前記第二ラベルの組み合わせと、前記第二画像及び前記第四ラベルの組み合わせと、を含む第二データセットで前記第二ツールに係る前記第二モデルの学習を実行する、画像検査装置。
発明の詳細な説明
【技術分野】
【0001】
本開示は、画像検査装置に関する。
続きを表示(約 1,300 文字)
【背景技術】
【0002】
例えば特許文献1には、良品画像及び不良品画像を学習させた機械学習モデルに検査対象画像を入力し、当該検査対象画像の良否判定を行う画像検査装置が開示されている。特許文献1の画像検査装置では、表示部に表示された画像に対し、良品画像または不良品画像であることを示すラベルを付与する第1アノテーション方式と、不良品画像の不良箇所を指定する第2アノテーション方式とのいずれかの方式で不良情報を入力し、アノテーションされた画像によって機械学習モデルの学習を実行する。
【先行技術文献】
【特許文献】
【0003】
特開2023-77051号公報
【発明の概要】
【発明が解決しようとする課題】
【0004】
特許文献1の画像検査装置では、第1アノテーション方式と第2アノテーション方式とのいずれかの方式で不良情報を入力し、その不良情報に基づいて機械学習モデルのパラメータを調整することができるので、学習時におけるユーザの手間を削減できる。
【0005】
しかし、機械学習モデルの学習には多くの学習画像が必要であるところ、一般的に、アノテーション(ラベリング)を実施する対象の学習画像を多く準備することが困難であった。
【0006】
また、検査対象画像には、機械学習モデルによる判定箇所が複数含まれていることが多く、これら複数の判定箇所の全てが良と判定されると総合判定として検査対象画像が良品画像であると判定される一方、これら複数の判定箇所の1つでも不良と判定されると総合判定として検査対象画像が不良品画像であると判定される。
【0007】
検査対象画像における機械学習モデルによる判定箇所は、AIツールの実行箇所であり、例えば、特許文献1のように学習画像自体を良品画像や不良品画像としてアノテーションする方式だと、AIツールごとに学習画像を良品画像もしくは不良品画像として登録する必要があり、ユーザが正確にラベリングすることが困難であった。
【0008】
例えば学習画像のワークの一部に不良品箇所があれば、その学習画像は不良品画像ではあるが、別の箇所が良品状態である場合、その良品状態である箇所を検査するAIツールに対しては良品画像として登録する必要があり、ユーザの感覚と乖離してしまうところがラベリングの難易度を上げてしまう。
【0009】
本開示は、かかる点に鑑みたものであり、その目的とするところは、1つの学習画像内に複数の検査箇所が含まれている場合にユーザによるラベリングを簡単にするとともに、効率良く学習できるようにすることにある。
【課題を解決するための手段】
【0010】
上記目的を達成するために、本開示の一態様に係る画像検査装置は、画像を撮像する撮像部と、前記撮像部により撮像された前記画像に対する検査プログラムを実行する検査実行部と、前記検査プログラムに関する設定を受け付ける設定受付部と、を備えている。
(【0011】以降は省略されています)
この特許をJ-PlatPat(特許庁公式サイト)で参照する
関連特許
株式会社キーエンス
画像検査装置
1日前
株式会社キーエンス
画像検査装置
2日前
個人
工程設計支援装置
1か月前
個人
QRコードの彩色
1日前
個人
地球保全システム
10日前
個人
冷凍食品輸出支援構造
1か月前
個人
為替ポイント伊達夢貯
1か月前
個人
表変換編集支援システム
1か月前
個人
携帯情報端末装置
1か月前
個人
残土処理システム
3日前
個人
結婚相手紹介支援システム
1か月前
個人
知的財産出願支援システム
4日前
個人
知財出願支援AIシステム
1か月前
個人
行動時間管理システム
1か月前
個人
パスワード管理支援システム
1か月前
個人
AIによる情報の売買の仲介
1か月前
個人
パスポートレス入出国システム
1か月前
個人
食品レシピ生成システム
9日前
株式会社キーエンス
受発注システム
9日前
個人
システム及びプログラム
23日前
株式会社キーエンス
受発注システム
9日前
株式会社キーエンス
受発注システム
9日前
個人
海外支援型農作物活用システム
22日前
日本精機株式会社
施工管理システム
1か月前
株式会社アジラ
進入判定装置
1か月前
個人
AIキャラクター制御システム
1か月前
個人
冷凍加工連携型農場運用システム
1か月前
個人
社会還元・施設向け供給支援構造
1か月前
個人
音声・通知・再配達UX制御構造
4日前
サクサ株式会社
中継装置
1か月前
キヤノン株式会社
表示システム
9日前
個人
音声対話型帳票生成支援システム
1か月前
個人
人格進化型対話応答制御システム
1か月前
個人
帳票自動生成型SaaSシステム
4日前
大同特殊鋼株式会社
疵判定方法
16日前
個人
未来型家系図構築システム
22日前
続きを見る
他の特許を見る