TOP
|
特許
|
意匠
|
商標
特許ウォッチ
Twitter
他の特許を見る
10個以上の画像は省略されています。
公開番号
2025145244
公報種別
公開特許公報(A)
公開日
2025-10-03
出願番号
2024045327
出願日
2024-03-21
発明の名称
導波路装置およびレーダ装置
出願人
太陽誘電株式会社
代理人
個人
,
個人
主分類
H01P
5/103 20060101AFI20250926BHJP(基本的電気素子)
要約
【課題】導波路装置で、効率良くミリ波IC送受信端子とアンテナ放射素子とを接続する。
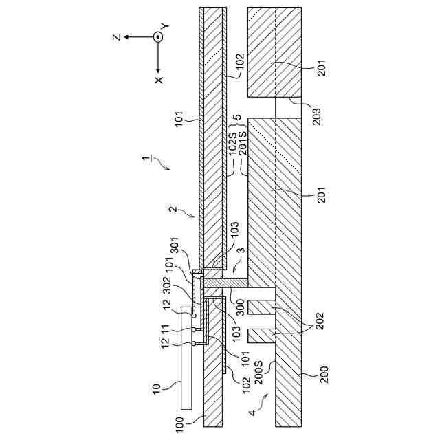
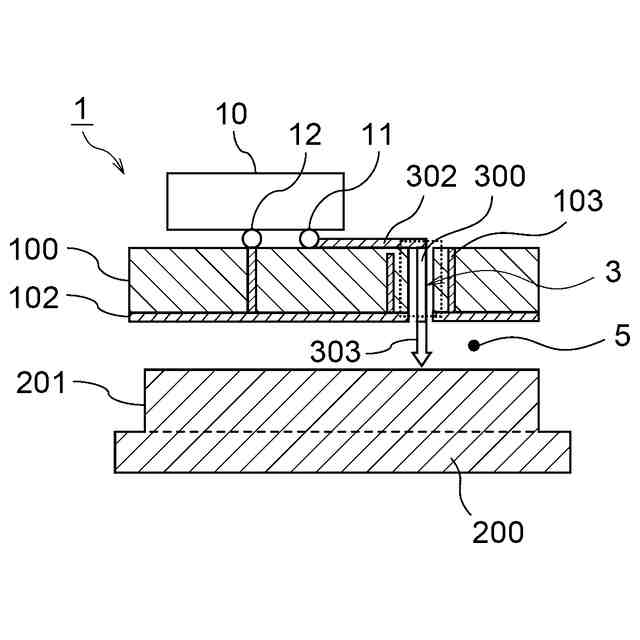
【解決手段】導波路装置1は、送受信端子11と信号グランド(SG)端子12を有する高周波回路10を基板100の上面側に配置し、基板の下面側にSG端子と導通する導電性下面を有する第1部材102を配置し、第1部材の下面側に導電性上面を有する第2部材200を配置し、第2部材の上面側には帯状の導電性上面を有するリッジ201を配置し、リッジの導電性上面と第1部材の下面との間に第2導波路5を形成する。また、第1導波路3が、基板100を上下方向に貫通する芯線導体300と周辺導体103とで構成される。基板上には、上給電部302が配置され、送受信端子と芯線導体の上端とを電磁波レベルで接続する。上端が芯線導体の下端と接触する下給電導体303の下端は、リッジの導電性上面に接触又は高周波結合する。
【選択図】図33
特許請求の範囲
【請求項1】
上面と下面を有する基板と、
前記基板の前記上面または上面側に配置され、送信または受信を行う端子と信号グランド端子を有する高周波回路と、
前記基板の前記下面または下面側に前記基板に沿って配置され、前記高周波回路の前記信号グランド端子と導通する導電性下面を有する第1部材と、
前記基板および前記第1部材を上下方向に貫通する芯線導体と、当該芯線導体の周辺に絶縁物を介して当該芯線導体に沿って配置され前記第1部材の前記導電性下面と接触する周辺導体と、により構成される第1導波路と、
前記第1部材に沿ってその下面側に配置され、上面が導電性を有する第2部材と、
前記第1部材と前記第2部材との間に配置され、前記第1部材の前記導電性下面に対向する帯状の導電性上面である導波面を有するリッジと、
前記リッジの前記導波面と前記第1部材の前記導電性下面とにより構成される第2導波路と、
前記第1部材と前記第2部材との間に配置され、前記第2導波路の側方に隣接して配置された電磁波遮断壁と、
前記基板の前記上面に配置され、前記高周波回路の前記送信または受信を行う端子と前記芯線導体の前記基板上面側の端部とを電磁波的に接続する上給電部と、
前記芯線導体の前記第1部材下面側の下端と、当該下端の下方に配置された前記リッジの上面とを接触または高周波結合させる下給電導体と、を有する導波路装置。
続きを表示(約 920 文字)
【請求項2】
前記芯線導体と前記下給電導体とは、同一材料で連続して形成された芯線延長導体から構成されている、請求項1に記載の導波路装置。
【請求項3】
前記上給電部は、マイクロストリップライン、コプレーナラインまたはポスト壁によって構成される導波路である、請求項1または2に記載の導波路装置。
【請求項4】
前記マイクロストリップラインまたは前記コプレーナラインの周辺には、当該マイクロストリップラインまたは当該コプレーナラインを取り囲む複数の貫通ビアホールが設けられている、請求項2に記載の導波路装置。
【請求項5】
前記芯線導体の上端部は、前記高周波回路を構成するMMICパッケージの外側の基板上面に形成されている、請求項3に記載の導波路装置。
【請求項6】
前記上給電部は、前記高周波回路の前記送信または受信を行う端子と前記芯線導体の前記基板上面側の端部とを接触させ、前記高周波回路の送信または受信に使用されるグランドと前記周辺導体とを接触させる構造である、請求項1または2に記載の導波路装置。
【請求項7】
前記送信または受信を行う端子と前記芯線導体の前記基板上面側の端部とは、上下方向の立体視において重なる位置に配置されている、請求項6に記載の導波路装置。
【請求項8】
前記送信または受信を行う端子にはピン状の導体であるピン状導体の一端部が接触して配置され、当該ピン状導体が前記芯線導体および前記下給電導体を構成する、請求項6に記載の導波路装置。
【請求項9】
前記送信または受信を行う端子は、前記基板上に配置されたICソケットのソケットピンの一端に接触し、当該ソケットピンが前記芯線導体および前記下給電導体を構成する、請求項6に記載の導波路装置。
【請求項10】
前記下給電導体の下方端部は、前記リッジの上面、または前記リッジの上面に形成された凹部もしくは貫通孔内に配置され、前記リッジと接触または高周波結合している、請求項1または2に記載の導波路装置。
(【請求項11】以降は省略されています)
発明の詳細な説明
【技術分野】
【0001】
本発明は、導波路装置およびレーダ装置に関する。
続きを表示(約 3,000 文字)
【背景技術】
【0002】
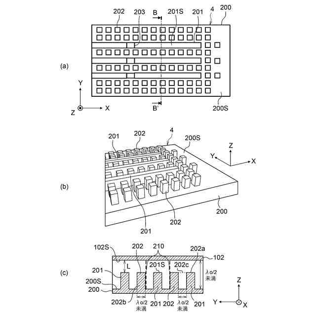
近年、ミリ波利用のセンシングや通信に関する研究開発が拡大しており、高利得・低損失・広帯域かつ多チャンネルのアンテナが求められている。これに呼応して、次世代アンテナおよび導波路として有用なWRG(Waffle iron Ridge waveGuide)技術の開発が進んでいる(特許文献1、特許文献2を参照)。特許文献1の図3では、WRGの基本構造が世界で初めて開示されている。その下位の付帯構造として特許文献2では、ミリ波等の高周波帯域におけるWRGの構造の一つとして、この基本構造を構成する2つの導電性部材を導波路領域外で固定する構造が開示されている。
【0003】
WRG技術の特徴の一つは、ミリ波IC(MMIC:Monolithic Microwave Integrated Circuit)からミリ波電磁波を送受信するアンテナ放射素子までに配置されるアンテナ内の複数の導波路において、隣接導波路間で相互結合させないための分離壁が形成されている点にある。これにより伝搬する電磁波の漏れを防止することで伝送損失を金属導波管並みに保つことに加えて、隣接する他の導波路の伝送電磁波との干渉を最小限に留めている。従来使用されているマイクロストリップ導波路及びマイクロストリップアンテナでは、この様な分離壁は存在しない。
【0004】
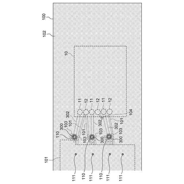
ミリ波アンテナの主たる応用分野として、複数の送受信チャンネルを有するイメージングレーダセンシングの用途がある。このアンテナ用途にマイクロストリップアンテナを用いた場合、導波路での損失が大きいことに加えて、アンテナ内で隣接する導波路及びアンテナ放射素子での相互間結合による干渉が生じることで、対象物の検出精度等に問題が生じることがある。他方この様な多チャンネルのアンテナにWRG技術を用いると、導波路での損失が極めて低く抑えられることに加えて、アンテナ内での導波路間で相互間結合が大きく抑制される。加えて、ミニホーンアンテナやスロットアンテナ等のWRGに適したアンテナ放射素子を用いることで相互間結合をさらに抑制することができる。これにより、アンテナ放射素子と、これらの信号送受信を行うミリ波ICの送受信端子との間で、正しく信号送受信が行われる。その結果、例えばミリ波レーダセンシングにおいては、対象物からの受信電磁波に含まれる対象物の信号を正しく検出し、対象物を正確に検知することが可能となる。
【0005】
WRG技術では、この分離壁を実現するのがリッジ導波路の両側に設けられた磁気壁であり、具体的には例えばロッド列等の周期性を持った構造で実現される。この磁気壁をロッド列一列で実現した場合、その分離効果は30dB程度になることが期待できる。その分離効果をさらに高めるために、2つのリッジ導波路の間に二列のロッド列を設けた場合、その分離効果は40dB程度となることが期待でき、アレーアンテナとして適切な高い分離性能を実現できる。
【0006】
この様な磁気壁は、対応する周波数帯で電磁波の伝搬を止める閉じ込め機能を有する。そしてこれを構成する構造は、人工磁気導体(AMC:Artificial Magnetic Conductor)と呼ばれ、ロッド列以外の構造でも実現できる(例えば特許文献2等)。具体的には例えば、特許文献2の[0015]段落中段にある「テクスチャーまたは構造は、しばしば周期的であるか、準周期的であり、人工磁性導体(AMC)、電磁気バンド・ギャップ(EBG)表面または柔らかい表面として巨視的に動作するように波と相互に作用するようにできている。」との記述が参考になる。
【0007】
将来のWRGを用いたイメージングレーダは、より正確な対象物検出を行うために、ますます送受信チャンネル数が増大する。チャンネル数を増やすには、これに対応する送受信端子数を有するミリ波ICを利用し、これらの送受信端子から送受信孔(アンテナ放射素子)までに、例えば1対1で接続するアンテナ内の導波路を設けることがある。ミリ波ICは通常高周波基板上に実装され、基板上の導波路(通常はマイクロストリップラインを採用)を経て、WRGの導波路であるリッジ導波路に接続される。従来、この接続を行うために、基板上にトランスデューサー等を設け、これを方形導波管に接続し、さらにこの方形導波管とWRGのリッジ導波路とを接続する構造が用いられていた(特許文献3、4を参照)。また導波路装置の実験等では、実験対象の電磁波を同軸ケーブルで導き、リッジ状に形成された同軸コネクタに接続する構造も提示されている(非特許文献1を参照)。
【先行技術文献】
【特許文献】
【0008】
WO2003-065497(EP1331688)
特表2011-527171号公報
特開2011-120155号公報
特開2018-207487号公報
【非特許文献】
【0009】
Per-Simon Kildal、Ashraf Uz Zaman、Eva Rajo-Iglesias、Esperanza Alfonso、Alejandro Valero-Nogueira、「Design and Experimental Verification of Ridge Gap Waveguide in Bed of Nails for Parallel Plate Mode Suppression」、IET Microwaves, Antennas and Propagation、January 2009
【発明の概要】
【発明が解決しようとする課題】
【0010】
上記特許文献3の従来技術では、アンテナ放射素子のそれぞれに対応する導波路について、トランスデューサー等と方形導波管を設ける必要がある。送受信チャンネル数が増えた場合、これらの設置スペースが増大し、導波路装置が大型化する。上記特許文献4の従来技術では、量産時等において、基板上に配置されたミリ波ICの送受信端子と基板内に設けられた導波管の端部との接続を安定して実現することが容易ではない。また送受信チャンネル数が増えた場合、導波管等の設置スペースが増大し、ミリ波IC周辺の基板面積が増大する。さらに上記非特許文献1の従来技術では、接続するリッジ導波路上に同軸コネクタを配置する必要がある。これを送受信チャンネル数の多い導波路装置に適用した場合、対応する全てのリッジ導波路上に同軸コネクタを配置し、さらにこれを受けるミリ波ICの各送受信端子側の導波路においても、同軸コネクタを配置することになり、装置が大型化する。
本発明は、上記課題に鑑みなされたものであり、チャンネル数の多い導波路装置でも、簡素、省スペース、安価かつ効率的にミリ波IC送受信端子とアンテナ放射素子とを接続できる導波路装置およびレーダ装置を提供することを目的とする。
【課題を解決するための手段】
(【0011】以降は省略されています)
この特許をJ-PlatPat(特許庁公式サイト)で参照する
関連特許
太陽誘電株式会社
導波路装置
4日前
太陽誘電株式会社
全固体電池
4日前
太陽誘電株式会社
電動アシスト車の制御装置
1か月前
太陽誘電株式会社
導波路装置およびレーダ装置
4日前
太陽誘電株式会社
バッテリパック及び車両の制御装置
4日前
太陽誘電株式会社
特徴量取得装置および特徴量取得方法
18日前
太陽誘電株式会社
積層セラミックコンデンサ及び回路基板
今日
太陽誘電株式会社
積層セラミックコンデンサ及び回路基板
8日前
太陽誘電株式会社
積層セラミックコンデンサ及び回路基板
11日前
太陽誘電株式会社
積層セラミックコンデンサ及び回路基板
8日前
太陽誘電株式会社
積層セラミックコンデンサ及び回路基板
1か月前
太陽誘電株式会社
積層セラミック電子部品及びその製造方法
27日前
太陽誘電株式会社
圧電トランスデューサおよび電気音響装置
6日前
太陽誘電株式会社
電子部品の検査方法および電子部品の製造方法
8日前
太陽誘電株式会社
弾性波デバイス、フィルタ、及びマルチプレクサ
4日前
太陽誘電株式会社
存在検知システム、存在判定装置および存在判定方法
18日前
太陽誘電株式会社
多重モード型フィルタ、フィルタ、及びマルチプレクサ
4日前
太陽誘電株式会社
弾性波デバイス、フィルタ、及び弾性波デバイスの製造方法
18日前
太陽誘電株式会社
測位システム、測位装置、測位方法、および測位プログラム
27日前
太陽誘電株式会社
測位システム、測位装置、測位方法、および測位プログラム
27日前
太陽誘電株式会社
積層セラミック電子部品、及び積層セラミック電子部品の製造方法
4日前
太陽誘電株式会社
セラミック電子部品
7日前
太陽誘電株式会社
弾性波デバイス、フィルタ、マルチプレクサ、及び弾性波デバイスの製造方法
4日前
住友ベークライト株式会社
感応膜用組成物、感応膜、におい検出素子、および、においセンサー
11日前
住友ベークライト株式会社
感応膜用組成物、感応膜、におい検出素子、および、においセンサー
11日前
個人
安全なNAS電池
1か月前
東レ株式会社
多孔質炭素シート
27日前
個人
フリー型プラグ安全カバー
1か月前
日本発條株式会社
積層体
8日前
キヤノン株式会社
電子機器
27日前
エイブリック株式会社
半導体装置
29日前
個人
防雪防塵カバー
8日前
ローム株式会社
半導体装置
27日前
ローム株式会社
半導体装置
6日前
エイブリック株式会社
半導体装置
29日前
ローム株式会社
半導体装置
6日前
続きを見る
他の特許を見る