TOP
|
特許
|
意匠
|
商標
特許ウォッチ
Twitter
他の特許を見る
公開番号
2025154391
公報種別
公開特許公報(A)
公開日
2025-10-10
出願番号
2024057364
出願日
2024-03-29
発明の名称
プログラミング学習システム
出願人
公立大学法人会津大学
代理人
弁理士法人フィールズ国際特許事務所
主分類
G09B
19/00 20060101AFI20251002BHJP(教育;暗号方法;表示;広告;シール)
要約
【課題】適切な情報を参照しながらオンラインでのプログラミング学習を行うことができる
【解決手段】問題を選択する第1フェーズと、選択した問題に解答し、前記解答を提出し、採点結果を受け取る第2フェーズを有するプログラミング学習システムであって、1以上の画面領域で構成された画面が表示され、前記画面領域それぞれは、第1段階から第N(2以上の整数)段階それぞれに対応し、前記段階は、それぞれ1以上の小画面を有し、前記第1フェーズは、第1段階から第M(1以上N未満の整数)段階で段階的に問題が選択されるフェーズであり、前記画面領域は、対応する段階の有する1画面を事前に決定された順に表示でき、前記第2フェーズは、第M+1段階から第N段階で段階的に作成物を生成するフェーズであり、前記画面領域は、対応する段階の有する複数画面を表示でき、表示できる画面は、段階に応じて事前に決定しており、前記表示できる画面を表示するか否かは選択可能である。
【選択図】図7
特許請求の範囲
【請求項1】
問題を選択する第1フェーズと、選択した問題に解答し、前記解答を提出し、採点結果を受け取る第2フェーズを有するプログラミング学習システムであって、
1以上の画面領域で構成された画面が表示され、
前記画面領域それぞれは、第1段階から第N(2以上の整数)段階それぞれに対応し、
前記段階は、それぞれ1以上の小画面を有し、
前記第1フェーズは、
第1段階から第M(1以上N未満の整数)段階で段階的に問題が選択されるフェーズであり、
前記画面領域は、対応する段階の有する1画面を事前に決定された順に表示でき、
前記第2フェーズは、
第M+1段階から第N段階で段階的に作成物を生成するフェーズであり、
前記画面領域は、対応する段階の有する複数画面を表示でき、
表示できる画面は、段階に応じて事前に決定しており、前記表示できる画面を表示するか否かは選択可能である
プログラミング学習システム。
続きを表示(約 340 文字)
【請求項2】
前記表示できる画面は、非表示にできない固定画面を有する
請求項1記載のプログラミング学習システム。
【請求項3】
前記画面領域は、それぞれ横並びに表示され、
前記画面領域の数がX個であり、XはNより小さいとき、作業が行われている段階と、前記作業が行われている段階からX-1段階前の段階までの画面が、前記画面領域に表示される
請求項1記載のプログラミング学習システム。
【請求項4】
前記第1フェーズから前記第2フェーズへの移行は、問題が選択されたタイミングで行われ、前記画面領域それぞれは、前記移行に伴い、前記第2フェーズの段階に対応したものとなる
請求項1記載のプログラミング学習システム。
発明の詳細な説明
【技術分野】
【0001】
本発明は、プログラミング学習システムに関する。
続きを表示(約 2,000 文字)
【背景技術】
【0002】
近年、大学などにおいて、プログラムのコーディングが学習課題として学習者に課される場合がある。プログラムの学習において、問題解決の反復演習によって技術習得を行う学習方法では、学習者は利用可能な教材・情報・支援を活用しながら様々な活動を行う。
【0003】
プログラミング学習は、例えば、Webを介して、オンラインシステムで提供される。オンラインシステムでは、例えば、問題(課題)の選択及び選択された問題の提示、学習者による解答作成環境、解答に対する評価など、プログラミング学習に関するユーザインターフェースを提供する。
【0004】
ユーザインターフェースに関する技術としては、例えば、以下に開示されている。
【先行技術文献】
【特許文献】
【0005】
特開2012-128652号公報
特開2010-39540号公報
【発明の概要】
【発明が解決しようとする課題】
【0006】
しかし、オンラインシステムにおいて、学習者は、自身の学習の進度や状況を把握しながら問題を選択できないことがある。また、オンラインシステムにおいて、学習者は、問題の解答としてプログラミングを行うとき、前提条件などの適切な情報を参照しながら行えないことがある。
【0007】
そこで、一開示は、適切な情報を参照しながらオンラインでのプログラミング学習を行うことができる、プログラミング学習システムを提供することができる。
【課題を解決するための手段】
【0008】
一開示は、問題を選択する第1フェーズと、選択した問題に解答し、前記解答を提出し、採点結果を受け取る第2フェーズを有するプログラミング学習システムであって、1以上の画面領域で構成された画面が表示され、前記画面領域それぞれは、第1段階から第N(2以上の整数)段階それぞれに対応し、前記段階は、それぞれ1以上の小画面を有し、前記第1フェーズは、第1段階から第M(1以上N未満の整数)段階で段階的に問題が選択されるフェーズであり、前記画面領域は、対応する段階の有する1画面を事前に決定された順に表示でき、前記第2フェーズは、第M+1段階から第N段階で段階的に作成物を生成するフェーズであり、前記画面領域は、対応する段階の有する複数画面を表示でき、表示できる画面は、段階に応じて事前に決定しており、前記表示できる画面を表示するか否かは選択可能である。
【発明の効果】
【0009】
一開示は、適切な情報を参照しながらオンラインでのプログラミング学習を行うことができる。
【図面の簡単な説明】
【0010】
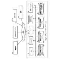
図1は、プログラミング学習システム10の構成例を示す図である。
図2は、Webサーバ100の構成例を表す図である。
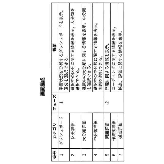
図3は、画面構成の例を示す図である。
図4は、フェーズ1の画面遷移の例を示す図である。
図5は、学習者の活動状態と内部状態の例を示す図である。
図6は、フェーズ2の画面の一覧の例を示す図である。
図7は、各カテゴリの画面の表示制限の一覧の例を示す図である。
図8は、フェーズ2の画面構成の例を示す図である。
図9は、活動状態1(読解中)における画面表示の例を示す図である。
図10は、活動状態1における表示画面の切り替え例を示す図である。
図11は、活動状態1における表示画面の切り替え例を示す図である。
図12は、活動状態2(ドキュメント作成中)における画面表示の例を示す図である。
図13は、活動状態3(コーディング中)における画面表示の例を示す図である。
図14は、活動状態4(テスト中)における画面表示の例を示す図である。
図15は、活動状態5(再コーディング中)における画面表示の例を示す図である。
図16は、活動状態6(提出中)における画面表示の例を示す図である。
図17は、活動状態7(提出後再コーディング中)における画面表示の例を示す図である。
図18は、活動状態7における切り替え例を示す図である。
図19は、活動状態7における切り替え例を示す図である。
図20は、活動状態8(性能改善中)における画面表示の例を示す図である。
図21は、活動状態8における切り替え例を示す図である。
図22は、活動状態8における切り替え例を示す図である。
図23は、活動状態8における切り替え例を示す図である。
【発明を実施するための形態】
(【0011】以降は省略されています)
この特許をJ-PlatPat(特許庁公式サイト)で参照する
関連特許
公立大学法人会津大学
秘密計算用器具
11日前
公立大学法人会津大学
入浴者見守りシステム
7日前
公立大学法人会津大学
漆塗りロボットシステム
11日前
公立大学法人会津大学
プログラミング学習システム
11日前
公立大学法人会津大学
ニューラルネットワークプロセッサ
18日前
公立大学法人会津大学
位置推定システム及び位置推定方法
7か月前
公立大学法人会津大学
学習プログラム、情報処理装置及び学習方法
11日前
公立大学法人会津大学
圧力センサ校正方法及び圧力センサ校正システム
5か月前
公立大学法人会津大学
ニューラルネットワーク回路装置及び故障検出方法
5か月前
ジスクソフト株式会社
認証装置、認証方法および認証プログラム
1か月前
公立大学法人会津大学
学習プログラム、推定プログラム、情報処理装置、学習方法及び推定方法
9か月前
公立大学法人会津大学
目標点に向かって被誘導体を誘導するためのシステム、方法、およびプログラム
7か月前
公立大学法人会津大学
ニューラルネットワーク回路装置、故障検出方法、学習モデル生成プログラム、学習モデル生成装置及び学習モデル生成方法
2か月前
個人
回転式カード学習具
1か月前
個人
時刻表示機能つき手帳
2か月前
日本精機株式会社
表示装置
26日前
日本精機株式会社
表示装置
2か月前
個人
計算用教具
22日前
中国電力株式会社
標示旗
1か月前
日本精機株式会社
車両用表示装置
2か月前
日本精機株式会社
車両用表示装置
2か月前
日本精機株式会社
車両用表示装置
2か月前
個人
微細構造を模した理科学習教材
5日前
個人
モデルで薔薇の花嫁様を描く為
1か月前
日本精機株式会社
車両用センサ装置
22日前
トヨタ自動車株式会社
評価方法
3か月前
株式会社一弘社
情報表示板
1か月前
シャープ株式会社
表示装置
1か月前
個人
音楽教材
2か月前
株式会社ウメラボ
学習支援システム
12日前
株式会社ウメラボ
学習支援システム
18日前
ニチレイマグネット株式会社
磁着式電飾装置
1か月前
株式会社半導体エネルギー研究所
半導体装置
2か月前
株式会社リコー
画像投射システム
1か月前
リンテック株式会社
表示体
11日前
BEST株式会社
吊り下げ表示部材
2か月前
続きを見る
他の特許を見る