TOP
|
特許
|
意匠
|
商標
特許ウォッチ
Twitter
他の特許を見る
10個以上の画像は省略されています。
公開番号
2025157970
公報種別
公開特許公報(A)
公開日
2025-10-16
出願番号
2024060365
出願日
2024-04-03
発明の名称
コンベヤ装置
出願人
伊東電機株式会社
代理人
個人
主分類
B65G
13/071 20060101AFI20251008BHJP(運搬;包装;貯蔵;薄板状または線条材料の取扱い)
要約
【課題】搬送ローラ間の速度差が小さいコンベヤ装置を提供する。
【解決手段】複数の搬送ローラを有するコンベヤ装置であり、3本以上の搬送ローラ5によって構成された搬送ローラ群6があり、搬送ローラ群6の両端に配された搬送ローラ5にベルト20が巻回されている。搬送ローラ群6の中間領域において、ベルト20が押圧部材32で搬送ローラ側に押圧されている。
【選択図】図5
特許請求の範囲
【請求項1】
複数の搬送ローラを有するコンベヤ装置において、
3本以上の搬送ローラによって構成された搬送ローラ群があり、前記搬送ローラ群の両端に配された搬送ローラにベルトが巻回され、前記搬送ローラ群の中間領域において、前記ベルトが押圧部材で搬送ローラ側に押圧されていることを特徴とするコンベヤ装置。
続きを表示(約 490 文字)
【請求項2】
前記押圧部材は自由回転可能であり、
前記搬送ローラはプーリを有し、前記ベルトは、前記プーリに巻回されており、
前記ベルトが前記押圧部材によって中間領域に配された搬送ローラのプーリに押圧されていることを特徴とする請求項1に記載のコンベヤ装置。
【請求項3】
前記押圧部材は、ラジアルベアリングであることを特徴とする請求項1に記載のコンベヤ装置。
【請求項4】
一対のフレーム片によって構成されるフレームを有し、前記搬送ローラは前記フレームに取り付けられており、
前記押圧部材は前記搬送ローラの下側にあって前記フレームに取り付けられていることを特徴とする請求項1に記載のコンベヤ装置。
【請求項5】
前記ベルトは、心線を有するベルトであることを特徴とする請求項1に記載のコンベヤ装置。
【請求項6】
前記押圧部材で押圧されることによって前記ベルトの走行経路が曲がり、前記ベルトと中間領域の搬送ローラとの接触長が増大していることを特徴とする請求項1に記載のコンベヤ装置。
発明の詳細な説明
【技術分野】
【0001】
本発明はコンベヤ装置に関するものであり、特に複数の搬送ローラを備えたコンベヤ装置に関するものである。
続きを表示(約 1,900 文字)
【背景技術】
【0002】
ローラコンベヤと称されるコンベヤ装置が知られている。
代表的なローラコンベヤは、平行に配置された左右一対のサイドフレーム間に、搬送物を搬送する複数の搬送ローラが搬送方向に所定間隔で軸支されたものである。
ローラコンベヤでは、多くの場合、いくつかの搬送ローラが動力によって回転し、搬送物を移動させる。
特許文献1に開示されたローラコンベヤは、一つの搬送ローラが駆動用モータを内蔵するモータ内蔵ローラであり、他の搬送ローラは空転ローラである。
特許文献1に開示されたローラコンベヤでは、隣接する搬送ローラ同士の間にベルトが巻回されており、隣接する搬送ローラ間で回転力が伝動される。
特許文献1では、全ての搬送ローラがベルトで係合しており、一つのモータ内蔵ローラの回転力が全ての搬送ローラに伝動され、全ての搬送ローラが回転する。
【先行技術文献】
【特許文献】
【0003】
特開2019-210100号公報
特開2019-31346号公報
【発明の概要】
【発明が解決しようとする課題】
【0004】
従来技術のコンベヤ装置は前記した様に隣接する搬送ローラ同士の間に動力伝動ベルト(以下 単にベルトと称する)が巻回されており、隣接する搬送ローラ間で回転力が伝動される。ここでベルトは摩擦伝動であり、すべりがある。そのため一対の搬送ローラ間の関係で、駆動側となるローラの回転と従動側となるローラの回転との間に速度差が生じる。
【0005】
従来技術のコンベヤ装置は、一本の搬送ローラが駆動源となり、隣接する搬送ローラの間で次々と動力伝動してゆく。
説明を簡単にするため、ベルトの伝動率が90パーセントであると仮定する。即ち、ベルトのすべりにより、10パーセントの損失があると仮定する。
駆動源(先の例ではモータ内蔵ローラ)を第1搬送ローラとし、第1搬送ローラから動力伝動を受けるローラを第2ローラとし、順次第3ローラ、第4ローラ、第5ローラ、第6ローラと定義する。
仮に、駆動源となる第1搬送ローラの回転数を毎分100回転と仮定すると、第2ローラの回転数は90回転となり、第3ローラの回転数は81回転となり、第4ローラは73回転となる。そして最終の第6ローラの回転数は、59回転まで低下してしまう。即ち、従来技術のコンベヤ装置は、隣り合うローラ間をベルトでつなぎ、回転力を順次伝動してゆく構造であるから、伝導率の損失が累積してゆく。
本発明は、従来技術の上記した問題に注目し、搬送ローラ間の速度差が小さいコンベヤ装置を提供することを目的とするものである。
【課題を解決するための手段】
【0006】
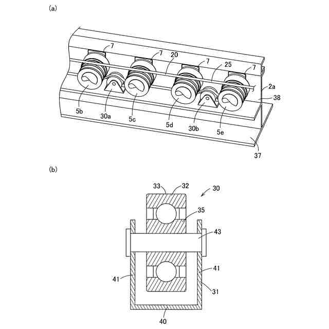
上記した課題を解決するための態様は、複数の搬送ローラを有するコンベヤ装置において、3本以上の搬送ローラによって構成された搬送ローラ群があり、前記搬送ローラ群の両端に配された搬送ローラにベルトが巻回され、前記搬送ローラ群の中間領域において、前記ベルトが押圧部材で搬送ローラ側に押圧されていることを特徴とするコンベヤ装置である。
【0007】
本態様のコンベヤ装置では、搬送ローラ群の両端に配された搬送ローラにベルトが巻回される。このベルトは、すべりが少ないベルトが選定されることが望ましい。本態様のコンベヤ装置では、一種類のベルトが一又は複数の搬送ローラを跨いで巻回されることとなる。そのため中間領域に配された搬送ローラにベルトが係合し、当該ベルトによって中間領域の搬送ローラが回転する。
本態様のコンベヤ装置では、搬送ローラ群の中間領域において、両端の搬送ローラに巻回されているベルトが押圧部材で搬送ローラ側に押圧されている。
【0008】
上記した態様において、前記押圧部材は自由回転可能であり、
前記搬送ローラはプーリを有し、前記ベルトは、前記プーリに巻回されており、前記ベルトが前記押圧部材によって中間領域に配された搬送ローラのプーリに押圧されていることが望ましい。
【0009】
本態様によると、搬送ローラのプーリにベルトが係合するので、伝動効率が高い。
【0010】
上記した各態様において、前記押圧部材は、ラジアルベアリングであることが望ましい。
(【0011】以降は省略されています)
この特許をJ-PlatPat(特許庁公式サイト)で参照する
関連特許
伊東電機株式会社
搬送装置
1日前
伊東電機株式会社
搬送装置
13日前
伊東電機株式会社
搬送装置
1か月前
伊東電機株式会社
コンベヤ装置
7日前
伊東電機株式会社
コンベヤ装置
1か月前
伊東電機株式会社
コンベヤ支持部材及びコンベヤ装置
13日前
伊東電機株式会社
搬送装置、移載装置、並びに搬送物の移載方法
1か月前
個人
収容箱
3か月前
個人
コンベア
5か月前
個人
容器
9か月前
個人
段ボール箱
7か月前
個人
段ボール箱
6か月前
個人
ゴミ収集器
6か月前
個人
宅配システム
6か月前
個人
楽ちんハンド
4か月前
個人
角筒状構造体
5か月前
個人
土嚢運搬器具
8か月前
個人
バンド
1か月前
個人
閉塞装置
10か月前
個人
お薬の締結装置
5か月前
個人
コード類収納具
8か月前
個人
廃棄物収容容器
2か月前
個人
包装容器
1か月前
個人
把手付米袋
4か月前
株式会社和気
包装用箱
8か月前
個人
蓋閉止構造
3か月前
株式会社コロナ
梱包材
5か月前
個人
蓋閉止構造
3か月前
個人
貯蔵サイロ
6か月前
個人
ゴミ処理機
9か月前
株式会社バンダイ
物品
15日前
個人
積み重ね用補助具
2か月前
三甲株式会社
容器
5か月前
個人
輸送積荷用動吸振器
6か月前
株式会社イシダ
搬送装置
6か月前
個人
介護用コップ
2か月前
続きを見る
他の特許を見る