TOP
|
特許
|
意匠
|
商標
特許ウォッチ
Twitter
他の特許を見る
10個以上の画像は省略されています。
公開番号
2025164086
公報種別
公開特許公報(A)
公開日
2025-10-30
出願番号
2024067849
出願日
2024-04-18
発明の名称
区画空間投影システム
出願人
株式会社日建設計
代理人
個人
主分類
G03B
21/14 20060101AFI20251023BHJP(写真;映画;光波以外の波を使用する類似技術;電子写真;ホログラフイ)
要約
【課題】建築物、家具等の対象物の三次元モデルを三面図又は断面図に分解し、床面及び壁面に投影できる区画空間投影システムを提供する。
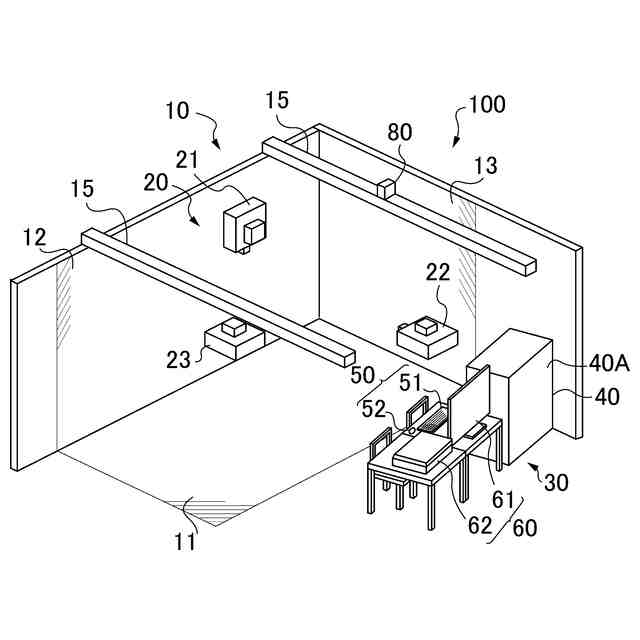
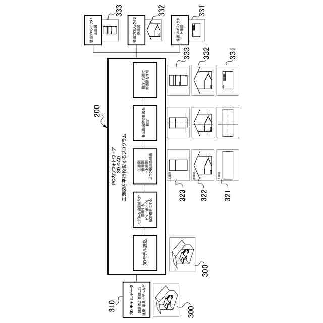
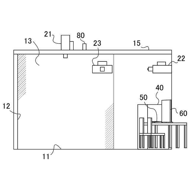
【解決手段】 区画空間10と、投影装置20と、情報処理装置30と、から区画空間投影システム100を構成する。区画空間10は、床面11と、この床面に垂直に立設させた壁面12,13と、によって区画、形成される。3基の投影装置21,22,23は、床面11、壁面12,13に画像を投影する。情報処理装置30を構成するコンピュータ本体40に格納された区画空間投影プログラム200を起動させ、建築物モデル300の三次元モデルデータ310を読み込み、その建築物モデル300を指定倍率で、平面図321、正面図322、側面図323の三面図又は断面図に分解し、その三面図又は断面図を投影装置21,22,23によって、床面11、壁面12,13に投影する。
【選択図】 図1
特許請求の範囲
【請求項1】
区画空間と、投影装置と、情報処理装置と、から構成した区画空間投影システムであって、
前記区画空間は、床面と、この床面に垂直に立設させた2面の壁面と、によって区画して形成され、
前記投影装置は、適宜支持部材によって支持された3基の投影装置から構成され、それぞれ床面、2面の壁面に画像を投影するようになっており、
前記情報処理装置は、コンピュータ本体と、入力装置と、出力装置と、から構成され、
前記コンピュータ本体の補助記憶装置(ハードディスク)には、区画空間投影プログラム及び建築物モデルの三次元モデルデータを格納してあり、
前記区画空間投影プログラムは、前記建築物モデルの三次元モデルデータを読み込み、その建築物モデルを指定倍率に描画し、その建築物モデルを平面図、正面図及び側面図の三面図に分解して描画し、その三面図データを前記投影装置に送信し、前記投影装置によって床面及び2面の壁面にその三面図を投影するものであることを特徴とする区画空間投影システム。
続きを表示(約 750 文字)
【請求項2】
さらに、前記区画空間投影プログラムは、建築物モデルを平面図、正面図及び側面図の三面図に分解して描画したものを指定断面において切断して断面図を作成し、その三面図又は断面図データを前記投影装置に送信し、前記投影装置によって床面及び2面の壁面にその三面図又は断面図を投影するものであることを特徴とする請求項1に記載の区画空間投影システム。
【請求項3】
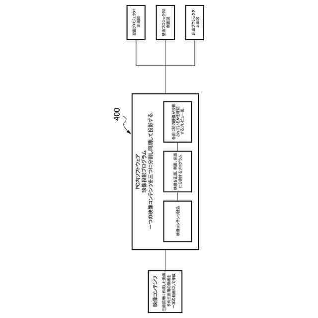
前記区画空間投影システムは、さらに、建築物モデルの三面図又は断面図データの映像をも作成することができるものであることを特徴とする請求項2に記載の区画空間投影システム。
【請求項4】
前記区画空間投影システムは、さらに、建築物に設置する家具等の構成物モデルの外部又は内部構造を適宜断面で切断し、三面図に分解して、床面及び2面の壁面に投影できるものであることを特徴とする請求項2に記載の区画空間投影システム。
【請求項5】
建築物に設置する家具等の構成物に位置・回転角検出センサを設置し、一方、前記区画空間内において観測者が当該構成物を把持し、所定位置及び傾斜状態に保持することによって、前記位置・回転角検出センサが当該構成物の位置及び傾斜状態を検知することを特徴とする請求項4に記載の区画空間投影システム。
【請求項6】
前記区画空間投影システムは、さらに、前記コンピュータ本体の補助記憶装置(ハードディスク)に複合現実空間形成プログラム及び家具等の構成物モデルの三次元モデルデータを格納してあり、観測者は、頭部に装着したMRゴーグルを透過し、実物である構成物と映像である仮想物とを重畳して観測することができることを特徴とする請求項4又は5に記載の区画空間投影システム。
発明の詳細な説明
【技術分野】
【0001】
本発明は、建築物、家具等の対象物の三次元モデルを三面図に分解し、区画された屋内空間内の区画面に投影することによって、建築物、家具等の対象物を臨場感及び現実感をもって認識できるようにした区画空間投影システムに関する。
続きを表示(約 1,700 文字)
【背景技術】
【0002】
従来、建築物の内部をプロジェクションマッピング技術を使用し、区画された屋内空間内の床面及び壁面に三面図として投影し、建築物の内部構造を臨場感及び現実感をもって認識できるようにして、建築物の設計又は購買の際に、設計者又は購買者の利用に資するようにした区画空間投影システムが知られている(特許文献1及び2を参照)。
【先行技術文献】
【特許文献】
【0003】
特開2014-164003号公報
特開2020-096243号公報
【発明の開示】
【発明が解決しようとする課題】
【0004】
特許文献1に記載の区画空間投影システムは、オフィス等の屋内空間の床面及び壁面を仮想屋内空間内の床面及び壁面に実物大で投影し、その仮想屋内空間内に机、椅子、棚等の仮想構成物を配置自在とすることによって、オフィス等の屋内空間における机、椅子、棚等の構成物の配置を容易かつ迅速に設定又は変更できるようにしたものである。
【0005】
又、特許文献2に記載の区画空間投影システムは、建築設計データの少なくとも一部の対象データを建築物内の床面又は壁面に投影し、墨出し線を引くためのガイドとして使用する場合に、投影装置に測距部を設けることによって、対象データを建築物内の床面又は壁面に投影する準備作業を軽減するようにしたものである。
【0006】
しかし、特許文献1及び2に記載の区画空間投影システムは、何れも、建築物、家具等の対象物の三次元モデルを使用し、その外部又は内部構造を適宜断面で切断し、三面図に分解して床面及び壁面に投影できるものではなく、又、投影対象を実物大又は適宜倍率大で投影できるものではなかった。
【0007】
さらに、建築物内に設置される家具等の構成物を三面図に分解して、各面から立体的に認識できるものではなかった。
【0008】
本発明は、このような従来の問題点に鑑みて為されたものであって、建築物、家具等の対象物の三次元モデルを使用し、その外部又は内部構造を適宜断面で切断し、三面図に分解して床面及び壁面に投影でき、又、投影対象を実物大又は適宜倍率大で投影でき、さらには、建築物内に設置される家具等の構成物を三面図に分解して、各面から立体的に認識できるようにした区画空間投影システムを提供することを目的とする。
【課題を解決するための手段】
【0009】
上記目的を達成するために、本発明の区画空間投影システムは、区画空間と、投影装置と、情報処理装置と、から構成した区画空間投影システムであって、
前記区画空間は、床面と、この床面に垂直に立設させた2面の壁面と、によって区画して形成され、
前記投影装置は、適宜支持部材によって支持された3基の投影装置から構成され、それぞれ床面、2面の壁面に画像を投影するようになっており、
前記情報処理装置は、コンピュータ本体と、入力装置と、出力装置と、から構成され、
前記コンピュータ本体の補助記憶装置(ハードディスク)には、区画空間投影プログラム及び建築物モデルの三次元モデルデータを格納してあり、
前記区画空間投影プログラムは、前記建築物モデルの三次元モデルデータを読み込み、その建築物モデルを指定倍率に描画し、その建築物モデルを平面図、正面図及び側面図の三面図に分解して描画し、その三面図データを前記投影装置に送信し、前記投影装置によって床面及び2面の壁面にその三面図を投影するものであることを特徴とする。
【0010】
さらに、前記区画空間投影プログラムは、建築物モデルを平面図、正面図及び側面図の三面図に分解して描画したものを指定断面において切断して断面図を作成し、その三面図又は断面図データを前記投影装置に送信し、前記投影装置によって床面及び2面の壁面にその三面図又は断面図を投影するものであることを特徴とする。
(【0011】以降は省略されています)
この特許をJ-PlatPat(特許庁公式サイト)で参照する
関連特許
株式会社日建設計
区画空間投影システム
1日前
株式会社日建設計
建築設計支援装置及び建築設計支援方法
17日前
東海旅客鉄道株式会社
旅客上家の耐震補強構造
1か月前
個人
表示装置
16日前
個人
雨用レンズカバー
14日前
株式会社シグマ
絞りユニット
1か月前
キヤノン株式会社
撮像装置
7日前
キヤノン株式会社
撮像装置
1か月前
キヤノン株式会社
撮像装置
7日前
キヤノン株式会社
撮像装置
1か月前
キヤノン株式会社
撮像装置
7日前
日本精機株式会社
車両用投射装置
22日前
平和精機工業株式会社
雲台
2か月前
キヤノン株式会社
撮像装置
1か月前
株式会社リコー
画像形成装置
2か月前
株式会社リコー
画像形成装置
1日前
株式会社リコー
画像形成装置
1日前
株式会社リコー
画像形成装置
3か月前
株式会社リコー
画像形成装置
1か月前
株式会社リコー
画像形成装置
4日前
株式会社リコー
画像形成装置
3か月前
株式会社リコー
画像形成装置
2か月前
株式会社リコー
画像形成装置
2か月前
株式会社リコー
画像形成装置
2か月前
株式会社リコー
画像形成装置
1か月前
キヤノン株式会社
画像形成装置
3か月前
キヤノン株式会社
トナー
10日前
キヤノン株式会社
画像形成装置
2か月前
ブラザー工業株式会社
再生方法
2か月前
キヤノン株式会社
画像形成装置
3か月前
キヤノン株式会社
画像形成装置
2か月前
キヤノン株式会社
画像形成装置
3か月前
キヤノン株式会社
画像形成装置
3か月前
キヤノン株式会社
トナー
3か月前
キヤノン株式会社
画像形成装置
3日前
キヤノン株式会社
画像形成装置
3か月前
続きを見る
他の特許を見る