TOP
|
特許
|
意匠
|
商標
特許ウォッチ
Twitter
他の特許を見る
公開番号
2024147338
公報種別
公開特許公報(A)
公開日
2024-10-16
出願番号
2023060286
出願日
2023-04-03
発明の名称
データ処理装置
出願人
矢崎総業株式会社
代理人
弁理士法人栄光事務所
主分類
G08G
1/00 20060101AFI20241008BHJP(信号)
要約
【課題】路面の損傷把握に必要なデータの収集にかかる手間、時間、コストなどの削減を容易にすると共に、損傷の検出精度を改善すること。
【解決手段】サービス提供用サーバ40が各車両の車載システム10からのプローブデータと、車載システム10が常時記録モードで記録した映像と位置のデータをそれぞれ車載器から収集する。サービス提供用サーバ40は、車載器ユーザが映像データの利用を許諾したことに基づく利用権と、映像データとを取得し、その対価を車載器ユーザに提供する。複数の車載システム10から必要な大量の映像データを取得できるので、映像データの利用者側がパトロール車両を走らせて路面をその都度撮影する必要がなくなる。上下方向加速度の分散値の時系列データから予測した路面の損傷状況と、映像データの路面画像から検出した損傷状況の出力データを車両位置に紐付けして、道路維持管理が必要な自治体や管理業者に有償で提供する。
【選択図】図1
特許請求の範囲
【請求項1】
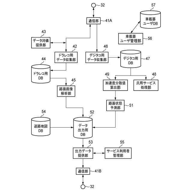
少なくとも車両上の所定の車載器により走行中に撮影された映像を含む入力データと、第1のユーザが前記入力データの利用を許諾したことに基づく利用権と、を取得する外部データ取得部と、
前記外部データ取得部が取得した前記入力データを処理して、前記映像に含まれる路面の損傷状況を位置と共に検出する路面損傷検出部と、
前記路面損傷検出部の処理結果を含む出力データを、第2のユーザに対して提供するデータ出力部と、を備える、
データ処理装置。
続きを表示(約 730 文字)
【請求項2】
前記外部データ取得部は、車両上の第1の車載器により走行中に検出された上下方向の加速度を含む第1の入力データを前記第1の車載器から取得し、車両上の第2の車載器により走行中に検出された映像を含む第2の入力データを前記第2の車載器から取得する機能を有し、
前記路面損傷検出部は、前記第1の入力データに含まれる加速度の分散値を算出し、前記分散値の時系列変化に基づいて路面状態を予測する予測部を有し、
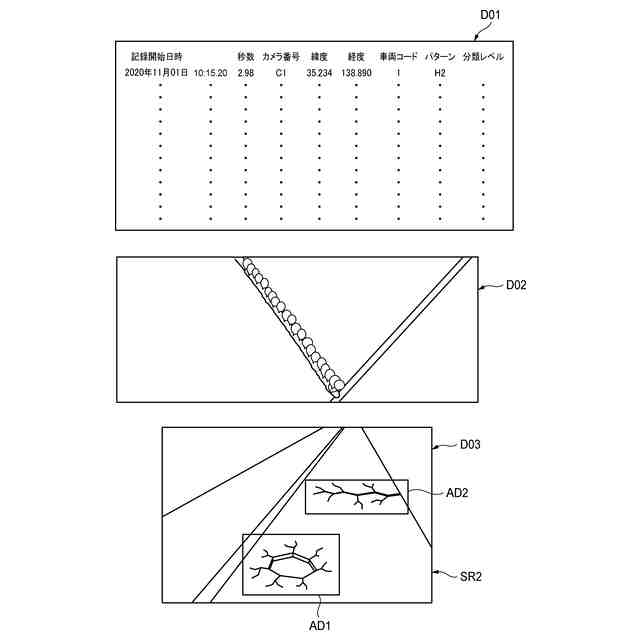
前記データ出力部は、前記予測部が前記分散値の時系列変化に基づいて予測した路面状態と、前記路面損傷検出部が前記映像に基づいて検出した路面の損傷状況とを車両の位置情報に紐付けし、前記出力データとして出力する、
請求項1に記載のデータ処理装置。
【請求項3】
前記外部データ取得部は、前記入力データを取得する際に、当該入力データの提供に対する所定の対価を前記第1のユーザに対して提供する、
請求項1に記載のデータ処理装置。
【請求項4】
前記外部データ取得部は、前記入力データとして、車両に搭載されたドライブレコーダが常時記録モードで記録した時系列の映像データを、車両位置の情報と共に取得する、
請求項1に記載のデータ処理装置。
【請求項5】
前記路面損傷検出部は、前記入力データの映像に基づき路面の損傷状況を複数種類の損傷度合のいずれかに分類した状態で検出する機能を有し、
前記データ出力部は、少なくとも路面の損傷を検出した箇所の損傷度合、および車両位置の情報を前記第2のユーザに対して提供する、
請求項1から4のいずれか一項に記載のデータ処理装置。
発明の詳細な説明
【技術分野】
【0001】
本発明は、データ処理装置に関する。
続きを表示(約 1,600 文字)
【背景技術】
【0002】
例えば様々な道路を維持管理している自治体や、道路維持管理を請け負う事業者や、損傷した道路の補修工事を請け負う施工業者などにおいては、管理対象の各道路の状況を把握しておく必要がある。したがって、各道路の管理者等は例えば定期的にパトロールを行って、路面等の状況を目視等で確認するための作業を行うのが一般的である。また、対象となる道路上に車両を実際に走行させて、路面状態を識別する技術が提案されている(例えば、特許文献1~4参照)。
【先行技術文献】
【特許文献】
【0003】
特開2001-63544号公報
特開2001-287634号公報
特開2020-194450号公報
特開2022-155303号公報
【発明の概要】
【発明が解決しようとする課題】
【0004】
特許文献1~特許文献3に示されているように、走行する車両上で検出した加速度の分散値を利用することで、車両が実際に走行した道路の路面に存在する凹凸などの損傷をある程度は推定することが可能である。
【0005】
しかしながら、車両上で検出可能な上下方向の加速度は自車両の各車輪が実際に通過した領域だけの路面状況を反映するので、車輪が通過しなかった領域に存在する凹凸は損傷として検出することができない。また、路面にマンホールなどが存在する場合には、このマンホールの箇所の凹凸を損傷として誤検出する可能性がある。したがって、路面の状況を確実に把握するために、管理者等がパトロール車両で走行しながら目視で路面の損傷の有無を確認する作業も必要になる。
【0006】
また、例えば特許文献4に記載されているように、車両に搭載したカメラで撮影した画像を利用して路面の損傷を記録することも考えられる。特許文献4に記載の方法は、道路の表面所定の基準定規を配置し、この基準定規を撮影して基準定規画像を得た後、車両で道路を走行しながら撮影した路面画像と基準定規画像とを重ね合わせて、路面画像中に存在する路面の損傷の寸法を検出する。しかし、この方法においては、対象となる道路の表面に基準定規を配置して撮影する工程が少なくとも必要となるため、手間やコストがかかる。
【0007】
いずれにしても路面の損傷を確実に把握するためには、その都度パトロール車両などを用いて管理者が道路の対象区間の全域を定期的に走行し、目視で確認したり、必要なデータを走行しながら収集しなければならない。そのため、パトロールの手間、時間、コストなどを削減することが困難である。
【0008】
本発明は、上記の状況に鑑みてなされたものであり、道路の維持管理に必要な高精度データを簡便に提供可能なデータ処理装置を提供することである。
【課題を解決するための手段】
【0009】
前述した目的を達成するために、本発明に係るデータ処理装置は、下記を特徴としている。
少なくとも車両上の所定の車載器により走行中に撮影された映像を含む入力データと、第1のユーザが前記入力データの利用を許諾したことに基づく利用権と、を取得する外部データ取得部と、
前記外部データ取得部が取得した前記入力データを処理して、前記映像に含まれる路面の損傷状況を位置と共に検出する路面損傷検出部と、
前記路面損傷検出部の処理結果を含む出力データを、第2のユーザに対して提供するデータ出力部と、を備える、
データ処理装置。
【発明の効果】
【0010】
本発明のデータ処理装置によれば、道路の維持管理に必要な高精度データを簡便に提供可能となる。
(【0011】以降は省略されています)
この特許をJ-PlatPat(特許庁公式サイト)で参照する
関連特許
矢崎総業株式会社
電線
2か月前
矢崎総業株式会社
端子
1か月前
矢崎総業株式会社
端子
1か月前
矢崎総業株式会社
治具
3か月前
矢崎総業株式会社
導電体
2か月前
矢崎総業株式会社
箱状体
1か月前
矢崎総業株式会社
バスバ
1か月前
矢崎総業株式会社
箱状体
1か月前
矢崎総業株式会社
照明灯
26日前
矢崎総業株式会社
導電体
2か月前
矢崎総業株式会社
端子台
3か月前
矢崎総業株式会社
雌端子
1か月前
矢崎総業株式会社
コネクタ
2か月前
矢崎総業株式会社
コネクタ
17日前
矢崎総業株式会社
コネクタ
11日前
矢崎総業株式会社
コネクタ
1か月前
矢崎総業株式会社
コネクタ
1か月前
矢崎総業株式会社
配索構造
1か月前
矢崎総業株式会社
コネクタ
1か月前
矢崎総業株式会社
コネクタ
1か月前
矢崎総業株式会社
コネクタ
2か月前
矢崎総業株式会社
コネクタ
19日前
矢崎総業株式会社
コネクタ
1か月前
矢崎総業株式会社
コネクタ
2か月前
矢崎総業株式会社
コネクタ
19日前
矢崎総業株式会社
照明装置
1か月前
矢崎総業株式会社
コネクタ
26日前
矢崎総業株式会社
コネクタ
26日前
矢崎総業株式会社
コネクタ
26日前
矢崎総業株式会社
コネクタ
1か月前
矢崎総業株式会社
巻付装置
2か月前
矢崎総業株式会社
コネクタ
1か月前
矢崎総業株式会社
車体構造
3か月前
矢崎総業株式会社
コネクタ
2か月前
矢崎総業株式会社
コネクタ
2か月前
矢崎総業株式会社
コネクタ
2か月前
続きを見る
他の特許を見る