TOP
|
特許
|
意匠
|
商標
特許ウォッチ
Twitter
他の特許を見る
公開番号
2025126372
公報種別
公開特許公報(A)
公開日
2025-08-29
出願番号
2024022489
出願日
2024-02-19
発明の名称
コネクタ
出願人
矢崎総業株式会社
代理人
弁理士法人虎ノ門知的財産事務所
主分類
H01R
4/30 20060101AFI20250822BHJP(基本的電気素子)
要約
【課題】部品点数の抑制を図ることができるコネクタを提供する。
【解決手段】コネクタは、相手側端子と接続する端子状部材11と、開口部21aを介して外部と連通する嵌合空間部22、及び、嵌合空間部22に面して設けられ端子状部材11を当該嵌合空間部22内に露出させた状態で軸線方向Xに沿って保持する保持部3を有するコネクタハウジング2と、被締結部41が嵌合空間部22に対して軸線方向Xと直交する第2方向Z2から組み付けられる被締結端子40とを備える。保持部3は、端子状部材11を保持する位置に雌ねじ部を有する。端子状部材11は、保持状態で、軸線方向Xの開口部21a側に位置し、相手側端子に接続する端子接続部12と、端子接続部12と反対側に位置し、雌ねじ部に螺合する雄ねじ部13とを有し、挿入状態で、雄ねじ部13が雌ねじ部に螺合することで被締結端子40と締結されている。
【選択図】図5
特許請求の範囲
【請求項1】
相手側コネクタに設けられた相手側端子と接続可能に形成された端子状部材と、
軸線方向の一方に向けて開口する開口部、前記開口部を介して外部と連通し前記相手側コネクタと嵌合可能に形成された嵌合空間部、及び、前記嵌合空間部に面して設けられ前記端子状部材を当該嵌合空間部内に露出させた状態で前記軸線方向に沿って保持する保持部を有するコネクタハウジングと、
貫通孔が形成された平板状の被締結部を有し、前記被締結部が前記嵌合空間部に対して前記軸線方向と直交する組付け方向から組み付けられる被締結端子と、を備え、
前記保持部は、
前記端子状部材を保持する位置に被螺合部を有し、
前記端子状部材は、
当該端子状部材が前記保持部に保持された保持状態において、前記軸線方向の前記開口部側に位置し、前記相手側端子に接続する端子接続部と、
前記軸線方向において前記端子接続部と反対側に位置し、前記被螺合部に螺合する螺合部と、を有し、
前記被締結端子の前記貫通孔に前記螺合部が挿通された挿入状態で、前記螺合部が前記被螺合部に螺合することで前記被締結端子と締結されている
ことを特徴とするコネクタ。
続きを表示(約 310 文字)
【請求項2】
前記保持部は、
前記コネクタハウジングに対してインサート成形される
請求項1に記載のコネクタ。
【請求項3】
前記端子状部材は、
前記端子接続部と前記螺合部との間に位置し、前記開口部を介して挿入される工具が嵌合可能に形成される嵌合部を有する
請求項1に記載のコネクタ。
【請求項4】
前記螺合部は、雄ねじ部であり、
前記被螺合部は、雌ねじ部である
請求項1に記載のコネクタ。
【請求項5】
前記螺合部は、雌ねじ部であり、
前記被螺合部は、雄ねじ部である
請求項1に記載のコネクタ。
発明の詳細な説明
【技術分野】
【0001】
本発明は、コネクタに関する。
続きを表示(約 1,700 文字)
【背景技術】
【0002】
従来のコネクタでは、メス端子とバスバーをコネクタ背面側から締結し、上下方向に電線の取り出しを行う構造を有するものがある(例えば、特許文献1参照)。
【先行技術文献】
【特許文献】
【0003】
特開2020-194645号公報
【発明の概要】
【発明が解決しようとする課題】
【0004】
ところで、従来のコネクタでは、端子とバスバーをハウジングにセットして締結する必要があるため、コネクタ背面側を大きく開口させて、リアカバーにより蓋をする必要があることから、部品点数を抑制する点で改善の余地がある。
【0005】
本発明は、部品点数の抑制を図ることができるコネクタを提供することを目的とする。
【課題を解決するための手段】
【0006】
上記目的を達成するために、本発明に係るコネクタは、相手側コネクタに設けられた相手側端子と接続可能に形成された端子状部材と、軸線方向の一方に向けて開口する開口部、前記開口部を介して外部と連通し前記相手側コネクタと嵌合可能に形成された嵌合空間部、及び、前記嵌合空間部に面して設けられ前記端子状部材を当該嵌合空間部内に露出させた状態で前記軸線方向に沿って保持する保持部を有するコネクタハウジングと、貫通孔が形成された平板状の被締結部を有し、前記被締結部が前記嵌合空間部に対して前記軸線方向と直交する組付け方向から組み付けられる被締結端子と、を備え、前記保持部は、前記端子状部材を保持する位置に被螺合部を有し、前記端子状部材は、当該端子状部材が前記保持部に保持された保持状態において、前記軸線方向の前記開口部側に位置し、前記相手側端子に接続する端子接続部と、前記軸線方向において前記端子接続部と反対側に位置し、前記被螺合部に螺合する螺合部と、を有し、前記被締結端子の前記貫通孔に前記螺合部が挿通された挿入状態で、前記螺合部が前記被螺合部に螺合することで前記被締結端子と締結されていることを特徴とする。
【発明の効果】
【0007】
本発明に係るコネクタによれば、部品点数の抑制を図ることができる、という効果を奏する。
【図面の簡単な説明】
【0008】
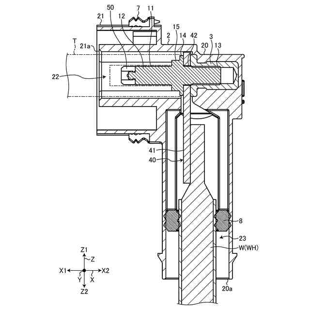
図1は、実施形態に係るコネクタの全体を示す斜視図である。
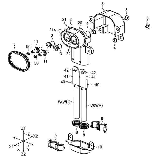
図2は、実施形態に係るコネクタの概略構成を示す分解斜視図である。
図3は、実施形態に係る端子状部材及び保持部の概略構成を示す斜視図である。
図4は、実施形態に係るコネクタの組付け方法を説明するための図である。
図5は、実施形態に係るコネクタの概略構成を示す断面図である。
図6は、実施形態の変形例に係る端子状部材及び保持部の概略構成を示す斜視図である。
【発明を実施するための形態】
【0009】
以下に、本発明に係る実施形態について図面を参照しつつ詳細に説明する。なお、下記実施形態により本発明が限定されるものではない。すなわち、下記実施形態における構成要素には、当業者が容易に想定できるもの、あるいは実質的に同一のものが含まれ、発明の要旨を逸脱しない範囲で、種々の省略、置き換え、変更を行うことができる。
【0010】
なお、以下の説明において、便宜上、図示のX方向、Y方向、及び、Z方向のうち、X方向を「軸線方向X」とし、Y方向を「幅方向Y」とし、Z方向を「高さ方向Z」とする。軸線方向Xと幅方向Yと高さ方向Zとは、相互に直交する。軸線方向Xは、例えば、相手側コネクタ100に対するコネクタ1の挿抜方向、端子状部材11の延在方向等に相当する。また、軸線方向Xの一方を相手側端子101への挿入方向X1とし、他方を相手側端子101からの抜去方向X2とする。高さ方向Zのうち、一方を第1方向Z1とし、他方を第2方向Z2とする。なお、以下の説明で用いる各方向は、特に断りのない限り、コネクタ1が相手側コネクタ100に嵌合された嵌合状態での方向として説明する。
(【0011】以降は省略されています)
この特許をJ-PlatPat(特許庁公式サイト)で参照する
関連特許
矢崎総業株式会社
箱状体
11日前
矢崎総業株式会社
箱状体
11日前
矢崎総業株式会社
照明灯
1か月前
矢崎総業株式会社
コネクタ
12日前
矢崎総業株式会社
コネクタ
23日前
矢崎総業株式会社
コネクタ
11日前
矢崎総業株式会社
コネクタ
11日前
矢崎総業株式会社
コネクタ
12日前
矢崎総業株式会社
コネクタ
12日前
矢崎総業株式会社
コネクタ
16日前
矢崎総業株式会社
コネクタ
10日前
矢崎総業株式会社
コネクタ
1か月前
矢崎総業株式会社
照明構造
16日前
矢崎総業株式会社
コネクタ
20日前
矢崎総業株式会社
止水部材
16日前
矢崎総業株式会社
コネクタ
1か月前
矢崎総業株式会社
コネクタ
18日前
矢崎総業株式会社
コネクタ
18日前
矢崎総業株式会社
コネクタ
16日前
矢崎総業株式会社
コネクタ
1か月前
矢崎総業株式会社
コネクタ
9日前
矢崎総業株式会社
コネクタ
1か月前
矢崎総業株式会社
バスバー
2日前
矢崎総業株式会社
コネクタ
5日前
矢崎総業株式会社
コネクタ
1か月前
矢崎総業株式会社
コネクタ
1か月前
矢崎総業株式会社
コネクタ
1か月前
矢崎総業株式会社
コネクタ
1か月前
矢崎総業株式会社
コネクタ
1か月前
矢崎総業株式会社
コネクタ
24日前
矢崎総業株式会社
電流センサ
1か月前
矢崎総業株式会社
プロテクタ
16日前
矢崎総業株式会社
ゴムブーツ
16日前
矢崎総業株式会社
カバー構造
1か月前
矢崎総業株式会社
電気接続箱
11日前
矢崎総業株式会社
電流センサ
1か月前
続きを見る
他の特許を見る