TOP
|
特許
|
意匠
|
商標
特許ウォッチ
Twitter
他の特許を見る
公開番号
2024165157
公報種別
公開特許公報(A)
公開日
2024-11-28
出願番号
2023081071
出願日
2023-05-16
発明の名称
端子の接合構造及び端子の接合方法
出願人
大豊工業株式会社
代理人
個人
,
個人
主分類
H01M
50/557 20210101AFI20241121BHJP(基本的電気素子)
要約
【課題】電気エネルギーの損失を低減することができる端子の接合構造及び端子の接合方法を提供する。
【解決手段】電池1に設けられる端子(正極端子32、負極端子42)の接合構造2であって、板形状の金属製の端子(正極端子32、負極端子42)と、板形状の金属製の部材で形成され、前記端子(正極端子32、負極端子42)の厚さ方向一方側の第一面43aと、前記端子(正極端子32、負極端子42)の前記厚さ方向他方側の第二面44aと、のうちの少なくとも一方の全面に対して接合される電極(第一電極31、第一電極41、第二電極33、第二電極45)と、を具備する。
【選択図】図2
特許請求の範囲
【請求項1】
電池に設けられる端子の接合構造であって、
板形状の金属製の端子と、
板形状の金属製の部材で形成され、前記端子の厚さ方向一方側の面と、前記端子の前記厚さ方向他方側の面と、のうちの少なくとも一方の全面に対して接合される電極と、
を具備する、
端子の接合構造。
続きを表示(約 790 文字)
【請求項2】
前記電極には、
前記端子の前記厚さ方向一方側の面の全面に対して接合される第一電極と、
前記端子の前記厚さ方向他方側の面の全面に対して接合される第二電極と、
が含まれる、
請求項1に記載の端子の接合構造。
【請求項3】
前記端子は、
前記電極を前記厚さ方向に貫通せずに、前記電極に対して接合される、
請求項1に記載の端子の接合構造。
【請求項4】
前記端子は、
複数の金属が積層されたクラッド材で形成されたクラッド端子を含む、
請求項1から請求項3までのいずれか一項に記載の端子の接合構造。
【請求項5】
電池に設けられる端子の接合方法であって、
板形状の金属製の端子と、
板形状の金属製の部材で形成され、前記端子の厚さ方向一方側に配置される第一電極と、
板形状の金属製の部材で形成され、前記端子の前記厚さ方向他方側に配置される第二電極と、
を積層した状態で、超音波接合により前記端子、前記第一電極及び前記第二電極をそれぞれ接合する、
端子の接合方法。
【請求項6】
前記厚さ方向に直交する方向の前記端子の移動を規制する規制部により、前記端子の位置ずれを規制した状態で、前記超音波接合を行う、
請求項5に記載の端子の接合方法。
【請求項7】
前記電池は、
電極体を収容可能であり、一部が開口するケースと、
前記ケースの開口を閉塞すると共に、前記端子が挿通される孔が形成された蓋と、
を具備し、
前記規制部は、
前記端子と前記孔との隙間を閉塞可能なガスケットにより形成されている、
請求項6に記載の端子の接合方法。
発明の詳細な説明
【技術分野】
【0001】
本発明は、電池の端子の接合構造及び端子の接合方法の技術に関する。
続きを表示(約 1,300 文字)
【背景技術】
【0002】
従来、電池に設けられる端子の接合構造及び端子の接合方法の技術は公知となっている。例えば、特許文献1に記載の如くである。
【0003】
特許文献1には、正極端子及び負極端子を備えるリチウムイオン電池が開示されている。リチウムイオン電池は、シート状の正極、負極及びセパレータがロール状に積層された蓄電素子をケース内に備えている。各端子(正極端子及び負極端子)のうちケースの内側の部分は、蓄電素子の正極及び負極に対して、集電体を介してそれぞれ電気的に接続されている。また、各端子のうちケースの外側の部分は、複数のリチウムイオン電池同士を接続する導体であるバスバーに対して電気的に接続されている。
【0004】
具体的には、特許文献1に記載のリチウムイオン電池の各端子(正極端子及び負極端子)は、上下方向に延出する円柱状の軸部と、軸部の上部において拡径する鍔部と、を有するリベット状に形成されている。上記リチウムイオン電池においては、各端子の軸部を、集電体に対してかしめて固定すると共に、軸部及び集電体をレーザ溶接により互いに接合している。また、上記リチウムイオン電池においては、各端子の鍔部とバスバーとをレーザ溶接により互いに接合している。上述のような接合を行うことにより、リチウムイオン電池の各部材(端子、集電体及びバスバー)同士が互いに電気的に接続される。
【0005】
しかしながら、特許文献1に記載の発明のように、かしめ加工や溶接により部材同士を接合した場合は、部材同士が線状に接するため、部材同士の接触面積、ひいては電気を導通させるための面積が比較的小さくなることが想定される。このため、電気エネルギーの損失が発生する可能性がある。
【先行技術文献】
【特許文献】
【0006】
特開2016-85961号公報
【発明の概要】
【発明が解決しようとする課題】
【0007】
本発明は以上の如き状況に鑑みてなされたものであり、その解決しようとする課題は、電気エネルギーの損失を低減することができる端子の接合構造及び端子の接合方法を提供することである。
【課題を解決するための手段】
【0008】
本発明の解決しようとする課題は以上の如くであり、次にこの課題を解決するための手段を説明する。
【0009】
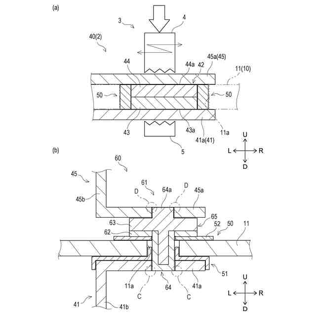
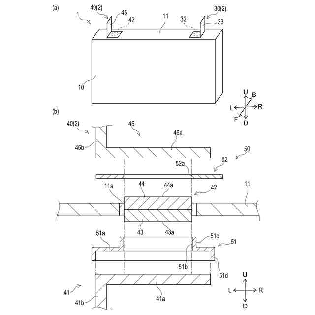
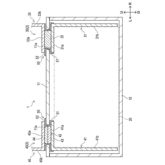
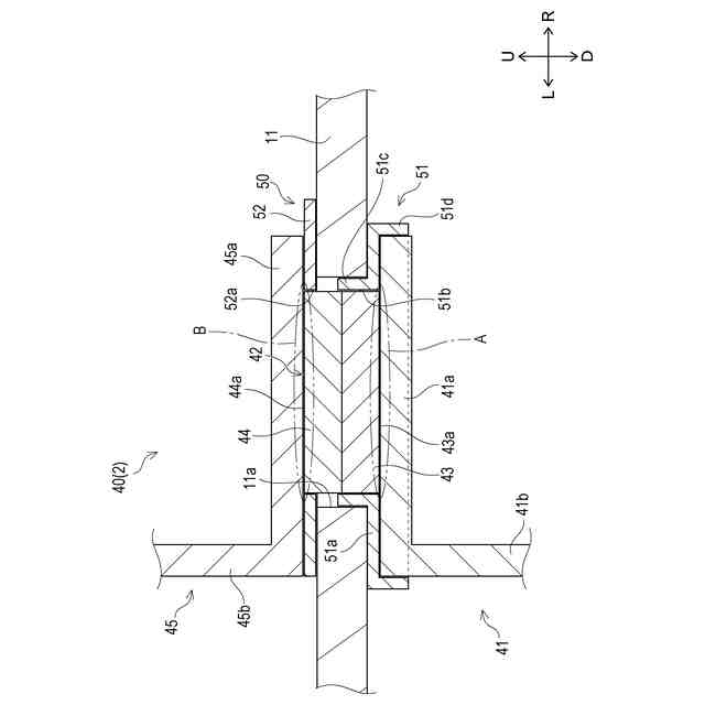
即ち、請求項1においては、電池に設けられる端子の接合構造であって、板形状の金属製の端子と、板形状の金属製の部材で形成され、前記端子の厚さ方向一方側の面と、前記端子の前記厚さ方向他方側の面と、のうちの少なくとも一方の全面に対して接合される電極と、を具備するものである。
【0010】
請求項2においては、前記電極には、前記端子の前記厚さ方向一方側の面の全面に対して接合される第一電極と、前記端子の前記厚さ方向他方側の面の全面に対して接合される第二電極と、が含まれるものである。
(【0011】以降は省略されています)
この特許をJ-PlatPat(特許庁公式サイト)で参照する
関連特許
大豊工業株式会社
モータ
12日前
大豊工業株式会社
端子の接合構造及び端子の接合方法
10か月前
個人
安全なNAS電池
26日前
日本発條株式会社
積層体
2日前
東レ株式会社
多孔質炭素シート
21日前
個人
フリー型プラグ安全カバー
1か月前
ローム株式会社
半導体装置
21日前
ローム株式会社
半導体装置
今日
ローム株式会社
半導体装置
今日
キヤノン株式会社
電子機器
21日前
エイブリック株式会社
半導体装置
23日前
エイブリック株式会社
半導体装置
23日前
ローム株式会社
半導体装置
今日
個人
防雪防塵カバー
2日前
個人
半導体パッケージ用ガラス基板
1日前
株式会社GSユアサ
蓄電装置
2日前
ニチコン株式会社
コンデンサ
14日前
株式会社GSユアサ
蓄電装置
29日前
ニチコン株式会社
コンデンサ
14日前
東レ株式会社
ガス拡散層の製造方法
21日前
沖電気工業株式会社
アンテナ
1か月前
株式会社GSユアサ
蓄電装置
1か月前
株式会社GSユアサ
蓄電装置
1か月前
オムロン株式会社
電磁継電器
1か月前
株式会社ティラド
面接触型熱交換器
13日前
トヨタ自動車株式会社
二次電池
2日前
日本特殊陶業株式会社
保持装置
今日
トヨタ自動車株式会社
蓄電装置
1か月前
日本特殊陶業株式会社
保持装置
28日前
マクセル株式会社
配列用マスク
13日前
株式会社カネカ
二次電池
1か月前
ローム株式会社
電子装置
2日前
日本特殊陶業株式会社
保持装置
2日前
株式会社ヨコオ
コネクタ
23日前
愛知電機株式会社
負荷時タップ切換装置
1か月前
トヨタ自動車株式会社
電池パック
6日前
続きを見る
他の特許を見る