TOP
|
特許
|
意匠
|
商標
特許ウォッチ
Twitter
他の特許を見る
公開番号
2024173804
公報種別
公開特許公報(A)
公開日
2024-12-12
出願番号
2024088120
出願日
2024-05-30
発明の名称
受信装置及び送出装置
出願人
日本放送協会
代理人
弁理士法人キュリーズ
主分類
H04N
21/435 20110101AFI20241205BHJP(電気通信技術)
要約
【課題】番組の映像を邪魔することを抑制しつつ、番組の途中から視聴を開始した視聴者に対してより確実に上乗せ提示情報を提示することを可能とする。
【解決手段】受信装置は、番組の映像の符号化ストリームと、上乗せ提示情報を前記番組の映像に上乗せすることを示すフラグ情報とを含む放送信号を受信する受信手段と、前記番組と対応付けて前記フラグ情報を保持する保持手段と、前記番組の映像の再生が視聴者により選択されたことに応じて、前記符号化ストリームから前記番組の映像を再生する再生手段と、を備える。前記再生手段は、視聴者により映像の再生が選択された前記番組と対応する前記フラグ情報が前記保持手段に保持されている場合、前記上乗せ提示情報を前記番組映像に少なくとも所定時間にわたって上乗せする。
【選択図】図3
特許請求の範囲
【請求項1】
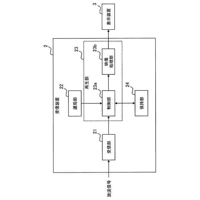
番組の映像の符号化ストリームと、上乗せ提示情報を前記番組の映像に上乗せすることを示すフラグ情報とを含む放送信号を受信する受信手段と、
前記番組と対応付けて前記フラグ情報を保持する保持手段と、
前記番組の映像の再生が視聴者により選択されたことに応じて、前記符号化ストリームから前記番組の映像を再生する再生手段と、を備え、
前記再生手段は、視聴者により映像の再生が選択された前記番組と対応する前記フラグ情報が前記保持手段に保持されている場合、前記上乗せ提示情報を前記番組の映像に少なくとも所定時間にわたって上乗せする
ことを特徴とする受信装置。
続きを表示(約 1,400 文字)
【請求項2】
前記保持手段は、前記番組の映像の再生が視聴者により選択されていないことに応じて、前記フラグ情報を保持する
ことを特徴とする請求項1に記載の受信装置。
【請求項3】
前記受信手段は、前記上乗せ提示情報をさらに含む前記放送信号を受信し、
前記再生手段は、前記放送信号から前記上乗せ提示情報を取得する
ことを特徴とする請求項1に記載の受信装置。
【請求項4】
サーバと通信する通信手段をさらに備え、
前記再生手段は、前記サーバから前記上乗せ提示情報を取得する
ことを特徴とする請求項1に記載の受信装置。
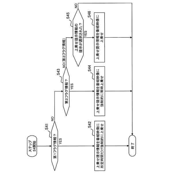
【請求項5】
前記フラグ情報は、前記上乗せ提示情報を前記所定時間だけ強制的に提示することを示す第1フラグ情報であり、
前記再生手段は、前記番組の映像の再生が選択された際に前記第1フラグ情報が前記保持手段に保持されている場合、前記上乗せ提示情報を前記番組の映像に前記所定時間だけ且つ所定回数だけ強制的に上乗せする
ことを特徴とする請求項1乃至4のいずれか1項に記載の受信装置。
【請求項6】
前記受信手段は、前記所定時間を指定する情報をさらに含む前記放送信号を受信し、
前記再生手段は、前記番組の映像の再生が選択された際に前記第1フラグ情報が前記保持手段に保持されている場合、前記上乗せ提示情報を前記番組の映像に前記指定された時間だけ且つ前記所定回数だけ強制的に上乗せする
ことを特徴とする請求項5に記載の受信装置。
【請求項7】
前記上乗せ提示情報を繰り返し提示する場合、前記所定時間を指定する情報は、前記上乗せ提示情報の1回当たりの提示時間、前記上乗せ提示情報の提示時間間隔、及び前記所定回数のうち、少なくとも1つを指定する情報を含む
ことを特徴とする請求項6に記載の受信装置。
【請求項8】
前記フラグ情報は、前記上乗せ提示情報を強制的に常時提示することを示す第2フラグ情報であり、
前記再生手段は、前記番組の映像の再生が選択された際に前記第2フラグ情報が前記保持手段に保持されている場合、前記上乗せ提示情報を前記番組の映像に強制的に常時上乗せする
ことを特徴とする請求項1乃至4のいずれか1項に記載の受信装置。
【請求項9】
前記フラグ情報は、前記上乗せ提示情報を任意に提示することを示す第3フラグ情報であり、
前記再生手段は、前記番組の映像の再生が選択された際に前記第3フラグ情報が前記保持手段に保持されており、且つ、前記上乗せ提示情報の提示が視聴者により選択された場合、前記上乗せ提示情報を前記番組の映像に上乗せする
ことを特徴とする請求項1乃至4のいずれか1項に記載の受信装置。
【請求項10】
前記再生手段は、
前記番組の映像の再生が選択された際に前記第3フラグ情報が前記保持手段に保持されている場合、前記上乗せ提示情報があることを示す通知情報を視聴者に提示し、
前記通知情報に基づき前記上乗せ提示情報の提示が視聴者により選択された場合、前記上乗せ提示情報を前記番組の映像に上乗せする
ことを特徴とする請求項9に記載の受信装置。
(【請求項11】以降は省略されています)
発明の詳細な説明
【技術分野】
【0001】
本発明は、放送システムで用いる受信装置及び送出装置に関する。
続きを表示(約 1,800 文字)
【背景技術】
【0002】
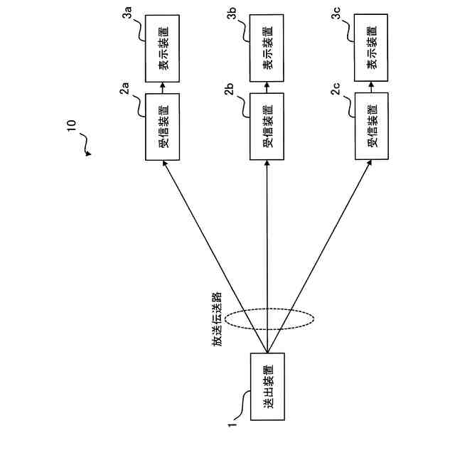
テレビ放送等の放送サービスにおいては、放送終了の時間が流動的な番組、例えば、過去の番組の再放送時や、スポーツ中継、国会中継等があり、このような番組の放送中又はその後の番組は放送時間が当初の予定から変更される場合がある。また、一部の番組は、放送プログラムを正常化するために放送休止になることもある。
【0003】
そのような場合において、送出側は、放送時間が変更されたことや番組が休止になったことを通知するための上乗せスーパーと呼ばれる(番組編成情報を告知するため編成スーパーとも呼ばれる)字幕を番組映像に上乗せする。このような編成スーパーは、番組放送中に継続して表示させると番組の映像(「番組映像」とも称する)の邪魔になり得るため、例えば番組冒頭において所定時間(数秒から数分)に限定されて上乗せが実施されることが一般的である。番組映像に上乗せされる編成スーパーのような情報を「上乗せ提示情報」と称する。
【0004】
図8は、従来の送出装置100の構成を示す図である。VTR等の映像再生装置から出力された番組映像信号は、上乗せ部101を介して映像符号化部110に入力されて圧縮符号化され、符号化された番組映像の符号化ストリームに音声の符号化ストリーム等が多重化部120で多重化され、多重化により得られた放送信号が送出部130から放送伝送路を介して送出される。上乗せ部101は、上乗せオフの場合は番組映像をそのまま通過させ、上乗せオンの場合は上乗せ提示情報を番組映像に上乗せして出力する。上乗せ部101は常時オンとせずに所定時間だけオンとして、所定時間が経過したらオフすることによって上乗せを停止する。
【先行技術文献】
【特許文献】
【0005】
特開2013-153305号公報
【発明の概要】
【発明が解決しようとする課題】
【0006】
視聴者がある番組の途中から視聴を開始する場合、編成スーパーのような上乗せ提示情報が視聴者の目に触れないことがある。例えば、ある番組を視聴中の視聴者が別の放送チャンネルを選局した場合、当該別の放送チャンネルの番組を途中から視聴することになり得る。しかしながら、番組の途中から視聴を開始した際に当該番組について上乗せ提示情報の提示タイミングが終了していれば、視聴者は当該上乗せ提示情報を把握できない。
【0007】
そこで、本発明は、番組の映像を邪魔することを抑制しつつ、番組の途中から視聴を開始した視聴者に対してより確実に上乗せ提示情報を提示することを可能とする受信装置及び送出装置を提供することを目的とする。
【課題を解決するための手段】
【0008】
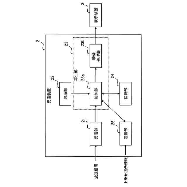
第1の態様に係る受信装置は、番組の映像の符号化ストリームと、上乗せ提示情報を前記番組の映像に上乗せすることを示すフラグ情報とを含む放送信号を受信する受信手段と、前記番組と対応付けて前記フラグ情報を保持する保持手段と、前記番組の映像の再生が視聴者により選択されたことに応じて、前記符号化ストリームから前記番組の映像を再生する再生手段と、を備え、前記再生手段は、視聴者により映像の再生が選択された前記番組と対応する前記フラグ情報が前記保持手段に保持されている場合、前記上乗せ提示情報を前記番組の映像に少なくとも所定時間にわたって上乗せする。
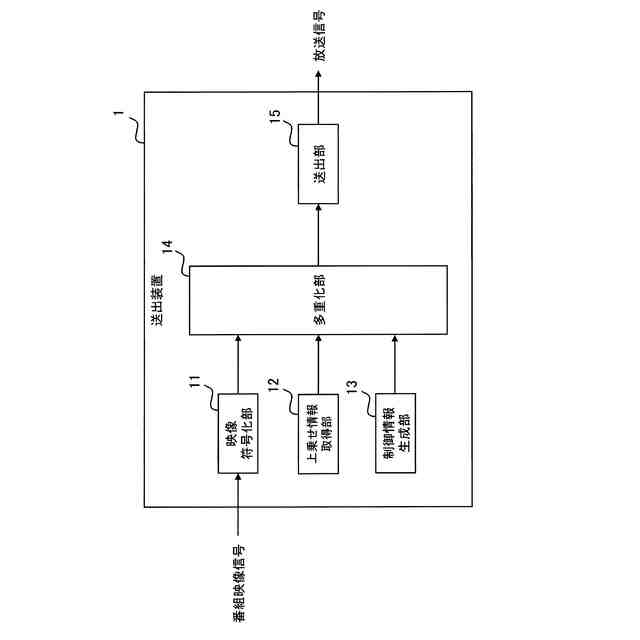
【0009】
第2の態様に係る送出装置は、番組の映像の符号化ストリームと、前記番組の映像に上乗せ提示情報を上乗せすることを示すフラグ情報とを多重化して多重化ストリームを出力する多重化手段と、前記多重化ストリームを含む放送信号を送出する送出手段と、を備え、前記フラグ情報は、受信装置において前記番組と対応付けて保持され、前記受信装置において映像の再生が選択された前記番組と対応する前記フラグ情報が保持されている場合、前記フラグ情報は、前記受信装置に、前記上乗せ提示情報を前記番組映像に少なくとも所定時間にわたって上乗せさせる。
【発明の効果】
【0010】
本発明によれば、番組の映像を邪魔することを抑制しつつ、番組の途中から視聴を開始した視聴者に対してより確実に上乗せ提示情報を提示することを可能とする受信装置及び送出装置を提供できる。
【図面の簡単な説明】
(【0011】以降は省略されています)
この特許をJ-PlatPat(特許庁公式サイト)で参照する
関連特許
日本放送協会
撮像装置
1か月前
日本放送協会
撮像装置
8か月前
日本放送協会
配線構造
4か月前
日本放送協会
収音装置
1か月前
日本放送協会
マイクロホン
6か月前
日本放送協会
アンテナ装置
1か月前
日本放送協会
無線通信装置
6か月前
日本放送協会
光学計測装置
7か月前
日本放送協会
基板固定装置
25日前
日本放送協会
光分布生成装置
1か月前
日本放送協会
磁性細線メモリ
5か月前
日本放送協会
磁性細線デバイス
8か月前
日本放送協会
無線伝送システム
8か月前
日本放送協会
レンズアダプター
11か月前
日本放送協会
広視野角撮像装置
7日前
日本放送協会
広視野角撮像装置
7日前
日本放送協会
映像伝送システム
4か月前
日本放送協会
角度選択フィルター
3か月前
日本放送協会
良撮影位置推定装置
3か月前
日本放送協会
3次元映像表示装置
1か月前
日本放送協会
データ管理システム
8か月前
日本放送協会
3次元映像表示装置
5か月前
日本放送協会
送信装置及び受信装置
25日前
日本放送協会
送信装置及び受信装置
7か月前
日本放送協会
衛星放送受信システム
10か月前
日本放送協会
送信装置及び受信装置
10か月前
日本放送協会
受信装置及び送出装置
9か月前
日本放送協会
送信装置及び受信装置
8か月前
日本放送協会
送信装置及び受信装置
7か月前
日本放送協会
同軸切替器の着脱機構
12か月前
日本放送協会
送信装置及び受信装置
11か月前
日本放送協会
受信装置及びプログラム
3か月前
日本放送協会
受信装置及びプログラム
1か月前
日本放送協会
受信装置及びプログラム
1か月前
日本放送協会
磁壁移動型空間光変調器
9か月前
日本放送協会
受信装置及びプログラム
10か月前
続きを見る
他の特許を見る