TOP
|
特許
|
意匠
|
商標
特許ウォッチ
Twitter
他の特許を見る
公開番号
2025023763
公報種別
公開特許公報(A)
公開日
2025-02-17
出願番号
2023128195
出願日
2023-08-04
発明の名称
送信装置及び受信装置
出願人
日本放送協会
代理人
個人
主分類
H04N
21/231 20110101AFI20250207BHJP(電気通信技術)
要約
【課題】右旋円偏波のみを用いて衛星放送3を介してリアルタイム放送用と蓄積放送用の各放送コンテンツを16APSKにより同時送信可能とする送信装置2、及びその受信装置4を提供する。
【解決手段】本発明の送信装置2は、標準規格ISDB-S3に準拠した衛星放送システム1において、リアルタイム放送TLVとは別に蓄積放送用の放送コンテンツファイルを送出制御信号に従ってパケット分割して蓄積放送の放送信号とする蓄積放送TLVに変換し、放送衛星3における1つの衛星中継器で伝送するよう時分割多重した1系列の合成TLVストリームを形成し、16APSKの変調信号を生成して右旋円偏波のアップリンク信号を生成し、衛星放送信号として送信アンテナ2aを用いて放送衛星3に送信する。本発明の受信装置4は、放送衛星3を介して右旋円偏波の当該衛星放送信号を受信し、リアルタイム放送用と蓄積放送用の各放送コンテンツを同時受信する。
【選択図】図1
特許請求の範囲
【請求項1】
標準規格ISDB-S3に準拠した衛星放送システムにおける12GHz帯衛星放送として右旋円偏波のみを利用して放送衛星を介してリアルタイム放送用の放送コンテンツと、蓄積放送用の放送コンテンツとを同時送信する送信装置であって、
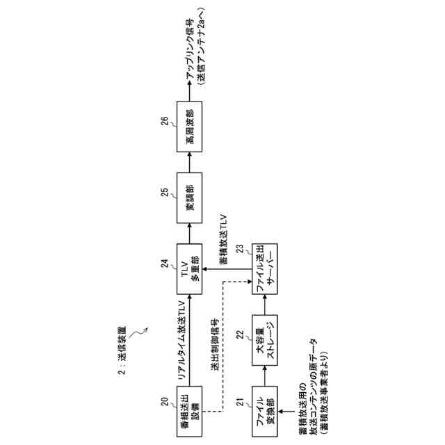
所定チャンネルの第1の放送コンテンツをリアルタイム放送で送信するために、誤り訂正符号化処理を施した第1の放送コンテンツのデータをリアルタイム放送の放送信号とするリアルタイム放送TLVとしてTLV形式のパケットを生成して出力する番組送出設備と、
外部入力された蓄積放送で送信するための第2の放送コンテンツの原データに対し受信装置側で復号可能な圧縮符号化処理を施して、蓄積放送用の放送コンテンツファイルを生成するファイル変換部と、
前記第2の放送コンテンツに関する蓄積放送用の放送コンテンツファイルについて、少なくとも第2の放送コンテンツの全内容を記憶する機能を有する大容量ストレージと、
前記番組送出設備からの蓄積放送を送信制御するための送出制御信号に従って、前記大容量ストレージに保存された第2の放送コンテンツに関する蓄積放送用の放送コンテンツファイルについて所定のファイル配信方式によるパケット分割を行い、誤り訂正符号化処理を施した上で、蓄積放送の放送信号とする蓄積放送TLVとしてTLV形式のパケットに変換して出力するファイル送出サーバーと、
前記第1の放送コンテンツに関するリアルタイム放送TLVと前記第2の放送コンテンツに関する蓄積放送TLVとを入力して、前記放送衛星における1つの衛星中継器で伝送するように、それぞれ1フレームに対しスロット数で二つ以上に分割し割り当て調節した時分割多重により所定スロット数のフレームで構成される1系列の合成TLVストリームを形成するTLV多重部と、
前記TLV多重部から入力される1系列の合成TLVストリームについて16APSKの変調処理を施して変調信号を生成する変調部と、
前記変調信号に対して所定の周波数帯への周波数変換処理及び増幅処理を施して右旋円偏波のアップリンク信号を生成し、衛星放送信号として、所定の送信アンテナを用いて前記放送衛星に送信する高周波部と、
を備えることを特徴とする送信装置。
続きを表示(約 2,500 文字)
【請求項2】
前記TLV多重部は、リアルタイム放送TLV用の特定のチャンネル領域として割り当て可能とするスロットを、前記蓄積放送TLVの伝送領域として置き換えることで前記1系列の合成TLVストリームを形成することを特徴とする、請求項1に記載の送信装置。
【請求項3】
請求項1に記載の送信装置から、前記衛星放送システムにおける12GHz帯衛星放送として右旋円偏波のみを利用して前記放送衛星を介して同時送信されたリアルタイム放送用の放送コンテンツと、蓄積放送用の放送コンテンツとを含む前記1系列の合成TLVストリームを含む衛星放送信号を受信する受信装置であって、
ユーザーが指定する放送コンテンツを含む1つ以上の合成TLVストリームを選択し視聴動作を指定するTLVストリーム選択信号に基づいて、前記放送衛星を介して伝送された前記衛星放送信号について中間周波数帯域に周波数変換が施されたIF帯衛星放送信号から、リアルタイム放送TLVと蓄積放送TLVの双方を含む前記1系列の合成TLVストリームを選択し、前記1系列の合成TLVストリームにおけるリアルタイム放送TLVと蓄積放送TLVとを誤り訂正復号処理を施した上で分離して出力するTLVストリーム選択部と、
前記TLVストリーム選択部から逐次出力される蓄積放送TLVを蓄積し、前記所定のファイル配信方式によるパケット分割の逆処理を行いながら、第2の放送コンテンツに関する蓄積放送用の放送コンテンツファイルを復元して保存する蓄積サーバーと、
前記蓄積サーバーから蓄積放送用の放送コンテンツファイルをMMT形式の放送コンテンツデータとして読み出して再構成される蓄積放送TLVと前記TLVストリーム選択部から逐次出力されるリアルタイム放送録画TLVのいずれか一方又は双方を保存するストレージと、
ユーザーが指定する放送コンテンツを視聴要求として選択指定する放送選択信号に応じて、リアルタイム放送TLV、リアルタイム放送録画TLV、及び蓄積放送TLVのうちいずれかで受信したデータを選択し、映像及び音声の圧縮符号化信号に分離して出力するMMT分離部と、
前記放送選択信号の出力と同期して、ユーザーが指定する放送コンテンツの視聴要求として、前記ストレージに保存したリアルタイム放送録画TLVについてユーザーの選択による再生により視聴する旨を示す再生信号を受け付けたときは、前記ストレージに保存したリアルタイム放送録画TLVのデータを読み出して前記MMT分離部に出力し、前記放送選択信号の出力と同期して、ユーザーが指定する放送コンテンツの視聴要求として、前記蓄積サーバーから読み出して前記ストレージに保存した蓄積放送TLVについてユーザーの選択による再生又は所定の番組配列情報に基づく時刻制御による再生により視聴する旨を示す再生信号を受け付けたときは、前記蓄積サーバーから蓄積放送用の放送コンテンツファイルをMMT形式の放送コンテンツデータとして読み出して蓄積放送TLVを再構成して前記ストレージに保存し、前記ストレージに保存した蓄積放送TLVについてユーザーの選択による再生又は所定の番組配列情報に基づく時刻制御による再生を行うようにMMT形式の放送コンテンツデータを格納した蓄積放送TLVを読み出してMMT分離部に出力するよう制御する読み出し制御部と、
前記MMT分離部から出力された映像の圧縮符号化信号を再生可能に復号して所定の再生機器に出力する映像デコーダと、
前記MMT分離部から出力された音声の圧縮符号化信号を再生可能に復号して所定の再生機器に出力する音声デコーダと、
ユーザー操作に基づいて、ユーザーが指定する放送コンテンツの視聴要求に対応する信号として、前記TLVストリーム選択信号、前記放送選択信号、及び前記再生信号を送出する操作部と、
を備えることを特徴とする受信装置。
【請求項4】
前記TLVストリーム選択部は、N(Nは1以上の整数)組のチューナー部、復調部及びTLV分離部を備え、Nに応じた数の合成TLVストリームを受信可能とし、
N(Nは1以上の整数)組のうち少なくとも1つのチューナー部は、前記TLVストリーム選択信号に基づいて、対応する周波数選択を行い、前記1系列の合成TLVストリームの16APSKの変調信号を抽出する機能を有し、
該チューナー部の出力を入力する復調部は、前記1系列の合成TLVストリームの変調信号に対し16APSKの復調処理を施して当該リアルタイム放送TLVと当該蓄積放送TLVとを抽出し、それぞれのTLVパケットのペイロード部分に格納されたデータに対して誤り訂正復号処理を施したリアルタイム放送TLVと蓄積放送TLVとを生成する機能を有し、
該復調部の出力を入力するTLV分離部は、リアルタイム放送TLVと蓄積放送TLVとを判別して分離し、蓄積放送TLVについては前記蓄積サーバーへ、リアルタイム放送TLVについては前記MMT分離部へ、リアルタイム放送TLVについてリアルタイムに視聴せずに録画するときはリアルタイム放送録画TLVとして蓄積放送TLVとは区別して前記ストレージへ出力する機能を有することを特徴とする、請求項3に記載の受信装置。
【請求項5】
前記TLVストリーム選択部は、前記TLVストリーム選択信号に基づいて、前記IF帯衛星放送信号から、前記1系列の合成TLVストリームとともに、別系列の合成TLVストリームを選択し、該別系列の合成TLVストリームに係るチャンネルのリアルタイム放送用の放送コンテンツを受信しリアルタイムで視聴可能としながら、前記1系列の合成TLVストリームの同時受信を行うために、N>1としたN系列の合成TLVストリームを受信可能とするN(N>1)組のチューナー部、復調部及びTLV分離部を備えることを特徴とする、請求項4に記載の受信装置。
発明の詳細な説明
【技術分野】
【0001】
本発明は、衛星放送を介してリアルタイム放送用の放送コンテンツと、蓄積放送用の放送コンテンツとを同時送信可能とする送信装置、及びその受信装置に関するものである。
続きを表示(約 1,500 文字)
【背景技術】
【0002】
西暦2000年からデジタル化して開始されている現行の衛星放送は12GHz帯の電波を用いており、その12GHz帯の衛星放送信号は衛星放送用の受信アンテナを介して受信された後、同軸ケーブルを用いて宅内配信システムへと送出し受信装置まで伝送される。そして、安定した受信伝送のために、衛星放送用の受信アンテナに対してコンバータ(LNB:Low noise block converter)が設けられ、衛星放送信号の放送用周波数を中間周波数(IF)帯域に周波数変換するようになっている。
【0003】
また、東経110度静止軌道上から送信される衛星放送は、現状、BSデジタル放送(以下、「BS」と略す。)と広帯域CSデジタル放送(以下、「CS」と略す。)がある。
【0004】
衛星放送サービスの沿革について概略説明するに、従来の衛星放送サービス(BS/CS)は、11.70~12.75GHz(12GHz帯)の電波を用いており、従来の偏波は右旋円偏波(以下、「右旋」とも略す。)のみが使われていた。
【0005】
そして、西暦2018年に、超高精細映像と22.2マルチチャンネルの立体音響から成るスーパーハイビジョン(4K・8K)の放送コンテンツを伝送可能とする衛星放送サービス(以下、「新4K8K衛星放送」と略す。)が、世界に先駆けて日本で開始された。この新4K8K衛星放送では、左旋円偏波(以下、「左旋」とも略す。)の利用も始まった。右旋と左旋は直交関係にあるため、左旋は、右旋と同じ周波数で別の放送コンテンツを送信することができ、周波数の有効利用が可能となる。
【0006】
新4K8K衛星放送では、新しい衛星伝送方式のISDB-S3が採用された。ISDB-S3はARIB標準規格STD-B44で規定されており、実用形態では変調方式に16APSK(Amplitude Phase Shift Keying)を用いることで、1衛星中継器の伝送容量は100Mbpsに拡大した。
【0007】
これらの衛星放送サービスでは、1つの衛星中継器をスロットと呼ばれる単位で時分割多重した1系列の合成TLVストリームにより、同時に複数の放送コンテンツを放送することができる。ISDB-S3では、仕様上、1衛星中継器を用いて伝送する1系列の合成TLVストリームとして、1フレームあたり120スロットに分割し、5スロット単位で複数の放送コンテンツを割り当てることができるようになっている。
【0008】
ただし、新4K8K衛星放送のうち8K衛星放送では、左旋用の衛星中継器を1つ占有しており、即ち120スロットを使用しており、その伝送容量は100Mbpsである。
【0009】
一方、新4K8K衛星放送のうち4K衛星放送では、1つの衛星中継器で複数の放送コンテンツが同時に提供され、1放送コンテンツは40スロットを使用しており、即ち、1つの衛星中継器で4K衛星放送として同時に最大3つの放送コンテンツを伝送可能としている。尚、4K衛星放送は右旋と左旋で行われている。
【0010】
ところで、これらの衛星放送サービスは、12GHz帯を用いるため同軸ケーブルの減衰が大きく、そのままの周波数で宅内に伝送することは難しい。このため、衛星放送用の受信アンテナのコンバータで中間周波数(IF)に変換しており、ARIB標準規格STD-B63にて望ましいとされるIF帯域が示されている(例えば、非特許文献1参照)。
(【0011】以降は省略されています)
この特許をJ-PlatPat(特許庁公式サイト)で参照する
関連特許
日本放送協会
撮像装置
1か月前
日本放送協会
撮像装置
8か月前
日本放送協会
配線構造
4か月前
日本放送協会
収音装置
1か月前
日本放送協会
マイクロホン
6か月前
日本放送協会
アンテナ装置
1か月前
日本放送協会
無線通信装置
6か月前
日本放送協会
光学計測装置
7か月前
日本放送協会
基板固定装置
23日前
日本放送協会
光分布生成装置
1か月前
日本放送協会
磁性細線メモリ
5か月前
日本放送協会
磁性細線デバイス
8か月前
日本放送協会
無線伝送システム
8か月前
日本放送協会
レンズアダプター
11か月前
日本放送協会
広視野角撮像装置
5日前
日本放送協会
広視野角撮像装置
5日前
日本放送協会
映像伝送システム
4か月前
日本放送協会
角度選択フィルター
3か月前
日本放送協会
良撮影位置推定装置
3か月前
日本放送協会
3次元映像表示装置
1か月前
日本放送協会
データ管理システム
8か月前
日本放送協会
3次元映像表示装置
5か月前
日本放送協会
送信装置及び受信装置
23日前
日本放送協会
送信装置及び受信装置
7か月前
日本放送協会
衛星放送受信システム
10か月前
日本放送協会
送信装置及び受信装置
10か月前
日本放送協会
受信装置及び送出装置
9か月前
日本放送協会
送信装置及び受信装置
8か月前
日本放送協会
送信装置及び受信装置
7か月前
日本放送協会
同軸切替器の着脱機構
12か月前
日本放送協会
送信装置及び受信装置
11か月前
日本放送協会
受信装置及びプログラム
3か月前
日本放送協会
受信装置及びプログラム
1か月前
日本放送協会
受信装置及びプログラム
1か月前
日本放送協会
磁壁移動型空間光変調器
9か月前
日本放送協会
受信装置及びプログラム
10か月前
続きを見る
他の特許を見る