TOP
|
特許
|
意匠
|
商標
特許ウォッチ
Twitter
他の特許を見る
公開番号
2025006334
公報種別
公開特許公報(A)
公開日
2025-01-17
出願番号
2023107060
出願日
2023-06-29
発明の名称
撮像装置
出願人
日本放送協会
代理人
個人
,
個人
,
個人
,
個人
主分類
G03H
1/06 20060101AFI20250109BHJP(写真;映画;光波以外の波を使用する類似技術;電子写真;ホログラフイ)
要約
【課題】偏光板と波長板を起因とする干渉縞に重畳するノイズを低減して、位相の異なる干渉縞を同時に取得することができる撮像装置を提供する。
【解決手段】撮像装置は、インコヒーレントな光波を複数に分岐する複数のビームスプリッタと、分岐したそれぞれの光波を自己干渉させる複数の干渉計と、前記干渉計で生成した干渉縞を取得する複数のカメラとを備え、それぞれの干渉計で互いに位相の異なる干渉縞を生成することで、位相の異なる複数の干渉縞を同時に取得することを特徴とする。
【選択図】図1
特許請求の範囲
【請求項1】
インコヒーレントな光波を複数に分岐する複数のビームスプリッタと、分岐したそれぞれの光波を自己干渉させる複数の干渉計と、前記干渉計で生成した干渉縞を取得する複数のカメラとを備え、
それぞれの干渉計で互いに位相の異なる干渉縞を生成することで、位相の異なる複数の干渉縞を同時に取得することを特徴とする、撮像装置。
続きを表示(約 490 文字)
【請求項2】
請求項1に記載の撮像装置において、
前記干渉計は、ビームスプリッタと、互いに曲率の異なる2つのミラーとを備えることを特徴とする、撮像装置。
【請求項3】
請求項2に記載の撮像装置において、
前記干渉計は、マイケルソン干渉計であることを特徴とする、撮像装置。
【請求項4】
請求項1に記載の撮像装置において、
入射光を1:1に分岐する3つのビームスプリッタを用いて物体光を4つに分岐し、位相の異なる4つの干渉縞を同時に取得することを特徴とする、撮像装置。
【請求項5】
請求項1に記載の撮像装置において、
入射光を2:1に分岐するビームスプリッタと入射光を1:1に分岐するビームスプリッタを用いて物体光を3つに分岐し、位相の異なる3つの干渉縞を同時に取得することを特徴とする、撮像装置。
【請求項6】
請求項1乃至5のいずれか一項に記載の撮像装置において、
取得した複数の干渉縞から複素振幅分布を求め、被写体の3次元情報を取得することを特徴とする、撮像装置。
発明の詳細な説明
【技術分野】
【0001】
本発明は撮像装置に関し、特に、インコヒーレントデジタルホログラフィに用いる撮像装置に関する。
続きを表示(約 3,100 文字)
【背景技術】
【0002】
インコヒーレントデジタルホログラフィは、太陽光や一般的な屋内の照明光、蛍光などの空間的なコヒーレンスが低い光源で物体のホログラムを撮像でき、自然光環境下での立体撮像を実現可能とする技術である。インコヒーレントデジタルホログラフィでは、次の手順で、物体の3次元情報を再構成することができる。まず、被写体からの光(物体光)を2つの光に分離して、一方の光路に凹面ミラーやレンズを設けてわずかに光路差を生じさせる。再度これらの光を合成して干渉させることで、被写体を干渉縞として撮影する。異なる位相の干渉縞画像を複数枚取得して、位相シフト法等を用いて計算することで、撮像素子面における被写体の複素振幅分布が得られる。この複素振幅分布から光の逆伝搬計算をすることにより、任意の奥行き距離の2次元画像(すなわち、3次元情報)を得ることができる。
【0003】
図5は、マイケルソン干渉計を用いた撮像装置の光学系の例である。被写体からの物体光は、レンズ1と波長フィルタ2を透過後、ビームスプリッタ(BS)3で2つの光に分岐される。一方の物体光は平面ミラー4で、他方の物体光は凹面ミラー5で反射され、それぞれの光が再度ビームスプリッタ3で合成されることで、干渉縞が生成される。これをカメラ20で撮影することにより干渉縞画像を取得することができる。異なる位相の干渉縞を取得する場合、ピエゾアクチュエータ6で平面ミラー4の位置を光軸方向に変える。この操作を複数回行うことにより、異なる位相の干渉縞画像が、複数枚取得できる。
【0004】
しかし、この光学系では、平面ミラー4の光軸方向位置を時間で変えるため、動画像を撮影することが困難である。動画像を撮影するためには、これらの異なる位相の干渉縞画像を同時に取得する必要がある。その方法として、偏光を用いて異なる位相の干渉縞を同時に生成して取得する方法が提案されている。
【0005】
図6は、複数の干渉縞画像を同時に取得する撮像装置の第1の例である。この撮像装置の光学系は、レンズ1、波長フィルタ2、偏光板7、複屈折レンズ8、1/4波長板9、及び偏光カメラ21を備えている。被写体からの物体光は、レンズ1と波長フィルタ2を通り、偏光板7で任意の方向の直線偏光成分のみとなる。直線偏光となった物体光は、この偏光方向から±45°となる偏光方向に対して異なる焦点距離を有する複屈折レンズ8に入射する。複屈折レンズ8を透過した物体光は、1/4波長板9を透過し、右回りと左回りの2つの円偏光になる。これを各画素に45°おきに偏光板が設けられた偏光カメラ21(4種類の偏光方向の画素を有する)で撮影する。同じ偏光方向の画素の信号を集めることで、各偏光方向(各位相)の画像を生成することができ、異なる位相の干渉縞画像を同時に取得することができる。これらの干渉縞画像から光の逆伝搬計算をすることにより、任意の奥行き距離の再構成画像が得られる。この光学系により、フレームレート25fpsの動画が取得できたことが報告されている(非特許文献1)。
【0006】
図7は、複数の干渉縞画像を同時に取得する撮像装置の第2の例である。この撮像装置の光学系は、図6の複屈折レンズ8の代わりにビームスプリッタ(BS)3と反射型液晶パネル10、偏光カメラ21の代わりに回折格子11、偏光板アレイ12、及びカメラ20が用いられる。被写体からの物体光は、レンズ1、波長フィルタ2、及び偏光板7を透過後、ビームスプリッタ3を介して反射型液晶パネル10に、例えば45°の偏光方向で入射する。反射型液晶パネル10は、入射した物体光の水平方向と垂直方向の偏光成分に対し、一方の偏光方向に平面の位相分布を、他方の偏光方向に球面の位相分布を付与する。反射型液晶パネル10とビームスプリッタ3で反射した物体光は、1/4波長板9を透過する。その後、物体光は回折格子11で4方向に分岐し、これを45°おきの偏光方向を有する4つの偏光板が設けられた偏光板アレイ12を通してカメラ20で撮影することにより、異なる位相の干渉縞画像が同時に取得できる。この光学系により、フレームレート1fpsで連続撮影が可能である(特許文献1)。
【0007】
図8は、複数の干渉縞画像を同時に取得する撮像装置の第3の例である。この撮像装置の光学系は、図6の複屈折レンズ8の代わりに、偏光ビームスプリッタ(PBS)13、1/4波長板9、平面ミラー4、及び凹面ミラー5を用いたマイケルソン干渉計が用いられる。被写体からの物体光は、レンズ1、波長フィルタ2、及び偏光板7を透過後、PBS13に入射する。物体光のp偏光成分はPBS13を透過し、1/4波長板9で円偏光になり、ミラー4で反射する。反射光は再度1/4波長板9を通ることでs偏光になり、PBS13で反射する。物体光のs偏光成分はPBS13で反射し、1/4波長板9で円偏光になり、凹面ミラー5で反射する。反射光は再度1/4波長板9を通ることでp偏光になり、PBS13を透過する。PBS13を出た物体光は、さらに1/4波長板9で右回り、左回りの円偏光になる。これを各画素に45°おきに偏光板が設けられた偏光カメラ21で撮影する。同じ偏光方向の画素の信号を集めることで、各偏光方向で画像を生成することができ、異なる位相の干渉縞画像を同時に取得することができる。この光学系により、フレームレート60fpsの動画が取得できる(特許文献2)。
【0008】
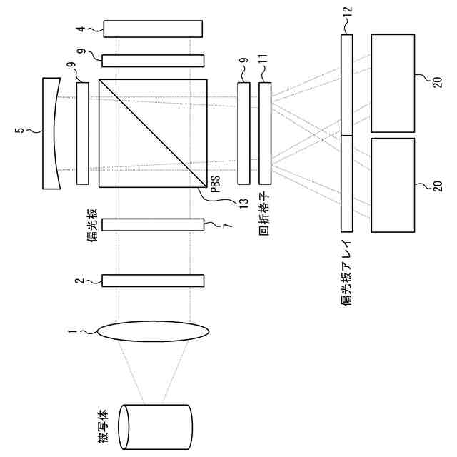
図9は、複数の干渉縞画像を同時に取得する撮像装置の第4の例である。この撮像装置の光学系は、図8の偏光カメラ21の代わりに、回折格子11、偏光板アレイ12、及びカメラ20が用いられる。被写体からの物体光は、レンズ1、波長フィルタ2、及び偏光板7を透過後、偏光ビームスプリッタ(PBS)13に入射する。物体光のp偏光成分はPBS13を透過し、1/4波長板9で円偏光になり、ミラー4で反射する。反射光は再度1/4波長板9を通ることでs偏光になり、PBS13で反射する。物体光のs偏光成分はPBS13で反射し、1/4波長板9で円偏光になり、凹面ミラー5で反射する。反射光は再度1/4波長板9を通ることでp偏光になり、PBS13を透過する。これらの物体光は、さらに1/4波長板9で右回り、左回りの円偏光になる。その後、回折格子11で4方向に分岐し、これを45°おきに偏光板が設けられた偏光板アレイ12を通してカメラ20で撮影することにより、異なる位相の干渉縞画像を同時に取得することができる(特許文献2)。
【先行技術文献】
【特許文献】
【0009】
特開2021-131457号公報
特開2023-77325号公報
【非特許文献】
【0010】
KiHong Choi, et al., “Compact self-interference incoherent digital holographic camera system with real-time operation,” Optics Express, (2019), Vol. 27, No. 4, pp. 4818-4833
【発明の概要】
【発明が解決しようとする課題】
(【0011】以降は省略されています)
この特許をJ-PlatPat(特許庁公式サイト)で参照する
関連特許
日本放送協会
撮像装置
8か月前
日本放送協会
撮像装置
1か月前
日本放送協会
収音装置
1か月前
日本放送協会
配線構造
4か月前
日本放送協会
アンテナ装置
1か月前
日本放送協会
光学計測装置
7か月前
日本放送協会
基板固定装置
25日前
日本放送協会
マイクロホン
6か月前
日本放送協会
無線通信装置
6か月前
日本放送協会
光分布生成装置
1か月前
日本放送協会
磁性細線メモリ
5か月前
日本放送協会
広視野角撮像装置
7日前
日本放送協会
レンズアダプター
11か月前
日本放送協会
無線伝送システム
8か月前
日本放送協会
映像伝送システム
4か月前
日本放送協会
広視野角撮像装置
7日前
日本放送協会
磁性細線デバイス
8か月前
日本放送協会
角度選択フィルター
3か月前
日本放送協会
3次元映像表示装置
1か月前
日本放送協会
データ管理システム
8か月前
日本放送協会
3次元映像表示装置
5か月前
日本放送協会
良撮影位置推定装置
3か月前
日本放送協会
衛星放送受信システム
10か月前
日本放送協会
送信装置及び受信装置
10か月前
日本放送協会
受信装置及び送出装置
9か月前
日本放送協会
送信装置及び受信装置
8か月前
日本放送協会
送信装置及び受信装置
7か月前
日本放送協会
送信装置及び受信装置
7か月前
日本放送協会
送信装置及び受信装置
11か月前
日本放送協会
送信装置及び受信装置
25日前
日本放送協会
受信装置及びプログラム
1か月前
日本放送協会
縮小装置及びプログラム
2か月前
日本放送協会
磁壁移動型空間光変調器
9か月前
日本放送協会
端末装置及びプログラム
9か月前
日本放送協会
受信装置及びプログラム
10か月前
日本放送協会
受信装置及びプログラム
3か月前
続きを見る
他の特許を見る