TOP
|
特許
|
意匠
|
商標
特許ウォッチ
Twitter
他の特許を見る
10個以上の画像は省略されています。
公開番号
2025007681
公報種別
公開特許公報(A)
公開日
2025-01-17
出願番号
2023109241
出願日
2023-07-03
発明の名称
送信装置及び受信装置
出願人
日本放送協会
代理人
弁理士法人キュリーズ
主分類
H04J
3/00 20060101AFI20250109BHJP(電気通信技術)
要約
【課題】 本線系の伝送フレーム(送信信号)及び予備系の伝送フレーム(送信信号)をシームレスに切り替えることを可能とする送信装置及び受信装置を提供する。
【解決手段】 送信装置は、第1送信処理部と、第2送信処理部と、前記第1送信処理部の出力と前記第2送信処理部の出力とを切り替える送信切替部と、を備え、前記第1送信処理部及び前記第2送信処理部の各々は、前記1以上の放送信号が多重された多重伝送フレームを生成する制御部を備え、前記第1送信処理部の出力及び前記第2送信処理部の出力は、前記第1送信処理部及び前記第2送信処理部に共通する基準タイミングで同期しており、前記基準タイミングは、前記1以上の多重伝送フレームによって構成される特定伝送フレームの開始タイミングであり、前記特定伝送フレームは、前記1以上の放送信号を構成するパケットを分断しないように定義される。
【選択図】図8
特許請求の範囲
【請求項1】
1以上の放送信号が多重された多重伝送フレームを送信する送信装置であって、
第1送信処理部と、
第2送信処理部と、
前記第1送信処理部の出力と前記第2送信処理部の出力とを切り替える送信切替部と、を備え、
前記第1送信処理部及び前記第2送信処理部の各々は、前記1以上の放送信号が多重された多重伝送フレームを生成する制御部を備え、
前記第1送信処理部の出力及び前記第2送信処理部の出力は、前記第1送信処理部及び前記第2送信処理部に共通する基準タイミングで同期しており、
前記基準タイミングは、前記1以上の多重伝送フレームによって構成される特定伝送フレームの開始タイミングであり、
前記特定伝送フレームは、前記1以上の放送信号を構成するパケットを分断しないように定義される、送信装置。
続きを表示(約 1,100 文字)
【請求項2】
前記第1送信処理部及び前記第2送信処理部の各々は、
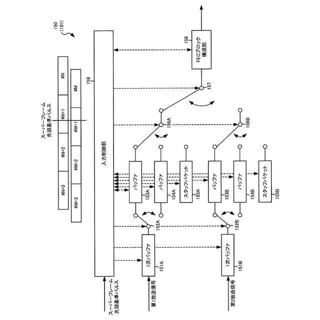
前記基準タイミングにおいて、前記1以上の放送信号を蓄積するバッファを第1バッファと第2バッファとの間で切り替える第1バッファ切替部と、
前記基準タイミングによって定義される切替タイミングにおいて、前記多重伝送フレームの生成に用いる放送信号を出力するバッファを前記第1バッファと前記第2バッファとの間で切り替える第2バッファ切替部と、を備える、請求項1に記載の送信装置。
【請求項3】
前記第2バッファ切替部は、前記切替タイミングが到来した場合であっても、前記第2バッファ切替部によって接続された前記バッファに蓄積された放送信号がなくなるまで、前記バッファの切り替えを保留する、請求項2に記載の送信装置。
【請求項4】
前記第1送信処理部の出力と前記第2送信処理部の出力との切り替えを通知する制御情報を送信する送信部を備える、請求項1に記載の送信装置。
【請求項5】
前記多重伝送フレームが2以上の放送信号が多重された多重伝送フレームである場合に、前記制御部は、前記2以上の放送信号のそれぞれを所定単位で区切るとともに、前記2以上の放送信号のそれぞれのレートの比率に基づいて、前記所定単位で区切られた前記2以上の放送信号が多重された多重伝送フレームを生成し、
前記特定伝送フレームに含まれる前記所定単位の数は、前記2以上の放送信号の多重周期で割り切れる、請求項1に記載の送信装置。
【請求項6】
1以上の放送信号が多重された多重伝送フレームを送信装置から受信する受信装置であって、
前記送信装置の第1送信処理部又は前記送信装置の第2送信処理部によって生成される前記多重伝送フレームを受信する受信部と、
前記多重伝送フレームに関する伝搬路推定を含む復調処理を実行する制御部と、を備え、
前記受信部は、前記第1送信処理部の出力と第2送信処理部の出力との切り替えを通知する制御情報を受信し、
前記制御部は、前記制御情報で通知された切替タイミングの前後のシンボルを跨いだ伝搬路推定を実行せずに、前記制御情報で通知された切替タイミングの前後のシンボルを跨がない伝搬路推定を実行し、
前記第1送信処理部の出力及び前記第2送信処理部の出力は、前記第1送信処理部及び前記第2送信処理部に共通する基準タイミングで同期しており、
前記基準タイミングは、前記1以上の多重伝送フレームによって構成される特定伝送フレームの開始タイミングであり、
前記特定伝送フレームは、前記1以上の放送信号を構成するパケットを分断しないように定義される、受信装置。
発明の詳細な説明
【技術分野】
【0001】
本発明は、送信装置及び受信装置に関する。
続きを表示(約 1,600 文字)
【背景技術】
【0002】
第1装置(例えば、放送局の演奏所又は送信所)から第2装置(例えば、送信所)に対して、主信号及びSC(Service Channel)信号が多重された伝送フレームに関する伝送方式が規定されている。主信号は、地上デジタルテレビジョン放送及びV-Low地上マルチメディア放送に関する第1放送信号(例えば、TS(Transport Stream)信号、TMCC(Transmission and Multiplexing. Configuration Control)信号などを含む。このような伝送方式において、第1装置と第2装置との間のリンクは、STL(Studio to Transmitter Link)又はTTL(Transmitter to Transmitter Link)と称される(例えば、非特許文献1)。
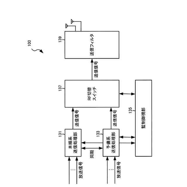
【0003】
現行のSTL/TTLでは、装置の故障に伴う回線断を抑制するために、本線系の伝送フレーム(送信信号)及び予備系の伝送フレーム(送信信号)をシームレスに切り替えて送信する冗長構成が採用されている(例えば、特許文献1)。
【先行技術文献】
【非特許文献】
【0004】
「地上デジタル放送用デジタルSTL/TTL伝送方式」 標準規格 ARIB STD-B22 2.1版
【特許文献】
【0005】
特開2005-286674号公報
【発明の概要】
【発明が解決しようとする課題】
【0006】
現行のSTL/TTLでは、放送信号である放送TSのパケット長、レートが一定であり、これに同期したシングルキャリア方式であったため、シームレス切替のために本線系と予備系とで同一の送信信号を生成することが比較的容易であった。
【0007】
一方で、STL/TTLの高度化(高度化STL/TTL)によって、地上放送高度化方式に関するIP信号形式の放送信号を伝送することが検討されている。高度化STL/TTLでは、放送信号であるIP信号のパケット長、レートが一定とは限らず、送信信号を蓄積してブロック的に処理を行うOFDM方式が想定されているため、シームレス切替のために本線系と予備系で同一の送信信号を生成することが容易ではない。
【0008】
このような背景下において、発明者等は、鋭意検討の結果、高度化STL/TTLにおいても本線系の伝送フレーム(送信信号)及び予備系の伝送フレーム(送信信号)をシームレスに切り替える必要性を見出した。
【0009】
そこで、本発明は、上述した課題を解決するためになされたものであり、本線系の伝送フレーム(送信信号)及び予備系の伝送フレーム(送信信号)をシームレスに切り替えることを可能とする送信装置及び受信装置を提供することを目的とする。
【課題を解決するための手段】
【0010】
開示の一態様は、1以上の放送信号が多重された多重伝送フレームを送信する送信装置であって、第1送信処理部と、第2送信処理部と、前記第1送信処理部の出力と前記第2送信処理部の出力とを切り替える送信切替部と、を備え、前記第1送信処理部及び前記第2送信処理部の各々は、前記1以上の放送信号が多重された多重伝送フレームを生成する制御部を備え、前記第1送信処理部の出力及び前記第2送信処理部の出力は、前記第1送信処理部及び前記第2送信処理部に共通する基準タイミングで同期しており、前記基準タイミングは、前記1以上の多重伝送フレームによって構成される特定伝送フレームの開始タイミングであり、前記特定伝送フレームは、前記1以上の放送信号を構成するパケットを分断しないように定義される、送信装置である。
(【0011】以降は省略されています)
この特許をJ-PlatPat(特許庁公式サイト)で参照する
関連特許
日本放送協会
配線構造
4か月前
日本放送協会
撮像装置
8か月前
日本放送協会
撮像装置
1か月前
日本放送協会
収音装置
1か月前
日本放送協会
光学計測装置
6か月前
日本放送協会
マイクロホン
6か月前
日本放送協会
基板固定装置
21日前
日本放送協会
無線通信装置
6か月前
日本放送協会
アンテナ装置
1か月前
日本放送協会
光分布生成装置
1か月前
日本放送協会
磁性細線メモリ
5か月前
日本放送協会
レンズアダプター
10か月前
日本放送協会
映像伝送システム
4か月前
日本放送協会
広視野角撮像装置
3日前
日本放送協会
無線伝送システム
8か月前
日本放送協会
磁性細線デバイス
8か月前
日本放送協会
広視野角撮像装置
3日前
日本放送協会
3次元映像表示装置
5か月前
日本放送協会
データ管理システム
8か月前
日本放送協会
3次元映像表示装置
1か月前
日本放送協会
良撮影位置推定装置
3か月前
日本放送協会
角度選択フィルター
3か月前
日本放送協会
受信装置及び送出装置
9か月前
日本放送協会
衛星放送受信システム
10か月前
日本放送協会
送信装置及び受信装置
11か月前
日本放送協会
送信装置及び受信装置
7か月前
日本放送協会
同軸切替器の着脱機構
12か月前
日本放送協会
送信装置及び受信装置
7か月前
日本放送協会
送信装置及び受信装置
21日前
日本放送協会
送信装置及び受信装置
10か月前
日本放送協会
送信装置及び受信装置
8か月前
日本放送協会
受信装置及びプログラム
1か月前
日本放送協会
端末装置及びプログラム
9か月前
日本放送協会
受信装置及びプログラム
10か月前
日本放送協会
磁壁移動型空間光変調器
9か月前
日本放送協会
縮小装置及びプログラム
2か月前
続きを見る
他の特許を見る