TOP
|
特許
|
意匠
|
商標
特許ウォッチ
Twitter
他の特許を見る
公開番号
2025004990
公報種別
公開特許公報(A)
公開日
2025-01-16
出願番号
2023104942
出願日
2023-06-27
発明の名称
仕切り装置
出願人
公立大学法人札幌市立大学
代理人
弁理士法人ATEN
主分類
E04B
2/74 20060101AFI20250108BHJP(建築物)
要約
【課題】仕切られた空間の一方側を他方側から視覚的にある程度遮断しつつ、両空間の間の採光を確保する。
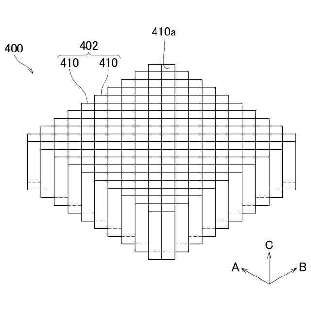
【解決手段】仕切り装置100は、格子状に並んだ複数の単位ユニット110によって構成された仕切り壁102を有している。単位ユニット110は、三角錐台の形状を有しており、三角錐台の高さ方向に沿って仕切り壁102を貫通した貫通孔110aを規定している。複数の単位ユニット110は、鉛直方向及び水平方向のそれぞれに関して分布している。これにより、複数の貫通孔110aが鉛直方向及び水平方向のそれぞれに関して分布している。各貫通孔110aの内表面は鏡面を形成している。
【選択図】図1
特許請求の範囲
【請求項1】
光が通過可能な貫通孔が鉛直方向と交差する交差方向に沿って貫通した壁部を備えており、
鉛直方向及び水平方向のそれぞれに関して複数の前記貫通孔が分布しており、
前記複数の貫通孔のそれぞれにおける内表面の少なくとも一部が鏡面であることを特徴とする仕切り装置。
続きを表示(約 370 文字)
【請求項2】
前記壁部が、前記複数の貫通孔のそれぞれを規定する管構造を形成する板部を有していることを特徴とする請求項1に記載の仕切り装置。
【請求項3】
前記複数の貫通孔の少なくともいずれかの鏡面が前記交差方向に対して傾斜していることを特徴とする請求項1又は2に記載の仕切り装置。
【請求項4】
前記貫通孔の形状が、高さ方向が前記交差方向に沿った円錐台状又は角錐台状であることを特徴とする請求項3に記載の仕切り装置。
【請求項5】
前記複数の貫通孔の少なくともいずれかの鏡面が曲面であることを特徴とする請求項1又は2に記載の仕切り装置。
【請求項6】
前記貫通孔の形状が、高さ方向が前記交差方向に沿った円錐台状又は円柱状であることを特徴とする請求項5に記載の仕切り装置。
発明の詳細な説明
【技術分野】
【0001】
本発明は、空間を仕切る仕切り装置に関する。
続きを表示(約 1,000 文字)
【背景技術】
【0002】
従来、屋内・屋外を問わず、空間を仕切るための仕切り装置が用いられる。特許文献1の装置はその一例である。
【先行技術文献】
【特許文献】
【0003】
特開2023-55950号公報
【発明の概要】
【発明が解決しようとする課題】
【0004】
空間を仕切る機能のみならず、仕切られた空間の一方側を他方側から視覚的に遮断する機能が仕切り装置に求められることがある。このような場合、一般的には、光を遮断することで視覚的な遮断が確保される。つまり、視覚的な遮断のために採光が犠牲となることが多い。
【0005】
本発明の目的は、仕切られた空間の一方側を他方側から視覚的にある程度遮断しつつ、両空間の間の採光を確保した仕切り装置を提供することにある。
【課題を解決するための手段】
【0006】
本発明の仕切り装置は、光が通過可能な貫通孔が鉛直方向と交差する交差方向に沿って貫通した壁部を備えており、鉛直方向及び水平方向のそれぞれに関して複数の前記貫通孔が分布しており、前記複数の貫通孔のそれぞれにおける内表面の少なくとも一部が鏡面である。
【0007】
本発明によると、光が通過可能な複数の貫通孔により採光が確保されている。一方で、当該装置の一方側をこれら複数の貫通孔を通じて他方側から見た光景が、各貫通孔の内表面の鏡面により乱雑化する。このため、仕切られた空間の一方側を他方側から視覚的にある程度遮断することができる。
【0008】
また、本発明においては、前記壁部が、前記複数の貫通孔のそれぞれを規定する管構造を形成する複数の板部を有していることが好ましい。これによると、本発明の仕切り装置が簡易な構造で実現する。
【0009】
また、本発明においては、前記複数の貫通孔の少なくともいずれかの鏡面が前記交差方向に対して傾斜していることが好ましい。これによると、貫通孔の鏡面が傾斜していることでその鏡面による光景の乱雑化の程度が高くなる。よって、視覚的な遮断の効果が向上する。
【0010】
また、本発明においては、前記貫通孔の形状が、高さ方向が前記交差方向に沿った円錐台状又は角錐台状であることが好ましい。これによると、貫通孔の形状が円錐台状又は角錐台状であることで貫通孔の内表面が傾斜する。このため、視覚的な遮断の効果が向上する。
(【0011】以降は省略されています)
この特許をJ-PlatPat(特許庁公式サイト)で参照する
関連特許
公立大学法人札幌市立大学
仕切り装置
8か月前
公立大学法人札幌市立大学
化学構造模型
1日前
個人
接合構造
3日前
個人
タッチミー
2日前
個人
屋台
20日前
個人
野良猫ハウス
1か月前
個人
フェンス
1か月前
個人
転落防止用手摺
1か月前
積水樹脂株式会社
柵体
29日前
個人
地下型マンション
3か月前
個人
居住車両用駐車場
1か月前
個人
ベンリナアングル
2日前
ニチハ株式会社
建築板
1か月前
個人
筋交自動設定装置
10日前
個人
壁断熱パネル
4か月前
個人
鋼管結合資材
3か月前
株式会社タナクロ
テント
3か月前
個人
熱抵抗多層断熱建材
1か月前
個人
補強部材
1か月前
個人
柵
2か月前
個人
身体用シェルター
10日前
個人
身体用シェルター
10日前
個人
循環流水式屋根融雪装置
3か月前
成友建設株式会社
建物
1か月前
鹿島建設株式会社
壁体
1か月前
株式会社熊谷組
木質材料
20日前
三協立山株式会社
構造体
3か月前
個人
可搬型供養墓
8日前
インターマン株式会社
天井構造
1か月前
株式会社熊谷組
吊り治具
7日前
株式会社熊谷組
床構成材
今日
三協立山株式会社
構造体
10日前
三協立山株式会社
構造体
4か月前
三協立山株式会社
構造体
10日前
三協立山株式会社
構造体
10日前
三協立山株式会社
構造体
10日前
続きを見る
他の特許を見る