TOP
|
特許
|
意匠
|
商標
特許ウォッチ
Twitter
他の特許を見る
10個以上の画像は省略されています。
公開番号
2025149572
公報種別
公開特許公報(A)
公開日
2025-10-08
出願番号
2024050302
出願日
2024-03-26
発明の名称
化学構造模型
出願人
公立大学法人札幌市立大学
代理人
弁理士法人ATEN
主分類
G09B
23/26 20060101AFI20251001BHJP(教育;暗号方法;表示;広告;シール)
要約
【課題】単位模型同士を密着させた際に単位模型間の位置関係を変えたり、組成が異なる化学構造を表現したりすることが可能な化学構造模型を提供する。
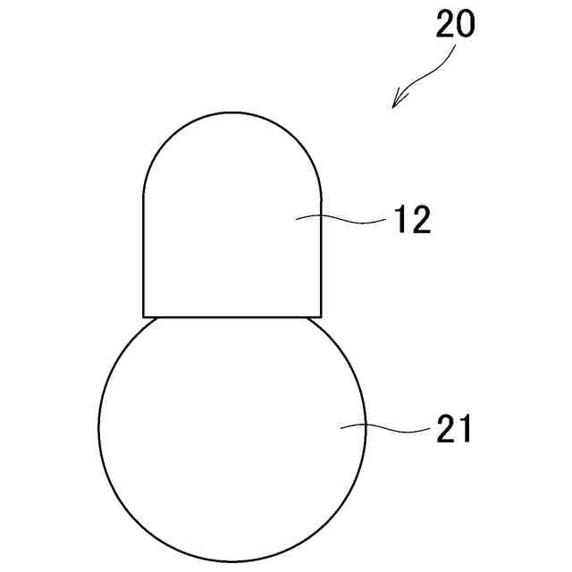
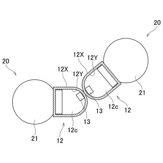
【解決手段】単位模型20は、本体部21、本体部21から突出した突起部12及び磁石3を有している。磁石13は、突起部12内に、空洞12cの範囲内で自由移動可能に収容されている。磁石13は、空洞12c内において並進及び回転のいずれも可能である。一方の単位模型20の突起部12に、他方の単位模型20の突起部12が接近した際に、接近した2つの突起部12に配置された磁石13同士が、互いの空洞12c内で移動しつつ互いに引き寄せ合う。磁石13同士が、突起部12を介して、互いに引き寄せ合うことで、突起部12同士が密着する。化学構造模型は、複数の単位模型を用いて突起部12同士を密着させることで形成される。
【選択図】図5
特許請求の範囲
【請求項1】
複数の原子が結合した化学構造又は1つの原子を模擬した単位模型を複数有し、
前記単位模型のそれぞれが、
本体部と、
前記本体部から突出した1つ以上の突起部と、
前記1つ以上の突起部のそれぞれの内部に配置された磁石とを備えており、
前記1つ以上の突起部のそれぞれの内部に空洞が形成されており、
前記磁石が、前記空洞内において並進及び回転のいずれも可能であり、
前記複数の単位模型のうち2つの前記単位模型同士で前記突起部が接近した際に、接近した2つの前記突起部の前記磁石同士が前記空洞内で移動しつつ互いに引き寄せ合うことで前記2つの突起部同士を密着させることを特徴とする化学構造模型。
続きを表示(約 380 文字)
【請求項2】
前記2つの突起部同士が、前記2つの単位模型の少なくとも一方の重量より大きい力で密着することを特徴とする請求項1に記載の化学構造模型。
【請求項3】
前記2つの単位模型とは異なる前記単位模型の前記突起部である3つ目の前記突起部を前記2つの突起部に接近させても、前記3つ目の突起部が前記2つの突起部に引き寄せられる力の大きさが前記重量を下回ることを特徴とする請求項2に記載の化学構造模型。
【請求項4】
前記突起部の先端面がその突出方向に凸に湾曲しており、
前記磁石が、前記先端面の裏側に形成された前記空洞内で前記先端面に沿って移動可能であり、
前記2つの突起部の前記磁石同士が前記2つの突起部同士をそれぞれの前記先端面において接触するように密着させることを特徴とする請求項1に記載の化学構造模型。
発明の詳細な説明
【技術分野】
【0001】
本発明は、化学構造を示す模型に関する。
続きを表示(約 1,800 文字)
【背景技術】
【0002】
従来、化学構造を表す模型が作製されている。特許文献1はその一例であり、水素原子2つと酸素原子1つとが結合した水分子を一単位とする模型(以下、「単位模型」とする)が複数用いられている。各単位模型の表面には磁石等が固定されており、単位模型同士で磁石等を接近・密着させることで水分子同士の水素結合が表現可能である。
【先行技術文献】
【特許文献】
【0003】
特開2004-325862号公報
【発明の概要】
【発明が解決しようとする課題】
【0004】
特許文献1の模型は、単位模型同士を密着させた際の位置関係が一定である。したがって、単位模型同士が密着した際の位置関係を変えたり、組成が異なる化学構造を表現したりすることが困難である。例えば、水素原子を模擬した単位模型同士を密着させたり、酸素原子を模擬した単位模型と水素原子を模擬した単位模型とを密着させたり等が困難である。
【0005】
本発明の目的は、単位模型同士を密着させた際に単位模型間の位置関係を変えたり、組成が異なる化学構造を表現したりすることが可能な化学構造模型を提供することにある。
【課題を解決するための手段】
【0006】
本発明の化学構造模型は、複数の原子が結合した化学構造又は1つの原子を模擬した単位模型を複数有し、前記単位模型のそれぞれが、本体部と、前記本体部から突出した1つ以上の突起部と、前記1つ以上の突起部のそれぞれの内部に配置された磁石とを備えており、前記1つ以上の突起部のそれぞれの内部に空洞が形成されており、前記磁石が、前記空洞内において並進及び回転のいずれも可能であり、前記複数の単位模型のうち2つの前記単位模型同士で前記突起部が接近した際に、接近した2つの前記突起部の前記磁石同士が前記空洞内で移動しつつ互いに引き寄せ合うことで前記2つの突起部同士を密着させる。
【0007】
本発明によると、突起部の空洞内において磁石が並進及び回転のいずれも可能である。このため、突起部同士を密着させる際に、突起部同士の位置関係を変化させつつこれらを密着させることができる。このため、単位模型同士を密着させた際に単位模型間の位置関係が変わるような表現が可能である。例えば、2つの単位模型同士を密着させる際に、単位模型同士の位置関係を変えつつ互いを密着させる表現が可能である。また、水素原子を模擬した単位模型同士を密着させたり、酸素原子を模擬した単位模型と水素原子を模擬した単位模型とを密着させたりといった、化学構造の組成を変える表現が可能になる。
【0008】
また、本発明においては、前記2つの突起部同士が、前記2つの単位模型の少なくとも一方の重量より大きい力で密着することが好ましい。これによると、2つの突起部同士を密着させた際、一方の突起部に係る単位模型を持ち上げることで他方の単位模型をぶら下げることができる程度に強固に単位模型同士を密着させることができる。
【0009】
また、本発明においては、前記2つの単位模型とは異なる前記単位模型の前記突起部である3つ目の前記突起部を前記2つの突起部に接近させても、前記3つ目の突起部が前記2つの突起部に引き寄せられる力の大きさが前記重量を下回ることが好ましい。これによると、2つの密着した突起部に3つ目の突起部を密着させる力が弱い。つまり、各突起部を結合の手に見立てた場合、2つの手同士が一か所で結合しても3つの手同士が一か所で結合したりはしないという化学結合に関する正しい表現が可能となる。
【0010】
また、本発明においては、前記突起部の先端面がその突出方向に凸に湾曲しており、前記磁石が、前記先端面の裏側に形成された前記空洞内で前記先端面に沿って移動可能であり、前記2つの突起部の前記磁石同士が前記2つの突起部同士をそれぞれの前記先端面において接触するように密着させることが好ましい。これによると、湾曲した先端面同士が接触するように突起部同士が密着する。そして、磁石が先端面の裏側において先端面に沿って移動可能である。このため、密着した突起部間の位置関係を円滑に変更させやすい。
【図面の簡単な説明】
(【0011】以降は省略されています)
この特許をJ-PlatPat(特許庁公式サイト)で参照する
関連特許
公立大学法人札幌市立大学
仕切り装置
8か月前
公立大学法人札幌市立大学
化学構造模型
1日前
個人
回転式カード学習具
1か月前
日本精機株式会社
表示装置
14日前
日本精機株式会社
表示装置
1か月前
個人
時刻表示機能つき手帳
2か月前
個人
計算用教具
10日前
中国電力株式会社
標示旗
20日前
日本精機株式会社
車両用表示装置
2か月前
日本精機株式会社
車両用表示装置
2か月前
日本精機株式会社
車両用表示装置
1か月前
個人
モデルで薔薇の花嫁様を描く為
1か月前
日本精機株式会社
車両用センサ装置
10日前
トヨタ自動車株式会社
評価方法
2か月前
株式会社一弘社
情報表示板
1か月前
シャープ株式会社
表示装置
21日前
個人
音楽教材
1か月前
株式会社ウメラボ
学習支援システム
今日
個人
口唇閉鎖の訓練具
3か月前
株式会社ウメラボ
学習支援システム
6日前
株式会社半導体エネルギー研究所
半導体装置
2か月前
ニチレイマグネット株式会社
磁着式電飾装置
20日前
株式会社リコー
画像投射システム
21日前
株式会社ノジマ
応対体験システム
3か月前
シチズンファインデバイス株式会社
液晶表示装置
29日前
学校法人関西医科大学
腹腔鏡手術訓練装置
20日前
シチズンファインデバイス株式会社
液晶表示装置
1か月前
株式会社サンゲツ
見本帳
1か月前
個人
サインポスト
2か月前
株式会社バンダイ
情報処理装置およびプログラム
3か月前
BEST株式会社
吊り下げ表示部材
1か月前
シャープ株式会社
表示装置
1か月前
シャープ株式会社
表示装置
1か月前
個人
ピアノの指トレーニング器具及び練習方法
2か月前
ニデックインスツルメンツ株式会社
情報処理装置
2か月前
セイコーエプソン株式会社
表示方法
29日前
続きを見る
他の特許を見る