TOP
|
特許
|
意匠
|
商標
特許ウォッチ
Twitter
他の特許を見る
10個以上の画像は省略されています。
公開番号
2025014143
公報種別
公開特許公報(A)
公開日
2025-01-30
出願番号
2023116411
出願日
2023-07-18
発明の名称
給湯器
出願人
株式会社パロマ
代理人
個人
主分類
F24H
9/02 20060101AFI20250123BHJP(加熱;レンジ;換気)
要約
【課題】外部から取り込まれる空気から水分等の異物を取り除きやすく、且つ給湯器内で生じる輻射熱を抑制しやすい技術を提供する。
【解決手段】給湯器1は、燃焼装置3が送風機7の上方に配置され、第2板部52の後方の第3内部空間193に送風機7が配置される。前側カバーは、第1板部31と周縁部33とを有する前側カバー本体20と、第1板部31の裏面を部分的に覆うように第1板部31に対して前後に重なる第2板部52とを具備する。第1板部31と第2板部52との間に、気体が流れる第1内部空間191が構成される。前側カバー本体20の左右方向一方側の所定部分には孔部35が設けられる。孔部35よりも上側には、第2内部空間192と第1内部空間191とを連通させる連通口80が設けられる。第1内部空間191を通る空気が通気口75側から送風機7へ流れ込むことを遮断又は抑制する遮蔽壁60が設けられている
【選択図】図9
特許請求の範囲
【請求項1】
送風機と、
前記送風機から供給される空気の少なくとも一部が流れ込む構成をなし、ガスを燃焼させる燃焼装置と、
開口部を具備するとともに前記送風機及び前記燃焼装置を収容する筐体本体部と、前記開口部を閉塞する構成で前記筐体本体部の前側に取り付けられる前側カバーと、を有する筐体部と、
を備えた給湯器であって、
前記燃焼装置が前記送風機の上方に配置され、
前記前側カバーは、当該前側カバーの前面部を構成する板状の第1板部と周縁部とを有する前側カバー本体と、前記第1板部の裏面を部分的に覆うように前記第1板部に対して前後に重なる第2板部と、を具備し、
前記第1板部と前記第2板部との間に、気体が流れる第1内部空間が構成され、
前記前側カバー本体において、少なくとも左右方向一方側の所定部分には、前記筐体部の外側の外部空間と前記第1内部空間とを連通させる1以上の孔部が設けられ、
少なくともいずれかの前記孔部よりも上側には、前記筐体部内において前記第2板部よりも上方且つ前記第1内部空間よりも上方の第2内部空間と前記第1内部空間とを連通させる連通口が設けられており、
前記第2板部の後方の第3内部空間に前記送風機の少なくとも一部が配置され、
前記第2板部における前記左右方向一方側且つ前記孔部よりも前記左右方向他方側には、前記第1内部空間と前記第3内部空間とを連通させる通気口を有する気流調整部が設けられ、
前記第1内部空間を通る空気が前記通気口側から前記送風機へ流れ込むことを遮断又は抑制する遮蔽壁が設けられている
給湯器。
続きを表示(約 570 文字)
【請求項2】
前記遮蔽壁は、前記第2板部の一部によって構成され、
前記左右方向一方側の前記気流調整部よりも前記左右方向他方側に前記送風機が配置され、
前記遮蔽壁は、前記送風機よりも前記左右方向一方側において前記第1内部空間を通る空気が前記左右方向他方に流れ込むことを規制しつつ上方側に案内する一方側遮蔽壁を有する
請求項1に記載の給湯器。
【請求項3】
前記燃焼装置は、少なくとも一部が前記第3内部空間に配置される
請求項1又は請求項2に記載の給湯器。
【請求項4】
前記左右方向一方側の前記気流調整部は、前記左右方向一方側の前記孔部から入り込む空気を受け、前記通気口から前記左右方向一方側に放出し、
前記送風機は、前記前側カバーにおける前記左右方向一方側の前記通気口よりも前記左右方向他方側に配置される
請求項1又は請求項2に記載の給湯器。
【請求項5】
前記前側カバーにおける前記左右方向一方側の前記通気口は、前記左右方向一方側且つ上方側を向いて配置され、
前記前側カバーにおける前記左右方向一方側の前記気流調整部は、自身が受けた空気を前記通気口から前記左右方向一方側且つ上方側に放出する
請求項4に記載の給湯器。
発明の詳細な説明
【技術分野】
【0001】
本開示は、給湯器に関する。
続きを表示(約 3,200 文字)
【背景技術】
【0002】
特許文献1には、防雨機能を有する給湯器が開示されている。特許文献1に開示される屋外設置式給湯器は、フロントカバーの下方部に形成された給気用ギャラリの内側に一定の間隙を存して上面が開口された防雨板を備えており、上記防雨板の給気用ギャラリと対向する位置に後方へ膨出した窪みを設けている。
【先行技術文献】
【特許文献】
【0003】
特開2001―263824号公報
【発明の概要】
【発明が解決しようとする課題】
【0004】
給湯器は、筐体部内に燃焼装置や送風機が収容された構成が一般的であり、筐体部は、開口部を有する筐体本体部に対して前側カバーを着脱可能とした構成のものが多い。この種の給湯器では、送風機から燃焼装置に空気を供給するために、給湯器の外部から筐体部内に空気を導入する必要があり、そのために前側カバーに通気のための孔を設けたものが多い。しかし、単に前側カバーに孔を設けるだけでは、孔から導入される空気に異物(雨水の水分等)が含まれる場合にそのまま送風機に供給されてしまうため、何らかの対策が必要である。一方、給湯器には、燃焼装置にて燃料ガスを燃焼する際に輻射熱が生じ、この輻射熱に起因して筐体部の温度が上昇してしまうという問題もある。
【0005】
本開示の目的の一つは、外部から取り込まれる空気から水分等の異物を取り除きやすく、且つ給湯器内で生じる輻射熱を抑制しやすい技術を提供することである。
【課題を解決するための手段】
【0006】
本開示の一つである給湯器は、
送風機と、
前記送風機から供給される空気の少なくとも一部が流れ込む構成をなし、ガスを燃焼させる燃焼装置と、
開口部を具備するとともに前記送風機及び前記燃焼装置を収容する筐体本体部と、前記開口部を閉塞する構成で前記筐体本体部の前側に取り付けられる前側カバーと、を有する筐体部と、
を備えた給湯器であって、
前記燃焼装置が前記送風機の上方に配置され、
前記前側カバーは、当該前側カバーの前面部を構成する板状の第1板部と周縁部とを有する前側カバー本体と、前記第1板部の裏面を部分的に覆うように前記第1板部に対して前後に重なる第2板部と、を具備し、
前記第1板部と前記第2板部との間に、気体が流れる第1内部空間が構成され、
前記前側カバー本体において、少なくとも左右方向一方側の所定部分には、前記筐体部の外側の外部空間と前記第1内部空間とを連通させる1以上の孔部が設けられ、
少なくともいずれかの前記孔部よりも上側には、前記筐体部内において前記第2板部よりも上方且つ前記第1内部空間よりも上方の第2内部空間と前記第1内部空間とを連通させる連通口が設けられており、
前記第2板部の後方の第3内部空間に前記送風機の少なくとも一部が配置され、
前記第2板部における前記左右方向一方側且つ前記孔部よりも前記左右方向他方側には、前記第1内部空間と前記第3内部空間とを連通させる通気口を有する気流調整部が設けられ、
前記第1内部空間を通る空気が前記通気口側から前記送風機へ流れ込むことを遮断又は抑制する遮蔽壁が設けられている。
【発明の効果】
【0007】
本開示に係る技術によれば、外部から取り込まれる空気から水分等の異物を取り除きやすく、且つ給湯器内で生じる輻射熱を抑制しやすい。
【図面の簡単な説明】
【0008】
図1は、第1実施形態に係る給湯器を例示する正面図である。
図2は、図1の給湯器からフロントカバーを省略した構成を概略的に示す正面図である。
図3は、図1の給湯器からフロントカバーを省略した構成を概略的に示す斜視図である。
図4は、図1の給湯器のフロントカバーを概略的に示す正面図である。
図5は、図4のフロントカバーの背面図である。
図6は、図4のフロントカバーの側面図である。
図7は、図4のフロントカバーを図6と反対側から見た側面図である。
図8は、図4のフロントカバーを前方側且つ上方側から見た斜視図である。
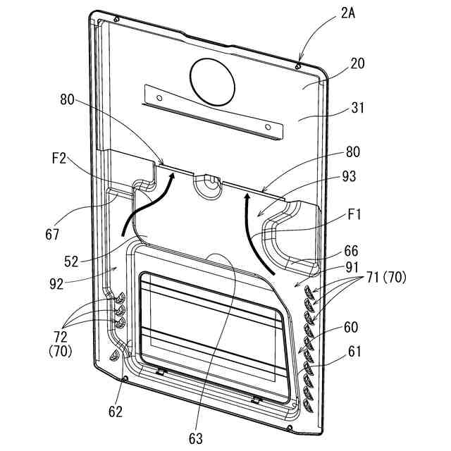
図9は、図4のフロントカバーを後方側且つ上方側から見た斜視図である。
図10は、図8の構成を分解した分解斜視図である。
図11は、図9の構成を分解した分解斜視図である。
図12は、主に、第2板部と筐体本体部との関係を概念的に示す説明図である。
図13は、主に、第2板部と筐体本体部との関係を、図12とは異なる方向から概念的に示す説明図である。
図14は、図4のフロントカバーの一部を拡大して示す斜視図である。
図15は、図4のフロントカバーの一部を左方側の孔部と左方側の気流調整部の間の位置において左右方向と直交する切断面で切断した構成を拡大して示す斜視図である。
図16は、図4のフロントカバーの一部を左方側の気流調整部の位置において左右方向と直交する切断面で切断した構成を拡大して示す斜視図である。
図17は、図4のフロントカバーの一部を左右方向中心部付近において左右方向と直交する切断面で切断した構成を拡大して示す斜視図である。
図18は、図4のフロントカバーの一部を右方側の気流調整部の位置において左右方向と直交する切断面で切断した構成を拡大して示す斜視図である。
図19は、図4のフロントカバーの一部を右方側の孔部と右方側の気流調整部の間の位置において左右方向と直交する切断面で切断した構成を拡大して示す斜視図である。
【発明を実施するための形態】
【0009】
以下の〔1〕~〔9〕の各々は、本開示に含まれる特徴的技術の一例である。
【0010】
〔1〕送風機と、
前記送風機から供給される空気の少なくとも一部が流れ込む構成をなし、ガスを燃焼させる燃焼装置と、
開口部を具備するとともに前記送風機及び前記燃焼装置を収容する筐体本体部と、前記開口部を閉塞する構成で前記筐体本体部の前側に取り付けられる前側カバーと、を有する筐体部と、
を備えた給湯器であって、
前記燃焼装置が前記送風機の上方に配置され、
前記前側カバーは、当該前側カバーの前面部を構成する板状の第1板部と周縁部とを有する前側カバー本体と、前記第1板部の裏面を部分的に覆うように前記第1板部に対して前後に重なる第2板部と、を具備し、
前記第1板部と前記第2板部との間に、気体が流れる第1内部空間が構成され、
前記前側カバー本体において、少なくとも左右方向一方側の所定部分には、前記筐体部の外側の外部空間と前記第1内部空間とを連通させる1以上の孔部が設けられ、
少なくともいずれかの前記孔部よりも上側には、前記筐体部内において前記第2板部よりも上方且つ前記第1内部空間よりも上方の第2内部空間と前記第1内部空間とを連通させる連通口が設けられており、
前記第2板部の後方の第3内部空間に前記送風機の少なくとも一部が配置され、
前記第2板部における前記左右方向一方側且つ前記孔部よりも前記左右方向他方側には、前記第1内部空間と前記第3内部空間とを連通させる通気口を有する気流調整部が設けられ、
前記第1内部空間を通る空気が前記通気口側から前記送風機へ流れ込むことを遮断又は抑制する遮蔽壁が設けられている
給湯器。
(【0011】以降は省略されています)
この特許をJ-PlatPat(特許庁公式サイト)で参照する
関連特許
株式会社パロマ
給湯器
1か月前
株式会社パロマ
湯沸器
2日前
株式会社パロマ
給湯暖房機
2か月前
株式会社パロマ
給湯暖房機
2か月前
株式会社パロマ
加熱調理装置
5日前
株式会社パロマ
加熱調理装置
5日前
株式会社パロマ
加熱調理装置
5日前
株式会社パロマ
食器洗浄機用ブースター
12日前
株式会社パロマ
食器洗浄機用ブースター
12日前
株式会社パロマ
食器洗浄機用ブースター
21日前
株式会社パロマ
食器洗浄機用ブースター
21日前
株式会社パロマ
食器洗浄機用ブースター
22日前
株式会社パロマ
食器洗浄機用ブースター及び食器洗浄システム
22日前
個人
空気調和機
3か月前
個人
エアコン室内機
3か月前
株式会社コロナ
空調装置
21日前
株式会社コロナ
空調装置
2日前
株式会社コロナ
給湯装置
2か月前
株式会社コロナ
加湿装置
12日前
株式会社コロナ
空調装置
3か月前
株式会社コロナ
空調装置
5か月前
株式会社コロナ
加湿装置
5か月前
株式会社コロナ
空調装置
1か月前
株式会社コロナ
加湿装置
6か月前
株式会社コロナ
空調装置
6か月前
株式会社コロナ
加湿装置
4か月前
個人
住宅換気空調システム
1か月前
株式会社コロナ
空気調和機
2か月前
株式会社コロナ
風呂給湯機
20日前
株式会社コロナ
空気調和機
1か月前
株式会社コロナ
空気調和機
5か月前
個人
住宅換気空調システム
6か月前
株式会社コロナ
貯湯式給湯機
4か月前
株式会社コロナ
直圧式給湯機
2か月前
株式会社パロマ
給湯器
2か月前
株式会社コロナ
貯湯式給湯機
6日前
続きを見る
他の特許を見る