TOP
|
特許
|
意匠
|
商標
特許ウォッチ
Twitter
他の特許を見る
公開番号
2025036833
公報種別
公開特許公報(A)
公開日
2025-03-17
出願番号
2023143414
出願日
2023-09-05
発明の名称
アンモニア燃焼設備
出願人
中外炉工業株式会社
代理人
個人
主分類
F23C
99/00 20060101AFI20250310BHJP(燃焼装置;燃焼方法)
要約
【課題】 アンモニアを空気と混合させて燃焼させるにあたり、アンモニアが十分に燃焼されて未燃焼のアンモニアが残るのを防止すると共に、アンモニアの燃焼時にNOxが発生するのを防止する。
【解決手段】 アンモニアNH
3
を空気Airと混合させて燃焼させるアンモニア燃焼設備において、アンモニアNH
3
を燃焼させる空気比を0.95~0.99の範囲にした。
【選択図】 図1
特許請求の範囲
【請求項1】
アンモニアを空気と混合させて燃焼させるアンモニア燃焼設備において、アンモニアを燃焼させる空気比を0.95~0.99の範囲にしたことを特徴とするアンモニア燃焼設備。
続きを表示(約 690 文字)
【請求項2】
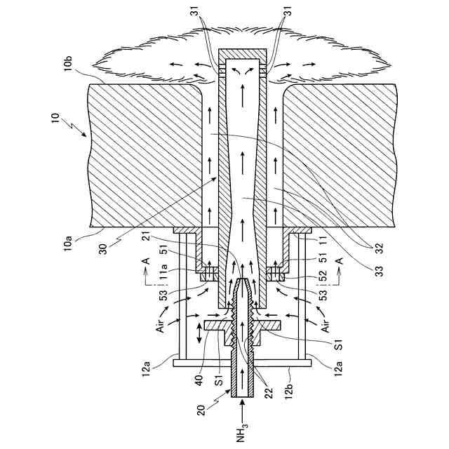
アンモニアを空気と混合させて燃焼させるアンモニア燃焼設備において、アンモニアを吐出させるアンモニア吐出管の先端部の外周側にアンモニア吐出管から吐出されたアンモニアを炉内に案内する案内管を設け、前記のアンモニア吐出管と案内管との間の空気導入部を通して案内管内に空気を導入させ、前記の案内管の先端部の外周に放射方向に設けた複数の放射噴出口から前記のアンモニアと空気とを炉内に放射方向に噴出させて燃焼させるにあたり、アンモニアを燃焼させる空気比を0.95~0.99の範囲にしたことを特徴とするアンモニア燃焼設備。
【請求項3】
請求項2に記載のアンモニア燃焼設備において、前記のアンモニア吐出管と案内管との間における空気導入部の大きさを調整する空気導入調整手段を設けたことを特徴とするアンモニア燃焼設備。
【請求項4】
請求項2又は請求項3に記載のアンモニア燃焼設備において、前記の案内管の外周側に空気を炉内に案内する空気案内部を設け、前記の空気案内部を通して炉内に導かれた空気を、前記の案内管の先端部の外周に設けた複数の放射噴出口から炉の内壁面に沿うようにして炉内に放射方向に噴出させた前記のアンモニアと空気と混合させて燃焼させるにあたり、アンモニアを燃焼させる空気比を0.95~0.99の範囲にしたことを特徴とするアンモニア燃焼設備。
【請求項5】
請求項4に記載のアンモニア燃焼設備において、前記の空気案内部を通して炉内に導かれる空気の量を調整する案内空気調整手段を設けたことを特徴とするアンモニア燃焼設備。
発明の詳細な説明
【技術分野】
【0001】
本発明は、アンモニアを空気と混合させて燃焼させるアンモニア燃焼設備に関するものである。特に、アンモニアを空気と混合させて燃焼させるにあたり、アンモニアが十分に燃焼されて未燃焼のアンモニアが残るのを防止すると共に、アンモニアの燃焼時にNOxが発生するのを防止するようにした点に特徴を有するものである。
続きを表示(約 1,100 文字)
【背景技術】
【0002】
燃料を燃焼用空気と混合させて燃焼させる燃焼設備としては、一般に、燃料として炭化水素系燃料を用いたものが使用されている。
【0003】
しかし、このように炭化水素系燃料を燃焼用空気と混合させて燃焼させるようにした場合、二酸化炭素CO
2
等の温室効果ガスが多く発生するという問題があった。
【0004】
そして、近年においては、二酸化炭素CO
2
等の温室効果ガスを削減することが要望され、燃料に炭化水素系燃料以外のものを用いることが検討されている。
【0005】
また、従来から、燃料としてアンモニアを用いることが知られているが、アンモニアは炭化水素系燃料に比べて燃焼性が悪くて、完全燃焼させることが困難であり、未燃焼のアンモニアが残りやすく、また未燃焼のアンモニアを少なくするように強く燃焼させると、火炎温度が高くなって、NOxの発生量が増加するという問題があった。
【0006】
そして、特許文献1においては、前記のように燃焼性が悪い低燃焼性燃料のアンモニアを燃焼用空気と混合させて燃焼させるにあたり、アンモニアを燃焼用空気と予混合させたものを選択的に使用して、アンモニアの燃焼性を高めるようにしたものが提案されている。
【0007】
しかし、このように低燃焼性燃料のアンモニアを燃焼用空気と予混合させたものを選択的に使用するようにした場合においても、アンモニアが十分に燃焼されずに未燃焼のアンモニアが残ったり、また未燃焼のアンモニアを少なくするように強く燃焼させると、火炎温度が高くなって、NOxの発生量が増加したりするという問題が依然として存在した。
【0008】
また、特許文献2においては、天然ガスや微粉炭等の硫黄成分を含有する物質を燃料として燃焼させるにあたり、アンモニアをアンモニア噴射ポートからバーナーが設置されていない壁部の内壁面に沿って噴射し、アンモニアを壁部の内壁面近傍で燃焼させるようにし、硫黄成分の燃焼により発生する硫化水素によって壁部が侵食されるのを防止するようにしたものが提案されている。
【0009】
しかし、特許文献2に示されたものにおいては、前記のようにアンモニア自体を燃焼させる場合に、未燃焼のアンモニアが残ったり、NOxの発生量が増加したりするのを防止するという効果は得られないものであった。
【先行技術文献】
【特許文献】
【0010】
特開2016-130619号公報
特開2020-139700号公報
【発明の開示】
【発明が解決しようとする課題】
(【0011】以降は省略されています)
この特許をJ-PlatPat(特許庁公式サイト)で参照する
関連特許
中外炉工業株式会社
熱処理炉
6日前
中外炉工業株式会社
塗工装置
2か月前
中外炉工業株式会社
ガス発生装置及び窒化装置
26日前
中外炉工業株式会社
蓄熱ユニット及び蓄熱式燃焼設備
1か月前
中外炉工業株式会社
ラダー回路生成支援プログラム及び装置
1か月前
個人
煙突煤払い掃除機
2か月前
個人
燃焼炉の操業方法
1か月前
個人
ウッドガスストーブ
4日前
コーキ株式会社
煙突
25日前
個人
形見の製造方法
10日前
株式会社パロマ
燃焼装置
2か月前
株式会社豊田自動織機
耐熱部材
24日前
株式会社トヨトミ
固体燃料燃焼器
4か月前
株式会社オメガ
熱風発生装置
4か月前
三浦工業株式会社
ボイラ
3か月前
個人
回転キルンを利用した燻炭製造方法
3か月前
株式会社フクハラ
充填物処理方法
3か月前
東京パイプ株式会社
着火器具
2か月前
株式会社タクマ
付着物除去システム
3か月前
大陽日酸株式会社
バーナ
4か月前
大陽日酸株式会社
バーナ
4か月前
リンナイ株式会社
燃焼装置
3か月前
大陽日酸株式会社
バーナ
4か月前
山形化成工業株式会社
手持ち式着火用具
1か月前
株式会社アドバンテック
燃焼装置
16日前
株式会社アドバンテック
燃焼装置
16日前
株式会社アドバンテック
燃焼装置
16日前
三浦工業株式会社
水素燃焼ボイラ
17日前
リンナイ株式会社
予混合装置
5か月前
大陽日酸株式会社
燃焼バーナ
1か月前
三菱重工業株式会社
清掃装置
3日前
株式会社日本サーモエナー
ガスバーナ
3か月前
個人
可燃性ガス燃焼装置
3か月前
株式会社パロマ
給湯器
3か月前
株式会社パロマ
給湯器
3か月前
中外炉工業株式会社
リジェネバーナ装置
2か月前
続きを見る
他の特許を見る