TOP
|
特許
|
意匠
|
商標
特許ウォッチ
Twitter
他の特許を見る
10個以上の画像は省略されています。
公開番号
2025041087
公報種別
公開特許公報(A)
公開日
2025-03-26
出願番号
2023148163
出願日
2023-09-13
発明の名称
電動船外機
出願人
スズキ株式会社
代理人
個人
,
個人
,
個人
主分類
B63H
20/00 20060101AFI20250318BHJP(船舶またはその他の水上浮揚構造物;関連艤装品)
要約
【課題】電動船外機の上部に設けられた収容部内にバッテリを配置しつつも、収容部の上方および後方への張り出しをそれぞれ抑えることができるようにする。
【解決手段】電動船外機51は、プロペラユニット52に設けられたモータを駆動するための2つのバッテリ61、62と、これらバッテリ61、62を収容するバッテリケース57と、プロペラユニット52とバッテリケース57とを連結して両者を支持する支持部65とを備え、各バッテリ61、62は、長さ寸法、幅寸法および厚さ寸法のうち厚さ寸法が最も小さい直方体状に形成され、一方のバッテリ61は、その厚さ方向が電動船外機51の上下方向となり、かつ支持部65の上方に位置するようにバッテリケース57内に配置され、他方のバッテリ62は、その厚さ方向が電動船外機51の前後方向となり、かつ支持部65の上部の後方に位置するようにバッテリケース57内に配置されている。
【選択図】図4
特許請求の範囲
【請求項1】
船舶を推進させる電動船外機であって、
プロペラシャフト、前記プロペラシャフトに固定されたプロペラ、および前記プロペラシャフトを回転可能に支持するケースを有し、当該電動船外機の下部に配置されたプロペラユニットと、
前記プロペラシャフトを回転させるモータと、
前記モータを駆動するための電力を前記モータに供給する第1のバッテリおよび第2のバッテリと、
当該電動船外機の上部に配置され、前記第1のバッテリおよび前記第2のバッテリを収容する収容部と、
上下方向に伸長した柱状に形成され、下部には前記プロペラユニットが支持され、上部には前記収容部が支持された支持部とを備え、
前記第1のバッテリおよび前記第2のバッテリはそれぞれ、長さ寸法、幅寸法および厚さ寸法のうち厚さ寸法が最も小さい直方体状に形成され、
前記第1のバッテリは、前記第1のバッテリの厚さ方向が当該電動船外機の上下方向となり、かつ前記支持部の上方に位置するように前記収容部内に配置され、前記第2のバッテリは、前記第2のバッテリの厚さ方向が当該電動船外機の前後方向となり、かつ前記支持部の上部の後方に位置するように前記収容部内に配置されていることを特徴とする電動船外機。
続きを表示(約 1,100 文字)
【請求項2】
前記第1のバッテリは、前記支持部の中心を上下方向に貫く第1の直線と交わる位置に配置され、前記第2のバッテリは、前記支持部の上端面と前記第1の直線との交点を通って前後方向に伸長する第2の直線と交わる位置に配置されていることを特徴とする請求項1に記載の電動船外機。
【請求項3】
前記第2のバッテリの上端は、上下方向において前記第1のバッテリの上面と等しい位置にあり、または前記第1のバッテリの上面よりも下に位置していることを特徴とする請求項1に記載の電動船外機。
【請求項4】
前記第1のバッテリの後端は、前後方向において前記第2のバッテリの後面と等しい位置にあり、または前記第2のバッテリの後面よりも前に位置していることを特徴とする請求項1に記載の電動船外機。
【請求項5】
前記支持部には、当該電動船外機を前記船舶のトランサムに取り付けるトランサムブラケットが設けられ、前記第2のバッテリの下端は前記トランサムブラケットの上端よりも下に位置していることを特徴とする請求項1ないし4のいずれかに記載の電動船外機。
【請求項6】
前記支持部には、当該電動船外機を前記船舶のトランサムに取り付けるトランサムブラケットが設けられ、前記第1のバッテリの前端は前記トランサムブラケットの後端よりも前に位置していることを特徴とする請求項1ないし4のいずれかに記載の電動船外機。
【請求項7】
前記支持部の上前方には操舵用のバーハンドルが配置され、前記第2のバッテリの上端は前記バーハンドルの基端部の位置よりも下に位置していることを特徴とする請求項1ないし4のいずれかに記載の電動船外機。
【請求項8】
前記支持部の上前方には操舵用のバーハンドルが配置され、上下方向において、前記第1のバッテリの位置は、前記バーハンドルの基端部の位置と略等しいことを特徴とする請求項1ないし4のいずれかに記載の電動船外機。
【請求項9】
前記支持部の上端部には、前記収容部を取り付けるための取付板部が設けられ、前記取付板部は、後端が前端よりも下に位置するように傾斜した板状に形成されていることを特徴とする請求項1ないし4のいずれかに記載の電動船外機。
【請求項10】
前記収容部は、前記第1のバッテリおよび前記第2のバッテリを包囲する壁部を有し、前記壁部は、前記収容部を前記取付板部に取り付けるための取付壁部を含み、前記取付壁部は、後端が前端よりも下に位置するように傾斜していることを特徴とする請求項9に記載の電動船外機。
発明の詳細な説明
【技術分野】
【0001】
本発明は、船舶を推進させる電動船外機に関する。
続きを表示(約 2,100 文字)
【背景技術】
【0002】
電動船外機は、船舶の推進力を生成する動力源としてのモータ、モータの動力を推進力に変換するプロペラ、プロペラが固定されたプロペラシャフト、および当該電動船外機を船舶のトランサムに取り付けるトランサムブラケット等を備えている。
【0003】
また、電動船外機には、水面下に位置する電動船外機の下部にプロペラ、プロペラシャフトおよびモータが配置されたタイプと、水面下に位置する電動船外機の下部にプロペラおよびプロペラシャフトが配置され、水面よりも上方に位置する電動船外機の上部にモータが配置され、モータとプロペラシャフトとの間に、モータの動力をプロペラシャフトに伝達するドライブシャフトが設けられたタイプとがある。
【0004】
また、モータを駆動するためにはバッテリを要するが、電動船外機には、バッテリを船舶に配置するタイプと、バッテリを電動船外機の内部に配置するタイプとがある。特開2005-162054号公報(特許文献1)には、電動式船外機の上部にモータケースを設け、そのモータケース内にバッテリを配置したものが記載されている。
【先行技術文献】
【特許文献】
【0005】
特開2005-162054号公報
【発明の概要】
【発明が解決しようとする課題】
【0006】
電動船外機を船舶に取り付けて航行するに当たり、船舶の航続距離を延ばすためには、バッテリ容量を増やす必要がある。バッテリ容量を増やすことにより、バッテリのサイズが大きくなる。電動船外機の上部にケース等の収容部を設け、その収容部内にバッテリを配置する場合、バッテリの大型化のために、収容部が上方または後方に大きく張り出してしまうおそれがある。収容部が上方または後方に大きく張り出すことにより、電動船外機が大型化し、または電動船外機の重量バランスが悪化するおそれがある。
【0007】
本発明は例えば上述したような問題に鑑みなされたものであり、本発明の課題は、電動船外機の上部に設けられた収容部内にバッテリを配置しつつも、収容部の上方への張り出しおよび収容部の後方への張り出しをそれぞれ抑えることができる電動船外機を提供することにある。
【課題を解決するための手段】
【0008】
上記課題を解決するために、本発明は、船舶を推進させる電動船外機であって、プロペラシャフト、前記プロペラシャフトに固定されたプロペラ、および前記プロペラシャフトを回転可能に支持するケースを有し、当該電動船外機の下部に配置されたプロペラユニットと、前記プロペラシャフトを回転させるモータと、前記モータを駆動するための電力を前記モータに供給する第1のバッテリおよび第2のバッテリと、当該電動船外機の上部に配置され、前記第1のバッテリおよび前記第2のバッテリを収容する収容部と、上下方向に伸長した柱状に形成され、下部には前記プロペラユニットが支持され、上部には前記収容部が支持された支持部とを備え、前記第1のバッテリおよび前記第2のバッテリはそれぞれ、長さ寸法、幅寸法および厚さ寸法のうち厚さ寸法が最も小さい直方体状に形成され、前記第1のバッテリは、前記第1のバッテリの厚さ方向が当該電動船外機の上下方向となり、かつ前記支持部の上方に位置するように前記収容部内に配置され、前記第2のバッテリは、前記第2のバッテリの厚さ方向が当該電動船外機の前後方向となり、かつ前記支持部の上部の後方に位置するように前記収容部内に配置されていることを特徴とする。
【発明の効果】
【0009】
本発明によれば、電動船外機の上部に設けられた収容部内にバッテリを配置しつつも、収容部の上方への張り出しおよび収容部の後方への張り出しをそれぞれ抑えることができる。
【図面の簡単な説明】
【0010】
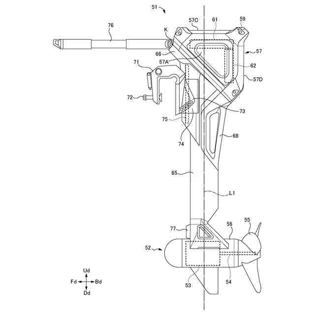
(A)は本発明の第1の実施形態の電動船外機を示す説明図であり、(B)は第1の比較例の電動船外機を示す説明図であり、(C)は第2の比較例の電動船外機を示す説明図である。
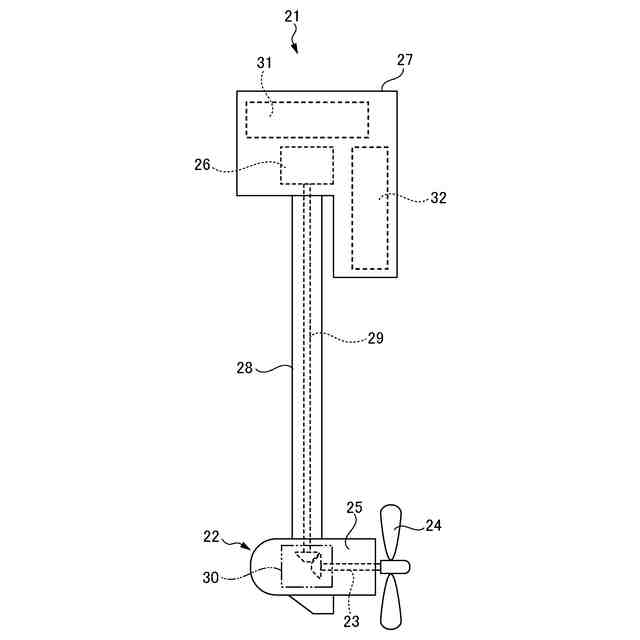
本発明の第2の実施形態の電動船外機を示す説明図である。
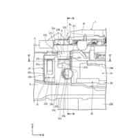
本発明の実施例の電動船外機を前方の左上から見た状態を示す斜視図である。
本発明の実施例の電動船外機を左から見た状態を示す説明図である。
本発明の実施例の電動船外機を前から見た状態を示す説明図である。
本発明の実施例の電動船外機において、電動船外機から取り外されたバッテリケースを示す説明図である。
図5中の切断線VII-VIIに沿って切断した電動船外機を左から見た状態を示す断面図である。
本発明の実施例の電動船外機におけるバッテリケースを電動船外機から取り外して床面等に置いた状態を示す説明図である。
本発明の実施例の電動船外機において、第1のバッテリおよび第2のバッテリの配置の変形例を示す説明図である。
本発明の電動船外機の他の実施例を示す説明図である。
【発明を実施するための形態】
(【0011】以降は省略されています)
この特許をJ-PlatPat(特許庁公式サイト)で参照する
関連特許
スズキ株式会社
内燃機関
2か月前
スズキ株式会社
排気装置
26日前
スズキ株式会社
排気装置
26日前
スズキ株式会社
電動車両
2か月前
スズキ株式会社
車両前部構造
16日前
スズキ株式会社
車両用バンパ
16日前
スズキ株式会社
運転支援装置
1か月前
スズキ株式会社
車体下部構造
1か月前
スズキ株式会社
モータケース
16日前
スズキ株式会社
車両用変速機
16日前
スズキ株式会社
車両側部構造
25日前
スズキ株式会社
車両側部構造
25日前
スズキ株式会社
移動システム
1か月前
スズキ株式会社
動力伝達装置
1か月前
スズキ株式会社
小型電動車両
2か月前
スズキ株式会社
車両前部構造
1か月前
スズキ株式会社
車両側部構造
1か月前
スズキ株式会社
運転支援装置
1か月前
スズキ株式会社
燃料電池車両
3日前
スズキ株式会社
燃料電池車両
3日前
スズキ株式会社
車体下部構造
1か月前
スズキ株式会社
車両前部構造
27日前
スズキ株式会社
エアクリーナ
1か月前
スズキ株式会社
運転支援装置
1か月前
スズキ株式会社
車両用空調装置
1か月前
スズキ株式会社
車両用制御装置
1か月前
スズキ株式会社
車両用制御装置
25日前
スズキ株式会社
積立金管理装置
24日前
スズキ株式会社
車両の制御装置
18日前
スズキ株式会社
車両用制御装置
1か月前
スズキ株式会社
車両の制御装置
1か月前
スズキ株式会社
車両用送風構造
10日前
スズキ株式会社
車両用送風構造
10日前
スズキ株式会社
車両用制御装置
1か月前
スズキ株式会社
車両の制御装置
9日前
スズキ株式会社
車両用送風構造
10日前
続きを見る
他の特許を見る