TOP
|
特許
|
意匠
|
商標
特許ウォッチ
Twitter
他の特許を見る
10個以上の画像は省略されています。
公開番号
2025071752
公報種別
公開特許公報(A)
公開日
2025-05-08
出願番号
2024027953
出願日
2024-02-27
発明の名称
車載用エアコンプレッサ及びボトルキャップアセンブリ
出願人
已久工業股ふん有限公司
代理人
個人
主分類
F04B
53/22 20060101AFI20250428BHJP(液体用容積形機械;液体または圧縮性流体用ポンプ)
要約
【課題】ボトルキャップアセンブリをエアコンプレッサ本体に容易に組み付けることができる車載用エアコンプレッサ及びそのボトルキャップアセンブリを提供する。
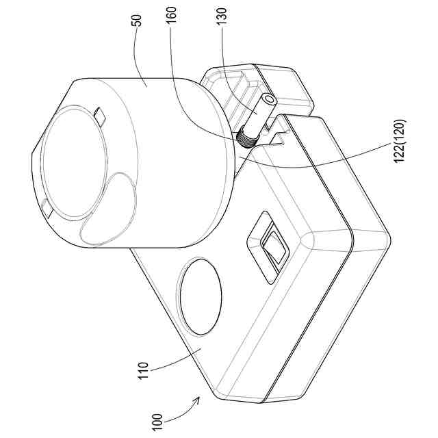
【解決手段】ボトルキャップアセンブリ120は、ボトルキャップ部材122と、少なくとも1つの締結部材150と、を含む。ボトルキャップ部材は、エアコンプレッサ本体110に取り付けられ、互いに接続された空気入口端及び空気出口端を有し、ボトルキャップ部材は、空気入口端を介して、挿入方向に沿ってエアコンプレッサ本体に挿入される。エアコンプレッサ本体からの気流は、空気入口端及び空気出口端とを順に通過するのに適している。締結部材は、締結方向に沿ってボトルキャップ部材をエアコンプレッサ本体に締結する。締結方向は挿入方向と同一である。
【選択図】図2
特許請求の範囲
【請求項1】
エアコンプレッサ本体と、
前記エアコンプレッサ本体に取り付けられ、互いに接続された空気入口端及び空気出口端を有し、前記空気入口端を介して、挿入方向に沿って前記エアコンプレッサ本体に挿入され、前記エアコンプレッサ本体からの気流は、前記空気入口端及び前記空気出口端とを順に通過するのに適している、ボトルキャップ部材と、
締結方向に沿って前記ボトルキャップ部材を前記エアコンプレッサ本体に締結し、前記締結方向は前記挿入方向と同一である、少なくとも1つの締結部材と、
を含むボトルキャップアセンブリと、
を備える車載用エアコンプレッサ。
続きを表示(約 1,000 文字)
【請求項2】
前記ボトルキャップ部材は、少なくとも1つの組立孔を有し、前記少なくとも1つの締結部材は、前記少なくとも1つの組立孔を貫通して、前記エアコンプレッサ本体に係止される、
請求項1に記載の車載用エアコンプレッサ。
【請求項3】
前記少なくとも1つの組立孔は、配列方向に沿って配置され、前記ボトルキャップ部材の対向する2つの側にそれぞれ位置する2つの組立孔を含み、前記配列方向は前記締結方向に垂直である、
請求項2に記載の車載用エアコンプレッサ。
【請求項4】
前記ボトルキャップ部材は、接合方向に沿ってタイヤシーラント収容ボトルと互いに接合されるのに適しており、前記配列方向は前記接合方向に垂直である、
請求項2に記載の車載用エアコンプレッサ。
【請求項5】
前記ボトルキャップ部材は、少なくとも1つの凸耳部を有し、前記少なくとも1つの組立孔が前記少なくとも1つの凸耳部に位置する、
請求項2に記載の車載用エアコンプレッサ。
【請求項6】
前記ボトルキャップ部材は、タイヤシーラント収容ボトルのボトル口と互いに接合されるのに適しており、前記ボトルキャップ部材は、少なくとも1つの刃先凸状リブを有し、前記少なくとも1つの刃先凸状リブは、前記タイヤシーラント収容ボトルの前記ボトル口上の封止フィルムを切断するのに適している、
請求項1に記載の車載用エアコンプレッサ。
【請求項7】
前記空気入口端の空気進入方向と前記空気出口端の空気排出方向とは互いに垂直である、
請求項1に記載の車載用エアコンプレッサ。
【請求項8】
前記空気入口端の空気進入方向と前記空気出口端の空気排出方向とは互いに平行である、
請求項1に記載の車載用エアコンプレッサ。
【請求項9】
前記エアコンプレッサ本体は、収容凹部と、少なくとも1つの係止孔と、を有し、前記ボトルキャップ部材は前記収容凹部内に収容され、前記少なくとも1つの係止孔は前記収容凹部内に位置し、前記少なくとも1つの締結部材は前記少なくとも1つの係止孔に係止される、
請求項1に記載の車載用エアコンプレッサ。
【請求項10】
前記収容凹部は、前記締結方向に垂直な少なくとも1つの内壁を有し、前記少なくとも1つの係止孔が前記少なくとも1つの内壁に位置する、
請求項9に記載の車載用エアコンプレッサ。
(【請求項11】以降は省略されています)
発明の詳細な説明
【技術分野】
【0001】
本発明は、エアコンプレッサに関し、特に車載用エアコンプレッサ及びそのボトルキャップアセンブリに関する。
続きを表示(約 1,600 文字)
【背景技術】
【0002】
車載エアコンプレッサは、タイヤシーラントボトルと組み合わせて車両のタイヤの修理及び膨張を行うことができ、また、タイヤシーラントボトルと組み合わせていない状態で車両のタイヤを膨張させるために使用することもできる。一般的に、タイヤの修理及び膨張作業を行う場合、車載エアコンプレッサのエアコンプレッサ本体にボトルキャップアセンブリを取り付け、タイヤシーラントボトルと接合させて、エアコンプレッサ本体からの高圧気流をボトルキャップアセンブリを介してタイヤシーラントボトルに進入させ、高圧気流によりタイヤシーラントボトル内のタイヤシーラントをタイヤに進入させ、タイヤの修理と膨張の効果を達成する。
【0003】
エアコンプレッサ本体とボトルキャップアセンブリの間の締構造造の配置位置及び締結方向は、エアコンプレッサ本体の配置スペースやその他の要因によって制限されるため、通常、使いやすいものではなく、ユーザはボトルキャップアセンブリをエアコンプレッサ本体に簡単に取り付けることができない。
【発明の概要】
【発明が解決しようとする課題】
【0004】
本発明は、ボトルキャップアセンブリをエアコンプレッサ本体に容易に組み付けることができる車載用エアコンプレッサ及びそのボトルキャップアセンブリを提供する。
【課題を解決するための手段】
【0005】
本発明の車載用エアコンプレッサは、エアコンプレッサ本体と、ボトルキャップアセンブリと、を含む。ボトルキャップアセンブリは、ボトルキャップ部材と、少なくとも1つの締結部材と、を含む。ボトルキャップ部材は、エアコンプレッサ本体に取り付けられ、互いに接続された空気入口端及び空気出口端を有し、ボトルキャップ部材は、空気入口端を介して、挿入方向に沿ってエアコンプレッサ本体に挿入される。エアコンプレッサ本体からの気流は、空気入口端及び空気出口端とを順に通過するのに適している。締結部材は、締結方向に沿ってボトルキャップ部材をエアコンプレッサ本体に締結する。締結方向は挿入方向と同一である。
【0006】
本発明のボトルキャップアセンブリは、車載用エアコンプレッサに適し、ボトルキャップ部材と、少なくとも1つの締結部材と、を含む。ボトルキャップ部材は、車載用エアコンプレッサのエアコンプレッサ本体に取り付けられ、互いに接続された空気入口端及び空気出口端を有し、ボトルキャップ部材は、空気入口端を介して、挿入方向に沿ってエアコンプレッサ本体に挿入される。エアコンプレッサ本体からの気流は、空気入口端及び空気出口端とを順に通過するのに適している。締結部材は、締結方向に沿ってボトルキャップ部材をエアコンプレッサ本体に締結し、締結方向は挿入方向と同一である。
【0007】
本発明の一実施形態において、前述のボトルキャップ部材は、少なくとも1つの組立孔を有し、少なくとも1つの締結部材は、少なくとも1つの組立孔を貫通して、エアコンプレッサ本体に係止される。
【0008】
本発明の一実施形態において、前述の少なくとも1つの組立孔は、配列方向に沿って配置され、ボトルキャップ部材の対向する2つの側にそれぞれ位置する2つの組立孔を含み、配列方向は締結方向に垂直である。
【0009】
本発明の一実施形態において、前述のボトルキャップ部材は、接合方向に沿ってタイヤシーラント収容ボトルと互いに接合されるのに適しており、配列方向は接合方向に垂直である。
【0010】
本発明の一実施形態において、前述のボトルキャップ部材は、少なくとも1つの凸耳部を有し、少なくとも1つの組立孔が少なくとも1つの凸耳部に位置する。
(【0011】以降は省略されています)
この特許をJ-PlatPat(特許庁公式サイト)で参照する
関連特許
已久工業股ふん有限公司
空気圧縮機構造
2か月前
已久工業股ふん有限公司
空気圧縮機構造
2か月前
已久工業股ふん有限公司
エアコンプレッサ
19日前
已久工業股ふん有限公司
エアコンプレッサ
1か月前
已久工業股ふん有限公司
エアコンプレッサ構造
2か月前
已久工業股ふん有限公司
車載用エアコンプレッサ
5か月前
已久工業股ふん有限公司
タイヤ修理装置及び接着剤塗布装置
3か月前
已久工業股ふん有限公司
車載用エアコンプレッサ及びボトルキャップアセンブリ
5か月前
個人
圧縮機
5か月前
個人
海流製造装置。
1か月前
株式会社スギノマシン
圧縮機
12日前
株式会社ツインバード
送風装置
1か月前
ダイニチ工業株式会社
空調装置
4か月前
株式会社ツインバード
送風装置
1か月前
日機装株式会社
遠心ポンプ
4日前
カヤバ株式会社
電動ポンプ
2か月前
ビッグボーン株式会社
送風装置
1か月前
株式会社不二越
蓄圧装置
2か月前
株式会社ノーリツ
ロータリ圧縮機
1か月前
株式会社酉島製作所
ポンプ
5か月前
個人
携帯型扇風機用の送風ノズル
4か月前
株式会社酉島製作所
ポンプ
3か月前
株式会社ニクニ
液封式ポンプ装置
4か月前
樫山工業株式会社
真空ポンプ
13日前
サンデン株式会社
スクロール圧縮機
18日前
サンデン株式会社
スクロール圧縮機
18日前
株式会社坂製作所
スクロール圧縮機
3か月前
サンデン株式会社
スクロール圧縮機
18日前
株式会社ノーリツ
ロータリー圧縮機
3か月前
株式会社不二越
油圧ユニット
4か月前
株式会社不二越
ベーンポンプ
2か月前
小倉クラッチ株式会社
ルーツブロア
2か月前
株式会社島津製作所
真空ポンプ
1か月前
株式会社豊田自動織機
流体機械
1か月前
株式会社島津製作所
真空ポンプ
1か月前
株式会社チロル
送風機、送風機付衣服
1か月前
続きを見る
他の特許を見る