TOP
|
特許
|
意匠
|
商標
特許ウォッチ
Twitter
他の特許を見る
10個以上の画像は省略されています。
公開番号
2025088169
公報種別
公開特許公報(A)
公開日
2025-06-11
出願番号
2023202694
出願日
2023-11-30
発明の名称
発電システム及び発電制御装置
出願人
山梨県
,
エクセルギー・パワー・システムズ株式会社
代理人
弁理士法人日誠国際特許事務所
主分類
H02J
3/46 20060101AFI20250604BHJP(電力の発電,変換,配電)
要約
【課題】水力発電機を一次調整力として機能させることができる発電システム及び発電制御装置を提供すること。
【解決手段】発電制御装置4は、電力網5の電力が不足すると、電力網5に電力を放電するようにアルカリ蓄電池3を制御する放電制御を実行し、アルカリ蓄電池3から電力網5に電力が放電されている期間に、発電電力を増加させるように少なくとも水力発電所2cの水力発電機を制御する増電制御を開始する。
【選択図】図1
特許請求の範囲
【請求項1】
水力発電機を有し、前記水力発電機から電力網に電力を供給可能な水力発電所と、
前記電力網から充電可能であり、充電されている電力を前記電力網に放電可能な電力蓄電装置と、
前記水力発電機及び前記電力蓄電装置を制御する発電制御装置と、を備え、
前記発電制御装置は、前記電力網の電力が不足すると、前記電力網に電力を放電するように前記電力蓄電装置を制御する放電制御を実行し、前記電力蓄電装置から前記電力網に電力が放電されている期間に、発電電力を増加させるように前記水力発電機を制御する増電制御を開始することを特徴とする発電システム。
続きを表示(約 1,400 文字)
【請求項2】
前記発電制御装置は、前記電力網の電力が不足したことにより前記放電制御を実行している状態では、前記電力蓄電装置の充電率が閾値以下となった場合に前記増電制御を開始することを特徴とする請求項1に記載の発電システム。
【請求項3】
前記発電制御装置は、前記電力網の電力が不足したことにより前記放電制御を実行している状態では、前記放電制御を開始してから所定時間経過した場合に前記増電制御を開始することを特徴とする請求項1に記載の発電システム。
【請求項4】
水力発電機を有し、前記水力発電機から電力網に電力を供給可能な複数の水力発電所と、
前記電力網から充電可能であり、充電されている電力を前記電力網に放電可能な電力蓄電装置と、
前記水力発電機及び前記電力蓄電装置を制御する発電制御装置と、を備え、
前記発電制御装置は、前記電力網の電力が不足すると、前記電力網に電力を放電するように前記電力蓄電装置を制御する放電制御を実行し、前記電力蓄電装置から前記電力網に電力が放電されている期間に、発電電力を増加させるように前記複数の水力発電所のうち少なくとも1つの水力発電所の水力発電機を制御する増電制御を開始することを特徴とする発電システム。
【請求項5】
前記発電制御装置は、前記電力網の電力が不足したことにより前記増電制御を実行する場合には、前記複数の水力発電所の水力発電機に対して、同時に前記増電制御を開始することを特徴とする請求項3に記載の発電システム。
【請求項6】
前記水力発電所は、前記水力発電機に供給する水を貯える貯水槽を有し、
前記発電制御装置は、前記貯水槽から前記水力発電機に供給される水の流量を増加させることによって、前記増電制御を実行することを特徴とする請求項3に記載の発電システム。
【請求項7】
前記複数の水力発電所は、1つの水の流路を形成するように直列に設けられ、
前記貯水槽には、前記流路の上流側から水が供給され、
前記貯水槽から前記水力発電機に供給された水は、前記水力発電機から前記流路の下流側に排出され、
前記発電制御装置は、前記電力網の電力が不足したことにより前記放電制御を実行している状態では、
前記複数の水力発電所のうち前記流路の最も下流の最下流水力発電所の前記水力発電機に対しては、前記電力蓄電装置の充電率が閾値以下となった場合に前記増電制御を開始し、
前記複数の水力発電所のうち前記最下流水力発電所を除く水力発電所の前記水力発電機に対しては、前記流路の下流側の水力発電所の前記貯水槽の水位が所定値以下となった場合に前記増電制御を開始することを特徴とする請求項5に記載の発電システム。
【請求項8】
水力発電機を有し、前記水力発電機から電力網に電力を供給可能な水力発電所と、
前記電力網から充電可能であり、充電されている電力を前記電力網に放電可能な電力蓄電装置と、を制御する発電制御装置であって、
前記電力網の電力が不足すると、前記電力網に電力を放電するように前記電力蓄電装置を制御する放電制御を実行し、前記電力蓄電装置から前記電力網に電力が放電されている期間に、発電電力を増加させるように前記水力発電機を制御する増電制御を開始する発電制御装置。
発明の詳細な説明
【技術分野】
【0001】
本発明は、発電システム及び発電制御装置に関する。
続きを表示(約 1,800 文字)
【背景技術】
【0002】
従来、再生可能エネルギー発電機と、蓄電池と、再生可能エネルギー発電可能値を予測する再生可能エネルギー発電予測部と、電力取引情報を受信する電力取引情報受信部と、再生可能エネルギー発電予測部が予測する再生可能エネルギー発電予測量と電力取引情報から電力取引発電と再生可能エネルギー発電と蓄電池充放電の指令値を算出する蓄電池制御算出部と、電力取引発電と再生可能エネルギー発電に従って電力を分配する電力変換器からなる発電システムが特許文献1に提案されている。
【先行技術文献】
【特許文献】
【0003】
特開2019-140862号公報
【発明の概要】
【発明が解決しようとする課題】
【0004】
しかしながら、上述した従来の発電システムは、再生可能エネルギー発電機として水力発電機を適用した場合には、発電する電力を瞬時に増加させることができなくなるため、時間内変動(極短周期成分)および電源脱落等に対応する調整力として応動時間が10秒以内、かつ、継続時間は5分以上の一次調整力として機能できないといった課題があった。
【0005】
本発明は、上記のような課題を解決するためになされたものであり、水力発電機を一次調整力として機能させることができる発電システム及び発電制御装置を提供することを目的とする。
【課題を解決するための手段】
【0006】
本発明に係る発電システムは、水力発電機を有し、前記水力発電機から電力網に電力を供給可能な水力発電所と、前記電力網から充電可能であり、充電されている電力を前記電力網に放電可能な電力蓄電装置と、前記水力発電機及び前記電力蓄電装置を制御する発電制御装置と、を備え、前記発電制御装置は、前記電力網の電力が不足すると、前記電力網に電力を放電するように前記電力蓄電装置を制御する放電制御を実行し、前記電力蓄電装置から前記電力網に電力が放電されている期間に、発電電力を増加させるように前記水力発電機を制御する増電制御を開始する構成を有する。
【発明の効果】
【0007】
本発明は、水力発電機を一次調整力として機能させることができる発電システム及び発電制御装置を提供することができる。
【図面の簡単な説明】
【0008】
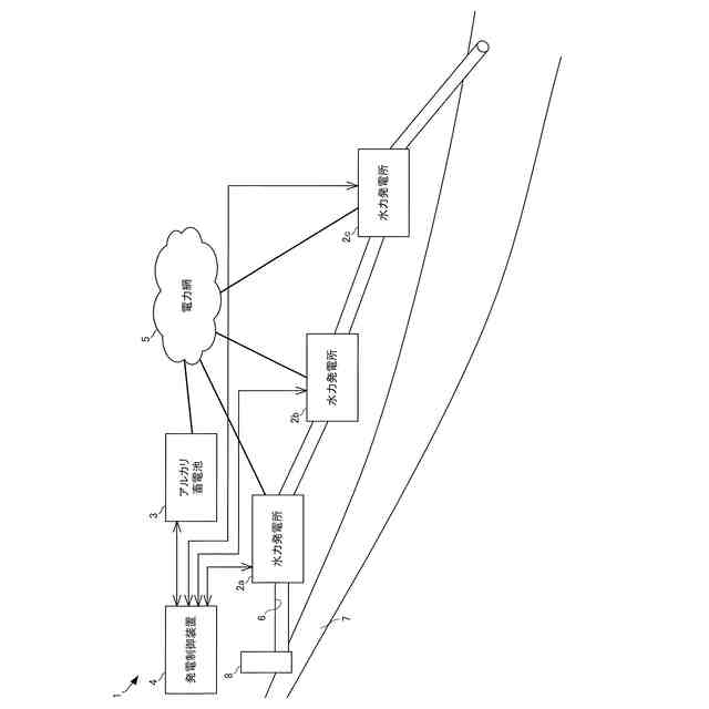
図1は、本発明の第1の実施の形態に係る発電システムの概略構成図である。
図2は、本発明の第1の実施の形態に係る水力発電所の概略構成図である。
図3は、本発明の第1の実施の形態に係る水力発電機のガイドベーンの開度と水力発電機の出力電力との関係を示すグラフである。
図4は、本発明の第1の実施の形態に係る発電制御装置を説明するための概略構成図である。
図5は、本発明の第1の実施の形態に係る貯水槽の水位の目標値を説明するための概念図である。
図6は、本発明の第1の実施の形態に係るアルカリ蓄電池に対する発電制御装置の制御モードを説明するための状態遷移図である。
図7は、本発明の第1の実施の形態に係る水力発電機に対する発電制御装置の制御モードを説明するための状態遷移図である。
図8は、本発明の第1の実施の形態に係る発電システムによって出力される調整力を説明するためのタイムチャートである。
図9は、本発明の第2の実施の形態に係る水力発電機に対する発電制御装置の制御モードを説明するための状態遷移図である。
図10は、本発明の第2の実施の形態に係る発電システムによって出力される調整力を説明するためのタイムチャートである。
図11は、本発明の第2の実施の形態に係る発電システムの変形例によって出力される調整力を説明するためのタイムチャートである。
【発明を実施するための形態】
【0009】
以下、本発明の実施の形態について、図面を参照して説明する。
【0010】
[第1の実施の形態]
図1に示すように、発電システム1は、複数の水力発電所2a~2cと、アルカリ蓄電池3と、発電制御装置4とを含んで構成される。なお、図1には、3つの水力発電所2a~2cが示されているが、本発明に係る発電システムが有する水力発電所の数を限定するものではない。
(【0011】以降は省略されています)
この特許をJ-PlatPat(特許庁公式サイト)で参照する
関連特許
山梨県
発電システム及び発電制御装置
3か月前
山梨県
CNFを含有するめっき層を形成するめっき装置とめっき方法
7日前
個人
天然水由来処理水
4か月前
京都府公立大学法人
コンピュータプログラム、学習支援方法及び学習支援装置
6日前
個人
電源装置
14日前
個人
永久磁石モーター
1か月前
個人
バッテリ内蔵直流電源
13日前
株式会社FUJI
制御盤
3日前
オムロン株式会社
電源回路
7日前
オムロン株式会社
電源回路
7日前
オムロン株式会社
電源回路
7日前
日産自動車株式会社
電子機器
24日前
トヨタ自動車株式会社
回転子
14日前
ニデック株式会社
モータの制御方法
21日前
東京応化工業株式会社
発電装置
7日前
大豊工業株式会社
モータ
13日前
井関農機株式会社
充電システム
24日前
トヨタ自動車株式会社
溶接装置
27日前
ミサワホーム株式会社
居住設備
3日前
三菱ケミカル株式会社
電池
1か月前
株式会社リコー
拡張アンテナ装置
6日前
トヨタ自動車株式会社
ロータ
1日前
日産自動車株式会社
ステータ
今日
愛知電機株式会社
巻線方法および巻線装置
29日前
ユタカ電業株式会社
ケーブルダクト
3日前
富士電子工業株式会社
電力変換装置
15日前
株式会社大林組
可搬式充電設備
今日
NTN株式会社
モータユニット
3日前
株式会社アイシン
直流回転電機
27日前
株式会社ダイヘン
電力管理装置
22日前
株式会社ダイヘン
電力変換装置
29日前
株式会社ミツバ
巻線装置
6日前
株式会社正興電機製作所
地絡確認装置
6日前
志幸技研工業株式会社
ケーブル布設工法
13日前
株式会社ダイヘン
変換装置集積体
29日前
株式会社デンソー
インバータ装置
15日前
続きを見る
他の特許を見る