TOP
|
特許
|
意匠
|
商標
特許ウォッチ
Twitter
他の特許を見る
公開番号
2025093710
公報種別
公開特許公報(A)
公開日
2025-06-24
出願番号
2023209526
出願日
2023-12-12
発明の名称
搬送設備
出願人
株式会社ダイフク
代理人
弁理士法人R&C
主分類
H04W
4/30 20180101AFI20250617BHJP(電気通信技術)
要約
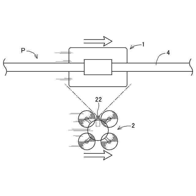
【課題】不具合が生じた搬送車の復旧の可能性を高めることが可能な搬送設備を提供する。
【解決手段】搬送設備は、移動経路Pに沿って搬送物を搬送する搬送車1と、通信可能範囲R内にいる搬送車1との間で無線通信を行う通信装置を備え、搬送車1とは別に移動する移動体2と、移動体2の制御を行う移動体制御装置と、を備えている。移動体制御装置は、搬送車1に不具合が生じたと判定した場合に、搬送車1に対する通信可能範囲R内に移動体2を位置させ、搬送車1を復旧するための復旧指令を、通信装置に搬送車1へ送信させる。
【選択図】図4
特許請求の範囲
【請求項1】
移動経路に沿って搬送物を搬送する搬送車を備えた搬送設備であって、
通信可能範囲内にいる前記搬送車との間で無線通信を行う通信装置を備え、前記搬送車とは別に移動する移動体と、
前記移動体の制御を行う移動体制御装置と、を更に備え、
前記移動体制御装置は、前記搬送車に不具合が生じたと判定した場合に、前記搬送車に対する前記通信可能範囲内に前記移動体を位置させ、前記搬送車を復旧するための復旧指令を、前記通信装置に前記搬送車へ送信させる、搬送設備。
続きを表示(約 760 文字)
【請求項2】
前記移動体制御装置は、前記搬送車の移動中に、前記移動体に前記搬送車を追尾させる追尾処理を実行し、
前記移動体は、前記追尾処理による前記搬送車の追尾中、前記搬送車の状態監視を行う、請求項1に記載の搬送設備。
【請求項3】
前記移動体は、前記搬送車と連結する連結機構を更に備え、
前記移動体制御装置は、前記復旧指令が前記搬送車に送信されても前記搬送車の不具合が解消しない場合には、前記連結機構を前記搬送車に連結し、前記移動体により前記搬送車を牽引して、前記搬送車を退避位置まで移動させる牽引処理を実行する、請求項1又は2に記載の搬送設備。
【請求項4】
前記搬送車との間で無線通信を行う無線通信装置と、
前記無線通信装置を介して前記搬送車と通信し、前記搬送車の制御を行う搬送車制御装置と、を更に備え、
前記復旧指令は、前記無線通信装置を介した通信の不良により前記搬送車制御装置から前記搬送車に伝達されなかった指令に対応している、請求項1又は2に記載の搬送設備。
【請求項5】
前記移動体は、前記搬送物を保持する保持機構を更に備え、
前記移動体制御装置は、前記復旧指令が前記搬送車に送信されても前記搬送車の不具合が解消しない場合には、前記搬送車が搬送中の前記搬送物を前記保持機構に保持させ、前記移動体により前記搬送物を目的地まで搬送させる代替搬送処理を実行する、請求項1又は2に記載の搬送設備。
【請求項6】
前記移動経路に沿って延在するレールを更に備え、
前記搬送車は、前記レール上を走行するように構成され、
前記移動体は、無人航空機である、請求項1又は2に記載の搬送設備。
発明の詳細な説明
【技術分野】
【0001】
本発明は、移動経路に沿って搬送物を搬送する搬送車を備えた搬送設備に関する。
続きを表示(約 1,500 文字)
【背景技術】
【0002】
下記の特許文献1には、搬送物を搬送する搬送車(12)と、搬送車(12)の制御を行う搬送車制御装置(18)と、搬送車(12)と搬送車制御装置(18)との間の通信を行う無線通信装置と、を備えた搬送設備が開示されている。なお、背景技術の説明において括弧内に示す符号は、特許文献1のものである。
【0003】
無線通信装置は、搬送車(12)との間で無線通信を行う複数の無線送受信部(8)を備えている。複数の無線送受信部(8)は、分散して配置されている。搬送車(12)は、当該搬送車の位置に応じて、無線通信を行う無線送受信部(8)を切り替えながら走行する。
【先行技術文献】
【特許文献】
【0004】
特開2011-166671号公報
【発明の概要】
【発明が解決しようとする課題】
【0005】
ところで、上記の搬送設備では、搬送車(12)が何らかの不具合により停止する場合がある。このような場合、搬送車(12)の制御部を再起動させる等の復旧指令を、無線送受信部(8)を介して搬送車制御装置(18)から搬送車(12)に送信することが考えられる。しかしながら、搬送車(12)の周辺の通信環境等によっては、復旧指令を搬送車(12)が適切に受信することができない可能性がある。
【0006】
そこで、不具合が生じた搬送車の復旧の可能性を高めることが可能な搬送設備の実現が望まれる。
【課題を解決するための手段】
【0007】
上記に鑑みた、搬送設備の特徴構成は、
移動経路に沿って搬送物を搬送する搬送車を備えた搬送設備であって、
通信可能範囲内にいる前記搬送車との間で無線通信を行う通信装置を備え、前記搬送車とは別に移動する移動体と、
前記移動体の制御を行う移動体制御装置と、を更に備え、
前記移動体制御装置は、前記搬送車に不具合が生じたと判定した場合に、前記搬送車に対する前記通信可能範囲内に前記移動体を位置させ、前記搬送車を復旧するための復旧指令を、前記通信装置に前記搬送車へ送信させる点にある。
【0008】
この特徴構成によれば、移動体が搬送車とは別に移動するように構成されているため、搬送車の不具合が生じた場合に、移動体を搬送車に対する通信可能範囲内に適切に位置させることができる。これにより、搬送車の周辺の通信環境等の影響を小さく抑えつつ、移動体から搬送車に復旧指令を送信することができる。したがって、不具合が生じた搬送車の復旧の可能性を高めることができる。
【図面の簡単な説明】
【0009】
実施形態に係る搬送設備の平面図
実施形態に係る搬送設備が備える搬送車の斜視図
実施形態に係る搬送設備の構成を示すブロック図
移動体が搬送車に復旧指令を送信する様子を示す図
追尾処理の一例を示す図
牽引処理の一例を示す図
代替搬送処理の一例を示す図
【発明を実施するための形態】
【0010】
1.第1の実施形態
以下では、第1の実施形態に係る搬送設備100について、図1から図6を参照して説明する。図1に示すように、搬送設備100は、搬送車1と、移動体2と、を備えている。本実施形態では、搬送設備100は、複数の搬送車1と、複数の移動体2と、を備えている。
(【0011】以降は省略されています)
この特許をJ-PlatPat(特許庁公式サイト)で参照する
関連特許
株式会社ダイフク
倉庫
1か月前
株式会社ダイフク
倉庫
2か月前
株式会社ダイフク
搬送車
2日前
株式会社ダイフク
搬送装置
2か月前
株式会社ダイフク
洗浄装置
1か月前
株式会社ダイフク
洗浄装置
1か月前
株式会社ダイフク
搬送設備
12日前
株式会社ダイフク
搬送設備
1か月前
株式会社ダイフク
作業設備
26日前
株式会社ダイフク
搬送設備
1か月前
株式会社ダイフク
搬送設備
1か月前
株式会社ダイフク
作業設備
2日前
株式会社ダイフク
作業設備
2日前
株式会社ダイフク
作業設備
2日前
株式会社ダイフク
作業設備
2日前
株式会社ダイフク
作業設備
2日前
株式会社ダイフク
作業設備
2日前
株式会社ダイフク
物品搬送設備
1か月前
株式会社ダイフク
物品搬送設備
12日前
株式会社ダイフク
物品搬送設備
22日前
株式会社ダイフク
物品搬送設備
12日前
株式会社ダイフク
搬送システム
6日前
株式会社ダイフク
物品搬送設備
1か月前
株式会社ダイフク
ローラコンベヤ
1か月前
株式会社ダイフク
自動倉庫システム
2日前
株式会社ダイフク
車両コーティング剤
2か月前
株式会社ダイフク
移動体清掃システム
20日前
株式会社ダイフク
手荷物保管システム
26日前
株式会社ダイフク
洗車機および洗車方法
2か月前
株式会社ダイフク
治具、および交換補助具
12日前
株式会社ダイフク
開閉機構およびカバー構造
1か月前
株式会社ダイフク
物品処理装置、及び、物品保管設備
1か月前
株式会社ダイフク
洗浄装置および洗浄装置管理システム
1か月前
株式会社ダイフク
搬送車、及び、搬送車を備えた搬送設備
1か月前
台湾大福高科技設備股分有限公司
物体搬送システム
2日前
台湾大福高科技設備股分有限公司
物体搬送システム
2か月前
続きを見る
他の特許を見る