TOP
|
特許
|
意匠
|
商標
特許ウォッチ
Twitter
他の特許を見る
10個以上の画像は省略されています。
公開番号
2025110219
公報種別
公開特許公報(A)
公開日
2025-07-28
出願番号
2024004026
出願日
2024-01-15
発明の名称
差動式分布型感知器の空気管
出願人
能美防災株式会社
代理人
弁理士法人エビス国際特許事務所
主分類
G08B
17/04 20060101AFI20250718BHJP(信号)
要約
【課題】本発明は、低コストで取り付け領域の美観に影響を与えることの少ない差動式分布型感知器の空気管を提供することを課題とする。
【解決手段】本発明の差動式分布型感知器の空気管は、周囲光を鏡面反射することを特徴とする。
【選択図】 図3
特許請求の範囲
【請求項1】
周囲光を鏡面反射することを特徴とする、
差動式分布型感知器の空気管。
続きを表示(約 380 文字)
【請求項2】
空気を内部に保持する金属製の空気保持管と、前記空気保持管の周囲を覆う樹脂製の被覆を有し、
前記被覆の外側で鏡面反射する、
ことを特徴とする請求項1に記載された差動式分布型感知器の空気管。
【請求項3】
空気を内部に保持する金属製の空気保持管の外側で鏡面反射する、
ことを特徴とする請求項1に記載された差動式分布型感知器の空気管。
【請求項4】
前記空気保持管の周囲を覆う樹脂製の被覆を有し、
前記被覆は透明である、
ことを特徴とする請求項3に記載された差動式分布型感知器の空気管。
【請求項5】
前記鏡面反射をする表面は、空気管の断面において少なくとも一部が突出していることを特徴とする請求項1乃至4のいずれか一項に記載された差動式分布型感知器の空気管。
発明の詳細な説明
【技術分野】
【0001】
本発明は、火災を感知する差動式分布型感知器の空気管に関するものである。
続きを表示(約 1,300 文字)
【背景技術】
【0002】
火災感知器は、煙や熱等を感知して火災情報信号を火災受信機に送信する。そして、火災情報信号を受信した火災受信機は火災警報を発する。文化財の多くは、火災に弱い木材等を素材としており、防火対策が重要である。しかしながら、火災感知器を文化財に設置することは、文化財の美観に大きく影響を及ぼすため好まれない。
【0003】
文化財には、特許文献1に記載されているような、差動式分布型感知器を用いることができる。差動式分布型感知器は、細い銅パイプの空気管を火災感知領域に這わせ、火災による空気管内の急激な温度上昇による空気膨張を検出して火災を感知する。差動式分布型感知器の空気管は、スポット型の煙感知器や熱感知器と比べて目立たず、文化財等の美観を損ないにくい。
【先行技術文献】
【特許文献】
【0004】
特開2011-145107号公報
【発明の概要】
【発明が解決しようとする課題】
【0005】
差動式分布型感知器は、他の火災感知器よりは美観を損なわないが、銅パイプ等により形成された空気管が火災感知領域に広く露出するため、やはり美観に影響を与えてしまう。空気管に着色をすることも考えられるが、敷設する場所に応じた種々の色に対応した着色の空気管を用意する必要があり、高コストとなる。
【0006】
本発明は、低コストで取り付け領域の美観に影響を与えることの少ない差動式分布型感知器の空気管を提供することを課題とする。
【課題を解決するための手段】
【0007】
本発明の一実施形態における差動式分布型感知器の空気管は、周囲光を鏡面反射することを特徴とする。
【発明の効果】
【0008】
本発明により、低コストで取り付け領域の美観に影響を与えることの少ない差動式分布型感知器を得ることができる。
【図面の簡単な説明】
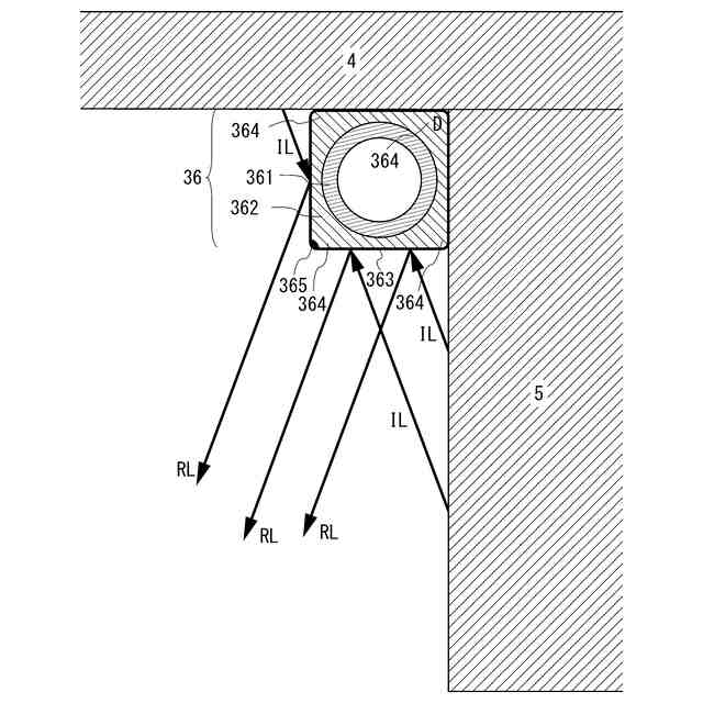
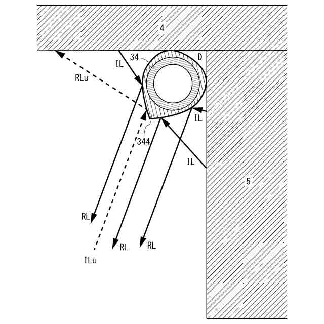
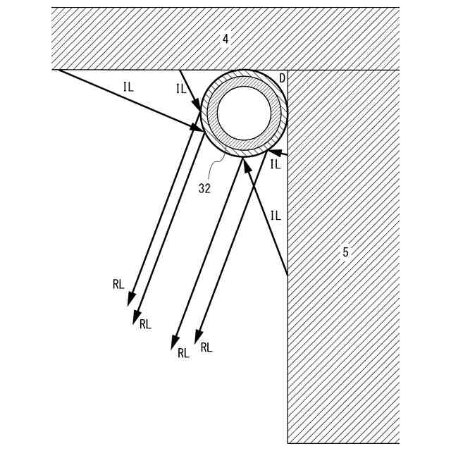
【0009】
差動式分布型感知器を用いた火災報知システムを示す図。
実施例1の空気管の断面図。
天井の隅部に設置した実施例1の空気管の断面図。
実施例2の空気管の断面図。
実施例3の空気管の断面図。
天井の隅部に設置した実施例3の空気管の断面図。
実施例4の空気管の断面図。
天井の隅部に設置した実施例5の空気管の断面図。
天井に設置した実施例6の空気管の断面図。
【発明を実施するための形態】
【0010】
まず、図1において、差動式分布型感知器3を用いた火災報知システムを示す。差動式分布型感知器3は圧力感知部31と実施例1の空気管32を有している。空気管32は火災監視対象の建造物の天井等に敷設される。そして、差動式分布型感知器3は、火災の熱による空気管32の内部空気の圧力変化を圧力感知部31で捉えて火災を感知する。圧力感知部31が火災を感知すると、配線2を介して火災受信機1に火災情報信号が送られ、火災受信機1により火災報知が行われる。実施例2以降の空気管33~37についても同様である。
【実施例】
(【0011】以降は省略されています)
この特許をJ-PlatPat(特許庁公式サイト)で参照する
関連特許
能美防災株式会社
表示灯
22日前
能美防災株式会社
警報器
2か月前
能美防災株式会社
発信装置
1か月前
能美防災株式会社
消火設備
1日前
能美防災株式会社
無線機器
1か月前
能美防災株式会社
炎検知器
1か月前
能美防災株式会社
火災感知器
2か月前
能美防災株式会社
火災感知器
27日前
能美防災株式会社
現地操作盤
1か月前
能美防災株式会社
消火栓装置
2か月前
能美防災株式会社
火災受信機
24日前
能美防災株式会社
火災感知器
1か月前
能美防災株式会社
炎検出装置
3か月前
能美防災株式会社
非常伝達装置
1か月前
能美防災株式会社
ガス検出装置
1か月前
能美防災株式会社
散水システム
1か月前
能美防災株式会社
避難システム
24日前
能美防災株式会社
避難システム
1か月前
能美防災株式会社
防災システム
21日前
能美防災株式会社
防災システム
1日前
能美防災株式会社
感知器ベース
3日前
能美防災株式会社
火災監視システム
23日前
能美防災株式会社
火災報知システム
3か月前
能美防災株式会社
火災監視システム
1か月前
能美防災株式会社
延焼防止システム
24日前
能美防災株式会社
防災管理システム
24日前
能美防災株式会社
災害通報システム
24日前
能美防災株式会社
中継器の配線接続構造
15日前
能美防災株式会社
ガス警報器用の試験器
27日前
能美防災株式会社
消火剤貯蔵容器カバー
2か月前
能美防災株式会社
煙感知器用の加煙試験器
27日前
能美防災株式会社
警報器及び警報システム
2か月前
能美防災株式会社
泡消火方法及び泡消火設備
22日前
能美防災株式会社
塵芥車の火災検知システム
1日前
能美防災株式会社
差動式分布型感知器の空気管
2か月前
能美防災株式会社
防災設備の製造管理システム
1日前
続きを見る
他の特許を見る