TOP
|
特許
|
意匠
|
商標
特許ウォッチ
Twitter
他の特許を見る
10個以上の画像は省略されています。
公開番号
2025118088
公報種別
公開特許公報(A)
公開日
2025-08-13
出願番号
2024013190
出願日
2024-01-31
発明の名称
電子機器筐体
出願人
沖電気工業株式会社
代理人
弁理士法人レクスト国際特許事務所
主分類
H05K
5/02 20060101AFI20250805BHJP(他に分類されない電気技術)
要約
【課題】開口からの蓋体の開放時に蓋体が動かない電子機器筐体を提供する。
【解決手段】電子機器筐体は、壁部に設けられた開口を塞ぐ閉位置と開口を開放する開位置との間で揺動可能な蓋体を有する電子機器筐体であって、蓋体は、壁部の開口の周囲領域の固定位置に保持される固定端部と固定端部の反対側の端部である揺動端部を含み開口を塞ぐ板状部とを有するエラストマー部材であり、板状部は、面内方向に拡張した凸部を備え、壁部は、閉位置にて凸部と係合して蓋体を係止する閉塞用凹部と、開位置にて凸部と係合して蓋体を係止する開放用凹部と、を備える。
【選択図】図1
特許請求の範囲
【請求項1】
壁部に設けられた開口を塞ぐ閉位置と前記開口を開放する開位置との間で揺動可能な蓋体を有する電子機器筐体であって、
前記蓋体は、前記壁部の前記開口の周囲領域の固定位置に保持される固定端部と前記固定端部の反対側の端部である揺動端部を含み前記開口を塞ぐ板状部とを有するエラストマー部材であり、
前記板状部は、面内方向に拡張した凸部を備え、
前記壁部は、前記閉位置にて前記凸部と係合して前記蓋体を係止する閉塞用凹部と、前記開位置にて前記凸部と係合して前記蓋体を係止する開放用凹部と、を備える
ことを特徴とする電子機器筐体。
続きを表示(約 1,100 文字)
【請求項2】
前記凸部は、前記凸部の変形によるゴム弾性力により前記開放用凹部又は前記閉塞用凹部と係合し接触する
ことを特徴とする請求項1に記載の電子機器筐体。
【請求項3】
前記蓋体の前記閉位置と前記開位置は、前記蓋体が前記固定端部を中心に反転し前記板状部が裏返しとなる位置であり、
前記板状部の前記凸部並びに前記壁部の前記閉塞用凹部及び前記開放用凹部はそれぞれ少なくとも一つ設けられている、
ことを特徴とする請求項1に記載の電子機器筐体。
【請求項4】
前記壁部の前記閉塞用凹部は、前記固定位置から離れた前記開口の両側に対向して一対設けられ、
前記板状部の前記凸部は、一対の前記閉塞用凹部に対応して、前記板状部から互いに反対方向に突出するように一対設けられ、
前記開放用凹部は、前記固定位置を中心に前記蓋体が反転した場合に前記板状部の前記凸部が前記壁部に接する位置に一対設けられている、
ことを特徴とする請求項3に記載の電子機器筐体。
【請求項5】
前記板状部の前記凸部の先端部には、鏃身部を備え、
前記壁部の前記開放用凹部及び前記閉塞用凹部は、前記鏃身部の鏃身関部と係合する段差を有する
ことを特徴とする請求項1に記載の電子機器筐体。
【請求項6】
前記壁部の前記閉塞用凹部と前記開放用凹部は、前記凸部が接触しつつ挿入されるようなスリットを有する
ことを特徴とする請求項3に記載の電子機器筐体。
【請求項7】
前記閉位置及び前記開位置にて前記蓋体の前記板状部が前記壁部の表面に沿って延在するように前記固定端部の周囲の前記壁部の一部が陥没している
ことを特徴とする請求項1に記載の電子機器筐体。
【請求項8】
前記蓋体の内部側に設けられ且つ前記開口を介し外部から外部コネクタを差し込まれるために露出する内部コネクタを有する
ことを特徴とする請求項1に記載の電子機器筐体。
【請求項9】
前記蓋体は、前記壁部の前記固定位置にて前記壁部にインサート成形又は二色成形されて設けられている
ことを特徴とする請求項1に記載の電子機器筐体。
【請求項10】
前記蓋体は、前記壁部の前記固定位置に設けられ且つ前記蓋体の前記固定端部が嵌合される連結開口を有し、
前記連結開口の内面には前記壁部の面内方向に突き出た突出部が設けられ、前記突出部に嵌合する窪みが前記蓋体の前記固定端部に設けられている
ことを特徴とする請求項1に記載の電子機器筐体。
(【請求項11】以降は省略されています)
発明の詳細な説明
【技術分野】
【0001】
本発明は、電子機器筐体に関し、特に電子機器の例えば内部コネクタ等のための開口に設けられた蓋構造に関する。
続きを表示(約 2,000 文字)
【背景技術】
【0002】
電子機器筐体の開口への塵等の異物の進入を塞ぐために、防塵キャップを開口近傍に一体化する防塵蓋構造が知られている(特許文献1、参照)。特許文献1には、電子機器の筐体内に設けた内部コネクタへ接続した外部コネクタが抜け出るのを防止するとともに、接続した外部コネクタに外力が加わったとしても外部コネクタが揺れ動くことがないように構成した電子機器の外部コネクタ抜け止め構造が記載されている。
【先行技術文献】
【特許文献】
【0003】
特開2007-220506号公報
【発明の概要】
【発明が解決しようとする課題】
【0004】
しかしながら、特許文献1に記載された従来の電子機器筐体の外部コネクタ抜け止め構造では、開口からの蓋体の開放時に蓋体を収容する構造が筐体に設けられていない。よって、抜け止め部と外部コネクタが係合する場合、蓋体は特定の位置で固定されるが、開放時に抜け止め構造が不要な電子機器筐体に適用する場合、蓋体は開放時に筐体に固定されることがないので、ヒンジを軸に蓋体が自由に動いてしまうため、電子機器の使用時に蓋体が邪魔になるといった問題があった。
【0005】
本発明は、以上の従来技術の問題点に鑑みなされたものであり、開口からの蓋体の開放時に蓋体が動かない電子機器筐体を提供することが一例として挙げられる。
【課題を解決するための手段】
【0006】
本発明の電子機器筐体は、壁部に設けられた開口を塞ぐ閉位置と前記開口を開放する開位置との間で揺動可能な蓋体を有する電子機器筐体であって、前記蓋体は、前記壁部の前記開口の周囲領域の固定位置に保持される固定端部と前記固定端部の反対側の端部である揺動端部を含み前記開口を塞ぐ板状部とを有するエラストマー部材であり、前記板状部は、面内方向に拡張した凸部を備え、前記壁部は、前記閉位置にて前記凸部と係合して前記蓋体を係止する閉塞用凹部と、前記開位置にて前記凸部と係合して前記蓋体を係止する開放用凹部と、を備えることを特徴とする。
【発明の効果】
【0007】
本発明によれば、電子機器筐体の壁部に設けられた開口と、開口近傍に一体に形成され、かつ開口を覆うことが可能なゴム弾性を有するエラストマーからなる蓋体と、蓋体が開口を露出させる開位置において蓋体を係止する蓋体の凸部と壁部の凹部を有するゆえに、開口に蓋をする場合は蓋体を開口側に倒すことで防塵キャップとして機能し、開口に蓋をしない場合は開口と反対側に蓋体を倒し筐体に密着させ壁部に収納することができる。
【図面の簡単な説明】
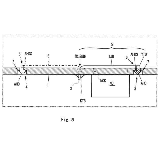
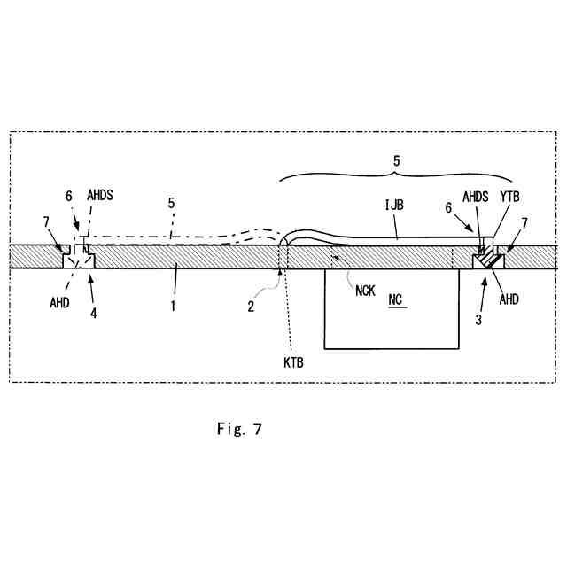
【0008】
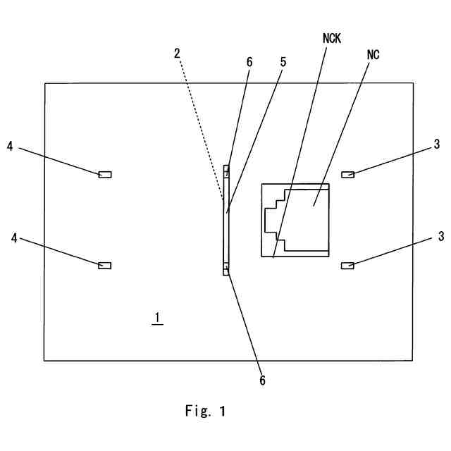
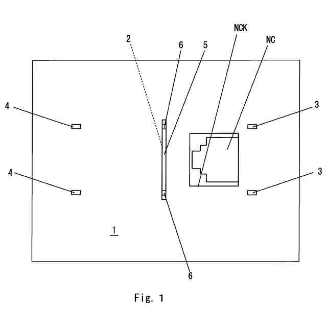
本発明による第1の実施例の電子機器の筐体壁部と蓋体を示す平面図である。
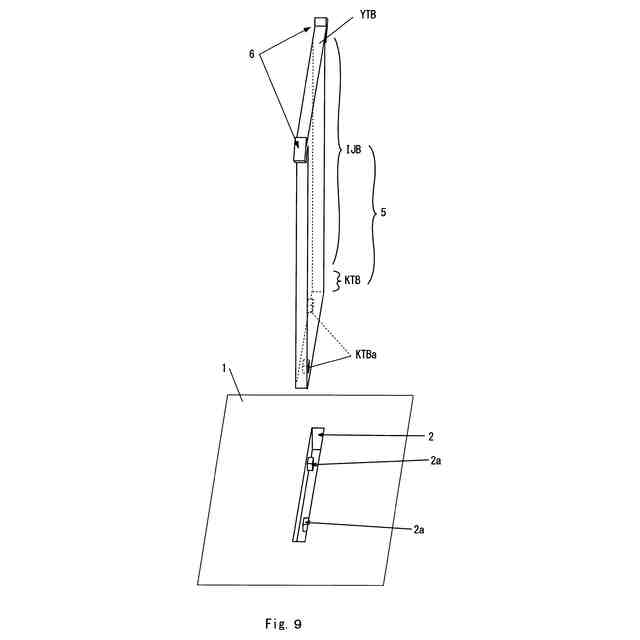
第1の実施例における筐体壁部に一体成形されている立設した蓋体の様子を示す概略斜視図である。
第1の実施例における蓋体を示す正面図である。
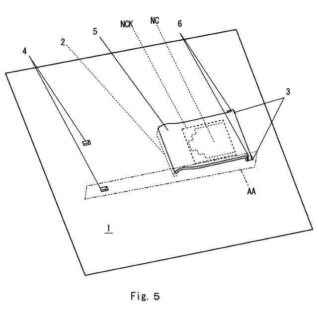
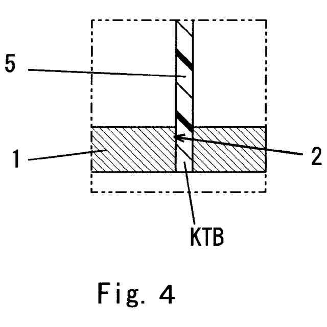
図2の線AAにおける壁部の連結開口付近の一部における蓋体を示す概略部分断面図である。
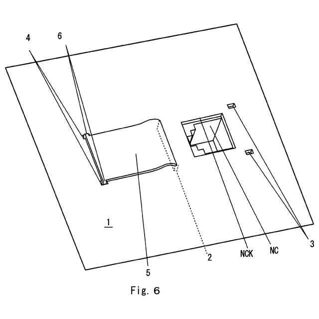
第1の実施例の電子機器の開口付近の一部における蓋体の閉位置を示す概略斜視図である。
第1の実施例の電子機器の開口付近の一部における蓋体の開位置を示す概略斜視図である。
図5の線AAにおける壁部の連結開口付近の一部における蓋体を示す概略部分断面図である。
第1の実施例の変形例における電子機器の閉塞用凹部付近の筐体壁部の一部における蓋体を示す概略部分断面図である。
本発明による第2の実施例の電子機器の筐体壁部と蓋体を示す概略分解斜視図である。
壁部と蓋体がスナップフィット結合した様子を示す当該結合の概略部分断面図である。
本発明による第3の実施例における筐体壁部に立設した蓋体の様子を示す概略斜視図である。
第3の実施例における蓋体を示す正面図である。
第3の実施例の電子機器の開口付近の一部における蓋体の閉位置を示す平面図である。
第3の実施例の電子機器の開口付近の一部における蓋体の閉位置を示す平面図である。
【発明を実施するための形態】
【0009】
以下、図面を参照しつつ本発明による実施例の電子機器筐体について詳細に説明する。なお、本発明は以下の実施例に限定されるものではない。なお、実施例において、実質的に同一の機能及び構成を有する構成要素については、同一の符号を付することにより重複説明を省略する。
【0010】
(第1の実施例)
図1は、本発明による第1の実施例の電子機器の筐体の一部の壁部1とこれに取り付けられた蓋体5を示す平面図である。図2は、本実施例における壁部1に一体成形されている立設した蓋体5の様子を示す概略斜視図である。
(【0011】以降は省略されています)
この特許をJ-PlatPat(特許庁公式サイト)で参照する
関連特許
沖電気工業株式会社
筐体
24日前
沖電気工業株式会社
アンテナ
1か月前
沖電気工業株式会社
線材保持具
1か月前
沖電気工業株式会社
レーダ装置
24日前
沖電気工業株式会社
媒体搬送装置
24日前
沖電気工業株式会社
媒体処理装置
27日前
沖電気工業株式会社
情報処理装置
今日
沖電気工業株式会社
光導波路素子
29日前
沖電気工業株式会社
光導波路素子
29日前
沖電気工業株式会社
光導波路素子
29日前
沖電気工業株式会社
棒金収納装置
今日
沖電気工業株式会社
媒体処理装置
29日前
沖電気工業株式会社
紙幣処理装置
1か月前
沖電気工業株式会社
画像形成装置
3日前
沖電気工業株式会社
画像形成装置
3日前
沖電気工業株式会社
媒体処理装置
29日前
沖電気工業株式会社
媒体処理装置
29日前
沖電気工業株式会社
現金処理装置及び印字装置
13日前
沖電気工業株式会社
電源装置及び画像形成装置
23日前
沖電気工業株式会社
定着装置及び画像形成装置
27日前
沖電気工業株式会社
処理装置、プログラム及び方法
1か月前
沖電気工業株式会社
媒体識別装置及び媒体処理装置
1か月前
沖電気工業株式会社
画像形成装置及び画像処理方法
29日前
沖電気工業株式会社
紙葉類取扱装置及び現金処理装置
7日前
沖電気工業株式会社
レーザー振動計及び振動測定方法
29日前
沖電気工業株式会社
装置、設置方法、およびプログラム
24日前
沖電気工業株式会社
情報処理装置、プログラムおよび方法
1か月前
沖電気工業株式会社
反り防止治具および半田リフロー装置
24日前
沖電気工業株式会社
転写ベルトユニット及び画像形成装置
1か月前
沖電気工業株式会社
印刷制御装置及び印刷制御プログラム
24日前
沖電気工業株式会社
部品管理装置、プログラムおよび方法
3日前
沖電気工業株式会社
直流電源装置および二次電池充電方法
3日前
沖電気工業株式会社
情報処理装置、プログラムおよび方法
24日前
沖電気工業株式会社
収音装置、収音プログラム及び収音方法
29日前
沖電気工業株式会社
情報処理装置、検証方法及びプログラム
27日前
沖電気工業株式会社
処理装置、処理プログラム及び処理方法
1か月前
続きを見る
他の特許を見る