TOP
|
特許
|
意匠
|
商標
特許ウォッチ
Twitter
他の特許を見る
公開番号
2025150285
公報種別
公開特許公報(A)
公開日
2025-10-09
出願番号
2024051093
出願日
2024-03-27
発明の名称
車両制御装置
出願人
トヨタ自動車株式会社
,
株式会社デンソー
代理人
個人
,
個人
,
個人
,
個人
,
個人
,
個人
,
個人
主分類
B60W
30/16 20200101AFI20251002BHJP(車両一般)
要約
【課題】自車両の速度よりも隣接車線の流れが速い状況において、隣接車両を走行する他車両が急に自車両の前方に移動されないように、自車両と前方車両との間に目標となる車間距離を設定する車両制御装置を提供する。
【解決手段】車両制御装置は、自車両が走行する走行車線と隣接する隣接車線を走行する他車両の代表速度が、自車両の速度よりも速いか否かを判定する判定部と、判定部によって、代表速度が自車両の速度よりも速いと判定された場合、自車両と自車両の前方に位置する前方車両との間の目標車間距離を、代表速度が自車両の速度以下の時よりも短く設定する設定部と、を有する。
【選択図】図2
特許請求の範囲
【請求項1】
自車両が走行する走行車線と隣接する隣接車線を走行する他車両の代表速度が、自車両の速度よりも速いか否かを判定する判定部と、
前記判定部によって、前記代表速度が自車両の速度よりも速いと判定された場合、自車両と自車両の前方に位置する前方車両との間の目標車間距離を、前記代表速度が自車両の速度以下の時よりも短く設定する設定部と、
を有する、ことを特徴とする車両制御装置。
続きを表示(約 750 文字)
【請求項2】
前記判定部によって、前記代表速度が自車両の速度よりも速いと判定された場合、前記設定部は、前記代表速度と自車両の速度との差が大きい程、前記代表速度が自車両の速度以下の時よりも短くなるように前記目標車間距離を設定する、請求項1に記載の車両制御装置。
【請求項3】
前記判定部によって、前記代表速度が自車両の速度よりも速いと判定された場合、前記設定部は、隣接車線における他車両同士の平均の車間距離が長い程、前記代表速度が自車両の速度以下の時よりも短くなるように前記目標車間距離を設定する、請求項1に記載の車両制御装置。
【請求項4】
前記判定部は、自車両が走行する走行車線と隣接する隣接車線を走行する他車両の代表速度が、自車両の速度よりも遅いか否かを判定し、
前記判定部によって、前記代表速度が自車両の速度よりも遅いと判定され、且つ、自車両と前方車両との距離が前記目標車間距離よりも離れている場合、自車両と前方車両との距離が前記目標車間距離となるのに要する時間を、前記代表速度が自車両の速度よりも遅いと判定されない場合よりも長くなるように、自車両を走行させることを決定する決定部を有する、請求項1に記載の車両制御装置。
【請求項5】
前記判定部によって、前記代表速度が自車両の速度よりも遅いと判定され、且つ、自車両と前方車両との距離が前記目標車間距離よりも離れている場合、前記決定部は、自車両の速度を第1の減速度で前記代表速度と一致するまで減速した後、前記第1の減速度よりも小さい第2の減速度で減速して、自車両と前方車両との距離が前記目標車間距離となるように、自車両を走行させることを決定する、請求項4に記載の車両制御装置。
発明の詳細な説明
【技術分野】
【0001】
本開示は、車両制御装置に関する。
続きを表示(約 1,100 文字)
【背景技術】
【0002】
従来、自車両と前方車両との間に目標となる目標車間距離が保たれるように、自車両を制御する車両制御装置が知られている。
【0003】
また、車両制御装置は、自車両が走行する走行車線に隣接する隣接車線を走行する他車両が、自車両の前方に割り込んでくる可能性を判定して、他車両と自車両との間に安全な距離が保たれるように、自車両の速度を制御することを行っている(例えば、特許文献1参照)。
【先行技術文献】
【特許文献】
【0004】
特開2007-253723号公報
【発明の概要】
【発明が解決しようとする課題】
【0005】
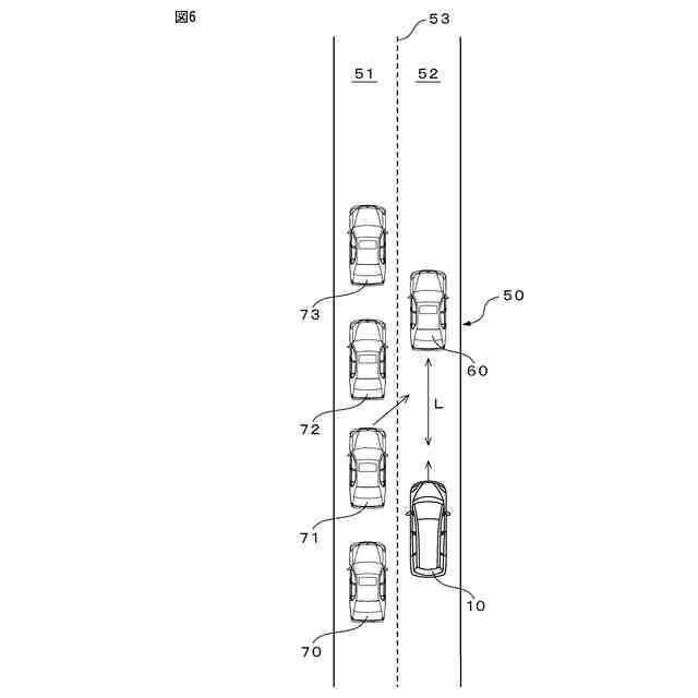
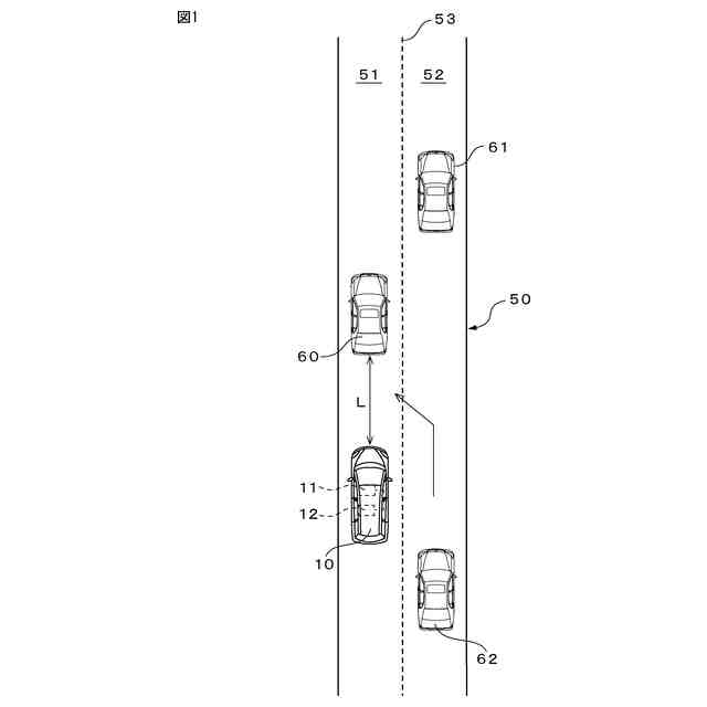
しかし、自車両の速度よりも隣接車線の流れが速い状況において、自車両と前方車両との間に目標となる車間距離を維持するように走行していると、隣接車線を走行する他車両が速い速度で急に自車両の前方に割り込んでくる場合がある。
【0006】
このような場合、車両制御装置は、他車両と自車両との間に安全な距離が保たれるように、自車両を制御することが困難である。
【0007】
そこで、本開示は、自車両の速度よりも隣接車線の流れが速い状況において、隣接車両を走行する他車両が急に自車両の前方に移動されないように、自車両と前方車両との間に目標となる車間距離を設定する車両制御装置を提供することを課題とする。
【課題を解決するための手段】
【0008】
(1)一実施形態によれば、車両制御装置が提供される。この車両制御装置は、自車両が走行する走行車線と隣接する隣接車線を走行する他車両の代表速度が、自車両の速度よりも速いか否かを判定する判定部と、判定部によって、代表速度が自車両の速度よりも速いと判定された場合、自車両と自車両の前方に位置する前方車両との間の目標車間距離を、代表速度が自車両の速度以下の時よりも短く設定する設定部と、を有する、ことを特徴とする。
【0009】
(2)(1)の車両制御装置において、判定部によって、代表速度が自車両の速度よりも速いと判定された場合、設定部は、代表速度と自車両の速度との差が大きい程、代表速度が自車両の速度以下の時よりも短くなるように目標車間距離を設定することが好ましい。
【0010】
(3)(1)の車両制御装置において、判定部によって、代表速度が自車両の速度よりも速いと判定された場合、設定部は、隣接車線における他車両同士の平均の車間距離が長い程、代表速度が自車両の速度以下の時よりも短くなるように目標車間距離を設定することが好ましい。
(【0011】以降は省略されています)
この特許をJ-PlatPat(特許庁公式サイト)で参照する
関連特許
トヨタ自動車株式会社
車両
4日前
トヨタ自動車株式会社
電池
5日前
トヨタ自動車株式会社
車両
3日前
トヨタ自動車株式会社
固定子
4日前
トヨタ自動車株式会社
加熱器
3日前
トヨタ自動車株式会社
車両構造
3日前
トヨタ自動車株式会社
制御装置
3日前
トヨタ自動車株式会社
バッテリ
4日前
トヨタ自動車株式会社
バッテリ
4日前
トヨタ自動車株式会社
塗工装置
4日前
トヨタ自動車株式会社
二次電池
4日前
トヨタ自動車株式会社
製造装置
4日前
トヨタ自動車株式会社
蓄電装置
3日前
トヨタ自動車株式会社
監視装置
4日前
トヨタ自動車株式会社
通話装置
3日前
トヨタ自動車株式会社
車載装置
3日前
トヨタ自動車株式会社
三角表示板
3日前
トヨタ自動車株式会社
ガスタンク
3日前
トヨタ自動車株式会社
情報処理装置
4日前
トヨタ自動車株式会社
情報処理装置
3日前
トヨタ自動車株式会社
情報処理装置
3日前
トヨタ自動車株式会社
情報提供装置
4日前
トヨタ自動車株式会社
車載システム
3日前
トヨタ自動車株式会社
制御システム
3日前
トヨタ自動車株式会社
車両制御装置
4日前
トヨタ自動車株式会社
電力制御装置
4日前
トヨタ自動車株式会社
情報処理装置
4日前
トヨタ自動車株式会社
被膜形成装置
4日前
トヨタ自動車株式会社
車両前部構造
4日前
トヨタ自動車株式会社
車両前部構造
4日前
トヨタ自動車株式会社
車両下部構造
4日前
トヨタ自動車株式会社
電池交換装置
4日前
トヨタ自動車株式会社
車両製造方法
4日前
トヨタ自動車株式会社
人工筋肉装置
4日前
トヨタ自動車株式会社
電池システム
3日前
トヨタ自動車株式会社
車両制御装置
4日前
続きを見る
他の特許を見る