TOP
|
特許
|
意匠
|
商標
特許ウォッチ
Twitter
他の特許を見る
10個以上の画像は省略されています。
公開番号
2025126870
公報種別
公開特許公報(A)
公開日
2025-08-29
出願番号
2024040863
出願日
2024-03-15
発明の名称
スクリーンメッシュ、スクリーンマスク、導電パターンの製造方法、および導電性基材の製造方法
出願人
株式会社サトー
代理人
個人
主分類
B41N
1/24 20060101AFI20250822BHJP(印刷;線画機;タイプライター;スタンプ)
要約
【課題】厚さムラが小さい印刷を可能とするスクリーンメッシュを提供する。
【解決手段】スクリーンメッシュ10は、導電性インクを印刷するためのスクリーンメッシュである。スクリーンメッシュ10は、平面視で、第1群と第2群とが組み合わされた構造を有する部分を含む。第1群は、それぞれが第1の方向に延在する複数の波線110aからなる。第2群は、それぞれが第2の方向に延在する複数の波線110bからなる。第2の方向は第1の方向とは異なる方向である。
【選択図】図1
特許請求の範囲
【請求項1】
導電性インクを印刷するためのスクリーンメッシュであって、
平面視で、それぞれが第1の方向に延在する複数の波線からなる第1群と、それぞれが前記第1の方向とは異なる第2の方向に延在する複数の波線からなる第2群と、が組み合わされた構造を有する部分を含む
スクリーンメッシュ。
続きを表示(約 2,100 文字)
【請求項2】
請求項1に記載のスクリーンメッシュにおいて、
平面視で、前記第1群を構成する前記複数の波線は互いに離間しており、前記第2群を構成する前記複数の波線は互いに離間している
スクリーンメッシュ。
【請求項3】
請求項2に記載のスクリーンメッシュにおいて、
平面視で、前記第1群を構成する前記複数の波線間の最短距離は、前記第2群を構成する前記複数の波線間の最短距離の0.95倍以上1.05倍以下である、
スクリーンメッシュ。
【請求項4】
請求項1または2に記載のスクリーンメッシュにおいて、
平面視で、前記第1群を構成する前記複数の波線のそれぞれは、前記第2群を構成する前記複数の波線のうち少なくともいずれかと交わっている
スクリーンメッシュ。
【請求項5】
請求項4に記載のスクリーンメッシュにおいて、
平面視で、前記第1群を構成する前記複数の波線のそれぞれは、前記第2群を構成する前記複数の波線のうち少なくともいずれかと、変曲点同士が交差するように交わっている
スクリーンメッシュ。
【請求項6】
請求項1または2に記載のスクリーンメッシュにおいて、
平面視で、前記第1群を構成する前記複数の波線のうち、隣り合う波線同士は線対称であり、前記第2群を構成する前記複数の波線のうち、隣り合う波線同士は線対称である、
スクリーンメッシュ。
【請求項7】
請求項1または2に記載のスクリーンメッシュにおいて、
平面視で、前記第1群を構成する前記複数の波線が描く波の周期の平均は、前記第2群を構成する前記複数の波線が描く波の周期の平均の0.95倍以上1.05倍以下であり、
平面視で、前記第1群を構成する前記複数の波線が描く波の振幅の平均は、前記第2群を構成する前記複数の波線が描く波の振幅の平均の0.95倍以上1.05倍以下である、
スクリーンメッシュ。
【請求項8】
請求項1または2に記載のスクリーンメッシュにおいて、
平面視で、当該スクリーンメッシュは、周期単位が二次元に配列された周期構造を有し、
前記周期単位は正方形であり、
当該スクリーンメッシュ上で、長方形のスリットを、前記スリットの短辺の長さ分ずつその短辺方向に移動させ、各スリット位置における前記スリットを通した開口面積を特定し、特定した複数の前記開口面積のうちの最大値をS
max
、最小値をS
min
としたとき、変動度M=(S
max
-S
min
)/(S
max
+S
min
)で算出される変動度Mが、前記スリットの向きが第1の状態である場合と、第2の状態である場合のいずれでも、0.8以下であり、
前記スリットの長辺の長さは前記周期単位である正方形の一辺の長さであり、前記スリットの短辺の長さは前記波線の平面視における線幅の2分の1倍であり、
前記第1の状態は、前記スリットの長辺が、前記周期単位である正方形のいずれかの辺に平行である状態であり、
前記第2の状態は、前記スリットの向きが、前記第1の状態から時計回りに45°回転した状態である
スクリーンメッシュ。
【請求項9】
請求項1または2に記載のスクリーンメッシュにおいて、
平面視で、当該スクリーンメッシュは、周期単位が二次元に配列された周期構造を有し、
前記周期単位は長方形であり、
当該スクリーンメッシュ上で、長方形のスリットを、前記スリットの短辺の長さ分ずつその短辺方向に移動させ、各スリット位置における前記スリットを通した開口面積を特定し、特定した複数の前記開口面積のうちの最大値をS
max
、最小値をS
min
としたとき、変動度M=(S
max
-S
min
)/(S
max
+S
min
)で算出される変動度Mが、前記スリットの向きが第1の状態である場合と、第2の状態である場合のいずれでも、0.8以下であり、
前記スリットの長辺の長さは前記周期単位である長方形の長辺の長さであり、前記スリットの短辺の長さは前記波線の平面視における線幅の2分の1倍であり、
前記第1の状態は、前記スリットの長辺が、前記周期単位である長方形の長辺に平行である状態であり、
前記第2の状態は、前記スリットの向きが、前記第1の状態から時計回りに45°回転した状態である
スクリーンメッシュ。
【請求項10】
請求項1または2に記載のスクリーンメッシュにおいて、
前記複数の波線はそれぞれ曲線からなる
スクリーンメッシュ。
(【請求項11】以降は省略されています)
発明の詳細な説明
【技術分野】
【0001】
本発明はスクリーンメッシュ、スクリーンマスク、導電パターンの製造方法、および導電性基材の製造方法に関する。
続きを表示(約 3,500 文字)
【背景技術】
【0002】
スクリーン印刷の用途は様々であり、たとえば回路形成にも利用されている。
【0003】
特許文献1には、交差せずにほぼ同じ方向に延びる2本以上のワイヤピースを含むワイヤ製スクリーン材が開示されている。特許文献1に記載された発明は、金属スクリーンの有利な印刷特性を持ち、単純かつ少ない費用で多数の材料から製造することができるワイヤ製スクリーン材を提供することを目的としている。
【先行技術文献】
【特許文献】
【0004】
特表平9-507042号公報
【発明の概要】
【発明が解決しようとする課題】
【0005】
しかし、特許文献1に記載のスクリーン材では、印刷における厚さムラについて、低減の余地があった。
【0006】
本発明は、厚さムラが小さい印刷を可能とするスクリーンメッシュを提供する。
【課題を解決するための手段】
【0007】
本発明の一形態によれば、以下のスクリーンメッシュ、スクリーンマスク、導電パターン、および導電性基材の製造方法が提供される。
【0008】
1. 導電性インクを印刷するためのスクリーンメッシュであって、
平面視で、それぞれが第1の方向に延在する複数の波線からなる第1群と、それぞれが前記第1の方向とは異なる第2の方向に延在する複数の波線からなる第2群と、が組み合わされた構造を有する部分を含む
スクリーンメッシュ。
2. 1.に記載のスクリーンメッシュにおいて、
平面視で、前記第1群を構成する前記複数の波線は互いに離間しており、前記第2群を構成する前記複数の波線は互いに離間している
スクリーンメッシュ。
3. 2.に記載のスクリーンメッシュにおいて、
平面視で、前記第1群を構成する前記複数の波線間の最短距離は、前記第2群を構成する前記複数の波線間の最短距離の0.95倍以上1.05倍以下である、
スクリーンメッシュ。
4. 1.から3.のいずれか一つに記載のスクリーンメッシュにおいて、
平面視で、前記第1群を構成する前記複数の波線のそれぞれは、前記第2群を構成する前記複数の波線のうち少なくともいずれかと交わっている
スクリーンメッシュ。
5. 4.に記載のスクリーンメッシュにおいて、
平面視で、前記第1群を構成する前記複数の波線のそれぞれは、前記第2群を構成する前記複数の波線のうち少なくともいずれかと、変曲点同士が交差するように交わっている
スクリーンメッシュ。
6. 1.から5.のいずれか一つに記載のスクリーンメッシュにおいて、
平面視で、前記第1群を構成する前記複数の波線のうち、隣り合う波線同士は線対称であり、前記第2群を構成する前記複数の波線のうち、隣り合う波線同士は線対称である、
スクリーンメッシュ。
7. 1.から6.のいずれか一つに記載のスクリーンメッシュにおいて、
平面視で、前記第1群を構成する前記複数の波線が描く波の周期の平均は、前記第2群を構成する前記複数の波線が描く波の周期の平均の0.95倍以上1.05倍以下であり、
平面視で、前記第1群を構成する前記複数の波線が描く波の振幅の平均は、前記第2群を構成する前記複数の波線が描く波の振幅の平均の0.95倍以上1.05倍以下である、
スクリーンメッシュ。
8. 1.から7.のいずれか一つに記載のスクリーンメッシュにおいて、
平面視で、当該スクリーンメッシュは、周期単位が二次元に配列された周期構造を有し、
前記周期単位は正方形であり、
当該スクリーンメッシュ上で、長方形のスリットを、前記スリットの短辺の長さ分ずつその短辺方向に移動させ、各スリット位置における前記スリットを通した開口面積を特定し、特定した複数の前記開口面積のうちの最大値をS
max
、最小値をS
min
としたとき、変動度M=(S
max
-S
min
)/(S
max
+S
min
)で算出される変動度Mが、前記スリットの向きが第1の状態である場合と、第2の状態である場合のいずれでも、0.8以下であり、
前記スリットの長辺の長さは前記周期単位である正方形の一辺の長さであり、前記スリットの短辺の長さは前記波線の平面視における線幅の2分の1倍であり、
前記第1の状態は、前記スリットの長辺が、前記周期単位である正方形のいずれかの辺に平行である状態であり、
前記第2の状態は、前記スリットの向きが、前記第1の状態から時計回りに45°回転した状態である
スクリーンメッシュ。
9. 1.から7.のいずれか一つに記載のスクリーンメッシュにおいて、
平面視で、当該スクリーンメッシュは、周期単位が二次元に配列された周期構造を有し、
前記周期単位は長方形であり、
当該スクリーンメッシュ上で、長方形のスリットを、前記スリットの短辺の長さ分ずつその短辺方向に移動させ、各スリット位置における前記スリットを通した開口面積を特定し、特定した複数の前記開口面積のうちの最大値をS
max
、最小値をS
min
としたとき、変動度M=(S
max
-S
min
)/(S
max
+S
min
)で算出される変動度Mが、前記スリットの向きが第1の状態である場合と、第2の状態である場合のいずれでも、0.8以下であり、
前記スリットの長辺の長さは前記周期単位である長方形の長辺の長さであり、前記スリットの短辺の長さは前記波線の平面視における線幅の2分の1倍であり、
前記第1の状態は、前記スリットの長辺が、前記周期単位である長方形の長辺に平行である状態であり、
前記第2の状態は、前記スリットの向きが、前記第1の状態から時計回りに45°回転した状態である
スクリーンメッシュ。
【発明の効果】
【0009】
本発明によれば、厚さムラが小さい印刷を可能とするスクリーンメッシュを提供できる。
【図面の簡単な説明】
【0010】
第1の実施形態に係るスクリーンメッシュを例示する図である。
平面視におけるスクリーンマスクの参考例である。
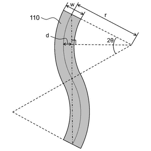
第1の実施形態に係る波線を例示する図である。
第1の実施形態に係る波線を例示する図である。
スクリーンメッシュの変動度Mについて説明するための図である。
スクリーンメッシュの変動度Mについて説明するための図である。
第1の実施形態に係るスクリーンマスクの構造を例示する図である。
第1の実施形態に係るスクリーンマスクの構造を例示する図である。
マスク層が有する開口を例示する図である。
導電パターンを含む構造体の構成を例示する断面図である。
比較例に係るスクリーンメッシュと、第1状態での複数のスリット位置との関係を示す図である。
比較例において、スリットが第1状態である場合の、スリット位置と、開口面積Sとの関係を示すグラフである。
比較例に係るスクリーンメッシュと、第2状態での複数のスリット位置との関係を示す図である。
比較例において、スリットが第2状態である場合の、スリット位置と、開口面積Sとの関係を示すグラフである。
実施例1において、スリットが第1状態である場合の、スリット位置と、開口面積Sとの関係を示すグラフである。
実施例1において、スリットが第2状態である場合の、スリット位置と、開口面積Sとの関係を示すグラフである。
第2の実施形態に係る導電性基材の製造方法の流れを例示する図である。
参考例に係る導電性基材の製造方法を例示する図である。
【発明を実施するための形態】
(【0011】以降は省略されています)
この特許をJ-PlatPat(特許庁公式サイト)で参照する
関連特許
株式会社サトー
プリンタ
4日前
株式会社サトー
識別バンド
2日前
株式会社サトー
衝撃センサ
23日前
株式会社サトー
衝撃センサ
23日前
株式会社サトー
衝撃センサ
23日前
株式会社サトー
プリンタ、方法
7日前
株式会社サトー
プリンタ、プリンタの制御方法、プログラム
7日前
株式会社サトー
情報処理システム、情報処理方法、プログラム
22日前
株式会社サトー
情報処理システム、情報処理方法、プログラム
14日前
株式会社サトー
情報処理システム、情報処理方法、プログラム
14日前
株式会社サトー
情報処理システム、プログラム、情報処理方法
7日前
株式会社サトー
プリンタ、プログラム、プリンタの情報処理方法
7日前
株式会社サトー
プリンタ、プリンタの情報処理方法、プログラム
7日前
株式会社サトー
プリンタ
1か月前
株式会社サトー
情報処理装置、情報処理システム、情報処理方法及びプログラム
今日
株式会社サトー
プリンタ、プリンタの情報処理方法、プログラム、情報処理システム
7日前
株式会社サトー
導電パターンを備えた基材、電子デバイス、電磁波シールドフィルムおよび面状発熱体
4日前
株式会社サトー
導電パターンを備えた基材、電子デバイス、電磁波シールドフィルムおよび面状発熱体
4日前
株式会社サトー
導電性膜、導電性基材、電子デバイス、RFタグ、電磁波シールドフィルムおよび面状発熱体
4日前
株式会社サトー
スクリーンメッシュ、スクリーンマスク、導電パターンの製造方法、および導電性基材の製造方法
1か月前
株式会社サトー
スクリーンメッシュ、スクリーンマスク、導電パターンの製造方法、および導電性基材の製造方法
1か月前
株式会社サトー
導電性基材の製造方法、電子デバイスの製造方法、および電磁波シールドフィルムの製造方法、面状発熱体の製造方法
4日前
株式会社サトー
導電性基材の製造方法、電子デバイスの製造方法、および電磁波シールドフィルムの製造方法、面状発熱体の製造方法
4日前
株式会社サトー
導電性基材の製造方法、電子デバイスの製造方法、電磁波シールドフィルムの製造方法、および面状発熱体の製造方法
4日前
株式会社サトー
導電性基材の製造方法、電子デバイスの製造方法、電磁波シールドフィルムの製造方法、および面状発熱体の製造方法
4日前
株式会社サトー
導電パターンを備えた基材の製造方法、電子デバイスの製造方法、電磁波シールドフィルムの製造方法、面状発熱体の製造方法および導電パターンを備えた基材
4日前
株式会社サトー
導電パターンを備えた基材の製造方法、電子デバイスの製造方法、電磁波シールドフィルムの製造方法、面状発熱体の製造方法および導電パターンを備えた基材
4日前
株式会社サトー
導電パターンを備えた基材の製造方法、電子デバイスの製造方法、電磁波シールドフィルムの製造方法、面状発熱体の製造方法および導電パターンを備えた基材の製造用の物品
4日前
株式会社サトー
導電パターンを備えた基材の製造方法、電子デバイスの製造方法、電磁波シールドフィルムの製造方法、面状発熱体の製造方法、導電パターンを備えた基材の製造のための中間構造体および導電パターンを備えた基材
4日前
個人
箔熱転写装置
23日前
シヤチハタ株式会社
印判
4か月前
シヤチハタ株式会社
反転式印判
8か月前
独立行政法人 国立印刷局
印刷物
6か月前
キヤノン株式会社
記録装置
16日前
三光株式会社
感熱記録材料
5か月前
株式会社リコー
液体吐出装置
4か月前
続きを見る
他の特許を見る