TOP
|
特許
|
意匠
|
商標
特許ウォッチ
Twitter
他の特許を見る
公開番号
2025132878
公報種別
公開特許公報(A)
公開日
2025-09-10
出願番号
2024030731
出願日
2024-02-29
発明の名称
衝撃センサ
出願人
株式会社サトー
代理人
弁理士法人後藤特許事務所
主分類
G01P
15/135 20060101AFI20250903BHJP(測定;試験)
要約
【課題】積層体により形成される衝撃センサであって、小面積化が可能な衝撃センサを提供する。
【解決手段】枠部2と、枠部2に対して軸部33を介して支持された回転可動子3と、回転可動子3に配置された第1可動電極と、第1可動電極に対向する位置に配置された固定電極と、を含み、外部から衝撃を受けることで回転可動子3が枠部2に対して変位して第1可動電極が固定電極に接触することで衝撃を検知するものとし、枠部2、軸部33、及び回転可動子3が一体物であるとともに当該一体物が支持層の上に活性層1cを積層した基板1から形成された衝撃センサ300であって、一体物の回転可動子3に係る部分の一部は、基板1から支持層を除去して得られる活性層1cにより形成され、一体物の回転可動子3に係る部分の一部を除く残余の部分は支持層が残された状態で形成されている。
【選択図】図3
特許請求の範囲
【請求項1】
固定子と、
前記固定子に対して第1弾性体を介して支持された第1可動子と、
前記第1可動子に配置された第1可動電極と、
前記第1可動電極に対向する位置に配置された固定電極と、を含み、
外部から衝撃を受けることで前記第1可動子が前記固定子に対して変位して前記第1可動電極が前記固定電極に接触することで前記衝撃を検知するものとし、
前記固定子、前記第1弾性体、及び前記第1可動子が一体物であるとともに当該一体物が支持層の上に活性層を積層した積層体から形成された衝撃センサであって、
前記一体物の前記第1可動子に係る部分の一部は、前記積層体から前記支持層を除去して得られる前記活性層により形成され、前記一体物の前記第1可動子に係る部分の前記一部を除く残余の部分は前記支持層が残された状態で形成されている衝撃センサ。
続きを表示(約 1,900 文字)
【請求項2】
前記一体物の前記第1弾性体に係る部分は、前記積層体から前記支持層を除去して得られる前記活性層により形成されている請求項1に記載の衝撃センサ。
【請求項3】
前記第1可動子は、前記第1弾性体を回転軸として回転可能な回転可動子であり、
前記回転可動子は、前記回転可動子の重心が前記回転軸から離間するように前記第1弾性体に支持され、前記回転可動子の回転軸方向と、前記回転軸方向に交差する方向であって前記回転軸と前記重心とを結ぶ半径方向と、に垂直な方向の前記衝撃を受けることで前記回転軸を中心として回転する態様で変位可能であり、
前記第1可動電極は、前記半径方向において前記回転軸から離間した位置に配置され、
前記回転可動子の変位により前記第1可動電極と前記固定電極とが接触することで前記衝撃を検知する請求項1に記載の衝撃センサ。
【請求項4】
前記回転可動子は、
前記重心を含む第1回転可動子と、
前記第1回転可動子から前記回転軸を挟んで前記重心の反対側に延出する第2回転可動子と、を含み、
前記第1可動電極は、
前記第1回転可動子に配置された第1回転可動電極と、
前記第2回転可動子に配置された第2回転可動電極と、を含み、
前記固定電極は、
前記第1回転可動電極に対向する位置に配置された第1固定電極と、
前記第2回転可動電極に対向する位置に配置された第2固定電極と、を含み、
前記第1回転可動子が前記第1固定電極に向けて変位するときに前記第1回転可動電極は前記第1固定電極と接触するとともに前記第2回転可動電極は前記第2固定電極から離間し、
前記第2回転可動子が前記第2固定電極に向けて変位するときに前記第1回転可動電極は前記第1固定電極から離間するとともに前記第2回転可動電極は前記第2固定電極と接触する請求項3に記載の衝撃センサ。
【請求項5】
前記一体物の前記第2回転可動子に係る部分は、前記積層体から前記支持層を除去して得られる前記活性層により形成され、
前記一体物の前記第1回転可動子に係る部分は、前記支持層を包含する請求項4に記載の衝撃センサ。
【請求項6】
前記第1回転可動子と前記固定子は、前記回転軸方向に交差する方向を長手方向とする梁部により連結され、
前記梁部は、前記一体物に含まれるとともに、前記一体物の前記梁部に係る部分は、前記積層体から前記支持層を除去して得られる前記活性層により形成され、前記第1回転可動子の変位に伴って変形可能である請求項4に記載の衝撃センサ。
【請求項7】
前記固定子に第2弾性体を介して支持された第2可動子と、
前記第2可動子に配置された第2可動電極と、を更に含み、
前記第2可動子及び前記第2弾性体は、前記一体物を形成するとともに、前記一体物の前記第2可動子及び前記第2弾性体に係る部分は、前記積層体から前記支持層を除去して得られる前記活性層により形成され、
前記固定子は、前記第1弾性体、及び/又は、前記梁部を介して前記第1回転可動電極及び前記第2回転可動電極と電気的に接続する第1接続電極と、
前記第2弾性体を介して前記第2可動電極に電気的に接続し且つ前記第1接続電極と絶縁するように配置された第2接続電極と、を含み、
前記第2可動子の変位方向は、前記回転可動子の変位方向に直交する請求項6に記載の衝撃センサ。
【請求項8】
前記固定子の前記第1接続電極と前記第2接続電極の間には、前記第1接続電極と前記第2接続電極とを互いに離間させる態様で絶縁させる溝部が配置され、
前記一体物の前記溝部に係る部分は、前記積層体から前記溝部の外形に倣って前記活性層を除去することで形成される前記活性層の開口部と、前記開口部において露出する前記支持層による底面と、を有する凹部である請求項7に記載の衝撃センサ。
【請求項9】
前記第2回転可動子の前記回転軸方向の幅は、前記第1回転可動子の前記回転軸方向の幅よりも狭く、
前記第2可動子は、前記第1回転可動子に対して前記第2可動子の変位方向に交差する方向から対向し且つ前記第2回転可動子に対して前記第2可動子の変位方向から対向するように配置されている請求項7に記載の衝撃センサ。
【請求項10】
前記梁部の前記長手方向の両端部は、前記回転軸方向から見て前記回転軸を挟むように配置されている請求項7に記載の衝撃センサ。
(【請求項11】以降は省略されています)
発明の詳細な説明
【技術分野】
【0001】
本発明は、衝撃センサに関する。
続きを表示(約 2,700 文字)
【背景技術】
【0002】
特許文献1は、トーションバーが錘を支持し、所定値以上の衝撃(加速度)が印加されたときに錘が回転(変位)し、錘に配置された電極と錘に対向する位置に配置された電極とが接触することで当該衝撃を検知する衝撃センサを開示している。
【先行技術文献】
【特許文献】
【0003】
特開2016-161500号公報
【発明の概要】
【発明が解決しようとする課題】
【0004】
ところで、上記のような衝撃センサをSOI(Silicon On Insulator)基板等の積層体を用いたMEMS(Micro Electro Mechanical System)構造により小面積化することが提案されている。例えばSOI基板は、支持層(シリコン基板、絶縁層)、活性層の順に積層された積層体であるが、MEMS構造を構成する可動子は、当該積層体のうち支持層を除去して得られる活性層により形成される。しかし、衝撃センサを小面積化すると、可動子の質量(慣性力)を確保することが困難となり、可動子と、可動子を支持する固定子と、の慣性力による相対変位が困難となり、小面積化には限界があった。
【0005】
そこで、本発明の一つの態様は、積層体により形成される衝撃センサであって、小面積化が可能な衝撃センサを提供することを目的とする。
【課題を解決するための手段】
【0006】
本発明の一つの態様によれば、固定子と、固定子に対して第1弾性体を介して支持された第1可動子と、第1可動子に配置された第1可動電極と、第1可動電極に対向する位置に配置された固定電極と、を含み、外部から衝撃を受けることで第1可動子が固定子に対して変位して第1可動電極が固定電極に接触することで衝撃を検知するものとし、固定子、第1弾性体、及び第1可動子が一体物であるとともに当該一体物が支持層の上に活性層を積層した積層体から形成された衝撃センサであって、一体物の第1可動子に係る部分の一部は、積層体から支持層を除去して得られる活性層により形成され、一体物の第1可動子に係る部分の一部を除く残余の部分は支持層が残された状態で形成されている。
【発明の効果】
【0007】
本発明の一つの態様によれば、積層体にエッチング処理を行うことにより衝撃センサを形成可能となり、衝撃センサを簡易且つ大量に製造できる。また、積層体の第1可動子の形成部分において積層体を構成する支持層を残す態様で第1可動子を形成するので、第1可動子が小面積であってもその質量(慣性力)を確保することができ、衝撃センサとしての機能を損なうことなく衝撃センサを小面積化できる。
【図面の簡単な説明】
【0008】
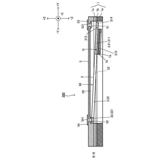
図1は、本実施形態の衝撃センサの斜視図である。
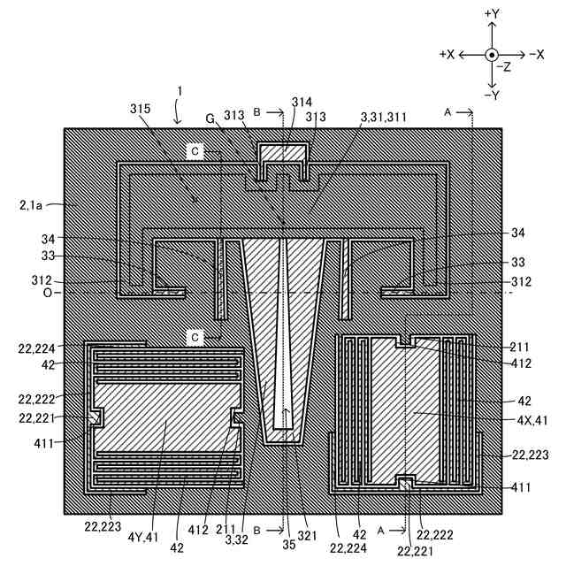
図2は、本実施形態に係る衝撃センサの基板の平面図である。
図3は、本実施形態に係る衝撃センサの基板の裏面図である。
図4は、本実施形態に係る衝撃センサの蓋部の平面図である。
図5は、図2乃至図4のA-A線断面図である。
図6は、図2乃至図4のB-B線断面図であって衝撃センサが-Z方向の衝撃を受ける前の回転可動子の状態、又は+Z方向の衝撃を受ける前の回転可動子の状態を示す図である。
図7は、図2乃至図4のB-B線断面図であって衝撃センサが-Z方向の衝撃を受けたときの回転可動子の状態を示す図である。
図8は、図2乃至図4のB-B線断面図であって衝撃センサが+Z方向の衝撃を受けたときの回転可動子の状態を示す図である。
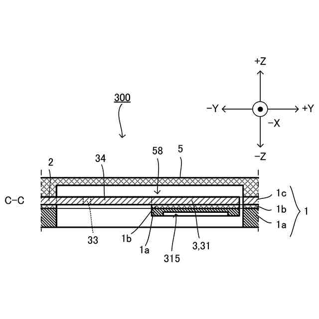
図9は、図2乃至図4のC-C線断面図であって衝撃センサが-Z方向の衝撃を受ける前の梁部の状態、又は+Z方向の衝撃を受ける前の梁部の状態を示す図である。
図10は、図2乃至図4のC-C線断面図であって衝撃センサが-Z方向の衝撃を受けたときの梁部の状態を示す図である。
図11は、図2乃至図4のC-C線断面図であって衝撃センサが+Z方向の衝撃を受けたときの梁部の状態を示す図である。
図12は、図2の部分詳細図である。
図13は、図12に示す配置においてX方向から衝撃を受けた場合であって、並進可動子が第1部材(緩衝電極)に接触したときを示す図である。
図14は、図12に示す配置においてX方向から衝撃を受けた場合であって、図13の状態から並進可動子が第1部材(緩衝電極)を更に押圧し、第1部材及び第2部材を支持する第3部材及び第4部材を変形させることで、並進可動子が第1部材(緩衝電極)とともに更に変位してストッパに接触した状態を示す。
図15は、本実施形態に係る衝撃センサの基板の第1変形例の平面図である。
図16は、本実施形態に係る衝撃センサの基板の第2変形例の平面図である。
図17は、本実施形態に係る衝撃センサを包含する電子タグの概略構成図である。
図18は、電子タグを構成するラッチ回路の一例を示す回路図である。
図19は、電子タグの作動の流れを示すフローチャートである。
図20は、電子タグの使用方法について説明するための図である。
【発明を実施するための形態】
【0009】
以下に記載する形態は、図面の簡単な説明により説明される図面に限定されるものではない。
【0010】
本発明の第1の態様は、固定子と、前記固定子に対して第1弾性体を介して支持された第1可動子と、前記第1可動子に配置された第1可動電極と、前記第1可動電極に対向する位置に配置された固定電極と、を含み、外部から衝撃を受けることで前記第1可動子が前記固定子に対して変位して前記第1可動電極が前記固定電極に接触することで前記衝撃を検知するものとし、前記固定子、前記第1弾性体、及び前記第1可動子が一体物であるとともに当該一体物が支持層の上に活性層を積層した積層体から形成された衝撃センサであって、前記一体物の前記第1可動子に係る部分の一部は、前記積層体から前記支持層を除去して得られる前記活性層により形成され、前記一体物の前記第1可動子に係る部分の前記一部を除く残余の部分は前記支持層が残された状態で形成されている衝撃センサである。
(【0011】以降は省略されています)
この特許をJ-PlatPat(特許庁公式サイト)で参照する
関連特許
株式会社サトー
プリンタ
9日前
株式会社サトー
衝撃センサ
28日前
株式会社サトー
衝撃センサ
28日前
株式会社サトー
衝撃センサ
28日前
株式会社サトー
識別バンド
7日前
株式会社サトー
プリンタ、方法
12日前
株式会社サトー
プリンタ、プリンタの制御方法、プログラム
12日前
株式会社サトー
情報処理システム、情報処理方法、プログラム
27日前
株式会社サトー
情報処理システム、情報処理方法、プログラム
19日前
株式会社サトー
情報処理システム、情報処理方法、プログラム
19日前
株式会社サトー
情報処理システム、プログラム、情報処理方法
12日前
株式会社サトー
プリンタ、プログラム、プリンタの情報処理方法
12日前
株式会社サトー
プリンタ、プリンタの情報処理方法、プログラム
12日前
株式会社サトー
プリンタ
1か月前
株式会社サトー
プリンタ
1か月前
株式会社サトー
情報処理装置、情報処理システム、情報処理方法及びプログラム
5日前
株式会社サトー
プリンタ、プリンタの情報処理方法、プログラム、情報処理システム
12日前
株式会社サトー
導電パターンを備えた基材、電子デバイス、電磁波シールドフィルムおよび面状発熱体
9日前
株式会社サトー
導電パターンを備えた基材、電子デバイス、電磁波シールドフィルムおよび面状発熱体
9日前
株式会社サトー
導電性膜、導電性基材、電子デバイス、RFタグ、電磁波シールドフィルムおよび面状発熱体
9日前
株式会社サトー
スクリーンメッシュ、スクリーンマスク、導電パターンの製造方法、および導電性基材の製造方法
1か月前
株式会社サトー
スクリーンメッシュ、スクリーンマスク、導電パターンの製造方法、および導電性基材の製造方法
1か月前
株式会社サトー
導電性基材の製造方法、電子デバイスの製造方法、および電磁波シールドフィルムの製造方法、面状発熱体の製造方法
9日前
株式会社サトー
導電性基材の製造方法、電子デバイスの製造方法、および電磁波シールドフィルムの製造方法、面状発熱体の製造方法
9日前
株式会社サトー
導電性基材の製造方法、電子デバイスの製造方法、電磁波シールドフィルムの製造方法、および面状発熱体の製造方法
9日前
株式会社サトー
導電性基材の製造方法、電子デバイスの製造方法、電磁波シールドフィルムの製造方法、および面状発熱体の製造方法
9日前
株式会社サトー
導電パターンを備えた基材の製造方法、電子デバイスの製造方法、電磁波シールドフィルムの製造方法、面状発熱体の製造方法および導電パターンを備えた基材
9日前
株式会社サトー
導電パターンを備えた基材の製造方法、電子デバイスの製造方法、電磁波シールドフィルムの製造方法、面状発熱体の製造方法および導電パターンを備えた基材
9日前
株式会社サトー
導電パターンを備えた基材の製造方法、電子デバイスの製造方法、電磁波シールドフィルムの製造方法、面状発熱体の製造方法および導電パターンを備えた基材の製造用の物品
9日前
株式会社サトー
導電パターンを備えた基材の製造方法、電子デバイスの製造方法、電磁波シールドフィルムの製造方法、面状発熱体の製造方法、導電パターンを備えた基材の製造のための中間構造体および導電パターンを備えた基材
9日前
個人
計量スプーン
29日前
個人
メジャー文具
1日前
個人
微小振動検出装置
1か月前
株式会社イシダ
X線検査装置
1か月前
ユニパルス株式会社
ロードセル
今日
日本精機株式会社
位置検出装置
7日前
続きを見る
他の特許を見る