TOP
|
特許
|
意匠
|
商標
特許ウォッチ
Twitter
他の特許を見る
10個以上の画像は省略されています。
公開番号
2025126939
公報種別
公開特許公報(A)
公開日
2025-09-01
出願番号
2024023306
出願日
2024-02-20
発明の名称
キャップ
出願人
三笠産業株式会社
代理人
弁理士法人森本国際特許事務所
主分類
B65D
47/08 20060101AFI20250825BHJP(運搬;包装;貯蔵;薄板状または線条材料の取扱い)
要約
【課題】開栓時、蓋を所定角度に保持することが可能であり、蓋を開閉する際、摩耗粉が発生し難いキャップを提供する。
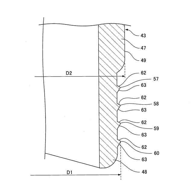
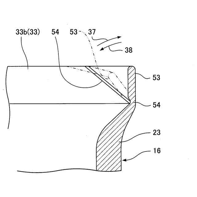
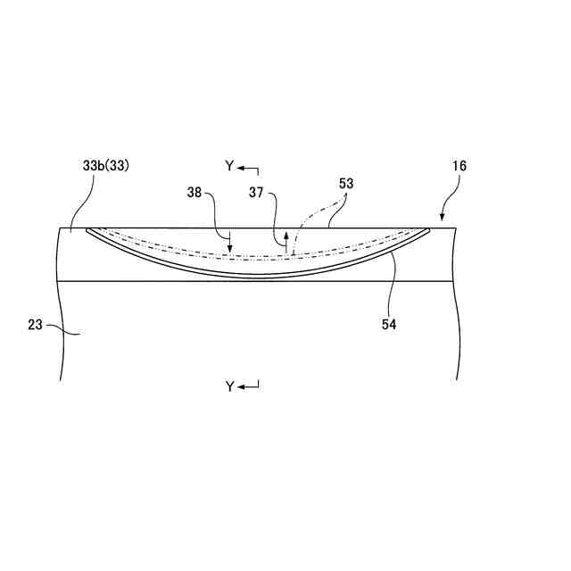
【解決手段】キャップ本体4にヒンジ5を介して連結された蓋6を有するキャップ1であって、キャップ本体4に、容器2内の内容物を注出する注出筒16が設けられ、蓋6は、ヒンジ5を中心として、注出筒16を開閉する開閉方向へ回動自在であり、閉栓状態において注出筒16内に挿入されて注出筒16の内周に接するシール筒43が蓋6に設けられ、注出筒16の開口端部で且つヒンジ5に近い箇所に、蓋6の開閉方向へ揺動自在な係止片53が設けられ、シール筒43の外周で且つヒンジ5に近い箇所に、複数の係合部57~60が設けられ、開栓状態において係止片53が係合部57~60のいずれかに係り合うことにより、蓋6がキャップ本体4に対して所定角度γに保持される。
【選択図】図17
特許請求の範囲
【請求項1】
容器に取り付けられるキャップ本体と、キャップ本体にヒンジを介して連結された蓋とを有するキャップであって、
キャップ本体に、容器内の内容物を注出する注出筒が設けられ、
蓋は、ヒンジを中心として、注出筒を開閉する開閉方向へ回動自在であり、
閉栓状態において注出筒内に挿入されて注出筒の内周に接するシール筒が蓋に設けられ、
注出筒の開口端部で且つヒンジに近い箇所に、蓋の開閉方向へ揺動自在な係止片が設けられ、
シール筒の外周で且つヒンジに近い箇所に、複数の係合部が設けられ、
開栓状態において係止片が係合部に係り合うことにより、蓋がキャップ本体に対して所定角度に保持されることを特徴とするキャップ。
続きを表示(約 380 文字)
【請求項2】
係止片の付け根部分の肉厚が薄く形成されていることを特徴とする請求項1記載のキャップ。
【請求項3】
シール筒は、外周に、注出筒の内周に接するシール面を有し、
係合部はシール筒の外周面から径方向における外側へ突出する係合突起であり、
係合突起の先端は、シール面よりも、径方向における内側へ退いていることを特徴とする請求項1記載のキャップ。
【請求項4】
係合部はシール筒の外周面から径方向における外側へ突出する係合突起であり、
係合突起は、断面が山形状に形成されているとともに、開方向に向いた第1傾斜面と閉方向に向いた第2傾斜面とを有し、
シール筒の外周面に対する第1傾斜面の傾斜角度がシール筒の外周面に対する第2傾斜面の傾斜角度よりも大きいことを特徴とする請求項1記載のキャップ。
発明の詳細な説明
【技術分野】
【0001】
本発明は、ヒンジ式のキャップに関する。
続きを表示(約 1,600 文字)
【背景技術】
【0002】
従来、この種のキャップとしては、下記特許文献に記載されているように、容器本体の口部に装着されるキャップ本体と、キャップ本体にヒンジを介して連設される上蓋とからなるヒンジキャップがある。
【0003】
キャップ本体は、先端に向けて外方に拡がるリップ部を有し内容液の注出口を形成する注出筒と、注出筒に上壁の内周縁で連設し、容器本体の口部に係止する係合筒部とからなる。
【0004】
上蓋には、閉栓時に注出筒内面に当接して容器内部を密封する密封筒が設けられている。密封筒の下端のヒンジ側の所定周範囲には、開栓途中で注出筒のリップ部に摺接する舌片が設けられている。
【0005】
舌片は、注出筒のリップ部内周面に対応する断面弓形状の湾曲した外周面を形成している。舌片の外周面と注出筒のリップ部内周面とに、上蓋を任意開度において係止する摩擦係止部が設けられている。摩擦係止部にはそれぞれ、多数の凹凸が形成されている。舌片の外周面は、上蓋を開閉する際に、リップ部内周面を擦りながらリップ部内周面上を開閉方向に摺動する。
これによると、上蓋を開いた際、舌片の摩擦係止部の凹凸とリップ部の摩擦係止部の凹凸とが互いに噛み合うことにより、上蓋が任意の開度に保たれる。
る。
【先行技術文献】
【特許文献】
【0006】
特許第6157261号
【発明の概要】
【発明が解決しようとする課題】
【0007】
しかしながら上記の従来形式では、上蓋を開閉する際、舌片の摩擦係止部の凹凸がリップ部の摩擦係止部の凹凸に摺接するため、舌片の摩擦係止部の凹凸とリップ部の摩擦係止部の凹凸とが摩耗し易く、摩耗粉が発生し易いといった問題がある。
本発明は、開栓時、蓋を所定角度に保持することが可能であり、蓋を開閉する際、摩耗粉が発生し難いキャップを提供することを目的とする。
【課題を解決するための手段】
【0008】
上記目的を達成するために、本第1発明は、容器に取り付けられるキャップ本体と、キャップ本体にヒンジを介して連結された蓋とを有するキャップであって、
キャップ本体に、容器内の内容物を注出する注出筒が設けられ、
蓋は、ヒンジを中心として、注出筒を開閉する開閉方向へ回動自在であり、
閉栓状態において注出筒内に挿入されて注出筒の内周に接するシール筒が蓋に設けられ、
注出筒の開口端部で且つヒンジに近い箇所に、蓋の開閉方向へ揺動自在な係止片が設けられ、
シール筒の外周で且つヒンジに近い箇所に、複数の係合部が設けられ、
開栓状態において係止片が係合部に係り合うことにより、蓋がキャップ本体に対して所定角度に保持されるものである。
【0009】
これによると、蓋を開閉する際、シール筒の外周が係止片に接して、係止片が蓋の開閉方向へ揺動するため、摩耗粉の発生が抑制される。
蓋を任意の開度で開いた際、注出筒の係止片がシール筒の係合部に係り合うことにより、蓋がキャップ本体に対して所定角度に保持される。これにより、蓋を開いた状態で任意の開度に保つことができ、容器内の内容物を注出筒の開口端部から外部へ注出することができる。
蓋を閉じた際、シール筒が注出筒内に挿入されて注出筒の内周に接し、これにより、注出筒が蓋で閉じられて、注出筒と蓋との間がシール筒で密封される。
【0010】
本第2発明におけるキャップは、係止片の付け根部分の肉厚が薄く形成されているものである。
これによると、係止片の付け根部分が弱くなるため、蓋を開閉して、シール筒の外周が係止片に接した際、係止片が蓋の開閉方向へ揺動し易くなる。
(【0011】以降は省略されています)
この特許をJ-PlatPat(特許庁公式サイト)で参照する
関連特許
三笠産業株式会社
キャップ
2日前
三笠産業株式会社
キャップ
6日前
三笠産業株式会社
スパウト
26日前
三笠産業株式会社
キャップ
1か月前
三笠産業株式会社
キャップ
2か月前
三笠産業株式会社
キャップおよび容器
6日前
三笠産業株式会社
キャップおよび容器
6日前
三笠産業株式会社
キャップ
29日前
個人
箱
11か月前
個人
ゴミ箱
11か月前
個人
収容箱
2か月前
個人
コンベア
4か月前
個人
段ボール箱
6か月前
個人
段ボール箱
6か月前
個人
容器
8か月前
個人
ゴミ収集器
6か月前
個人
土嚢運搬器具
7か月前
個人
パウチ補助具
11か月前
個人
楽ちんハンド
4か月前
個人
バンド
1か月前
個人
宅配システム
6か月前
個人
角筒状構造体
4か月前
個人
包装容器
12日前
個人
廃棄物収容容器
1か月前
個人
コード類収納具
7か月前
個人
お薬の締結装置
5か月前
個人
閉塞装置
9か月前
株式会社和気
包装用箱
8か月前
個人
積み重ね用補助具
1か月前
個人
蓋閉止構造
3か月前
株式会社コロナ
梱包材
4か月前
個人
蓋閉止構造
3か月前
個人
把手付米袋
3か月前
個人
貯蔵サイロ
6か月前
個人
ゴミ処理機
8か月前
三甲株式会社
蓋体
8か月前
続きを見る
他の特許を見る