TOP
|
特許
|
意匠
|
商標
特許ウォッチ
Twitter
他の特許を見る
10個以上の画像は省略されています。
公開番号
2025137905
公報種別
公開特許公報(A)
公開日
2025-09-25
出願番号
2024036435
出願日
2024-03-11
発明の名称
キャップおよび容器
出願人
三笠産業株式会社
代理人
弁理士法人森本国際特許事務所
主分類
B65D
47/12 20060101AFI20250917BHJP(運搬;包装;貯蔵;薄板状または線条材料の取扱い)
要約
【課題】シール部の肉厚を薄く保ちながらシール性能を向上させることができるキャップを提供する。
【解決手段】容器本体2の口部5に取付られるキャップ本体15と、キャップ本体15の注出口16を開閉する蓋17とを有するキャップ3であって、キャップ本体15は、口部5の内周に嵌め込まれる内周壁20と、口部5の外周に嵌められる外周壁21と、内周壁20と外周壁21との間に形成された天壁22とを有し、内周壁20と外周壁21との間で且つ天壁22の下方に、口部5が挿入可能な挿入部24が形成され、天壁22は挿入部24に挿入された口部5の先端に接するシール部35を有し、シール部35は、断面がU形状に形成されて、キャップ本体15の軸心方向8および径方向9に変形可能であり、蓋17は閉栓状態においてキャップ本体15の内周壁20の内側に嵌り込む嵌入部41を有する。
【選択図】図2
特許請求の範囲
【請求項1】
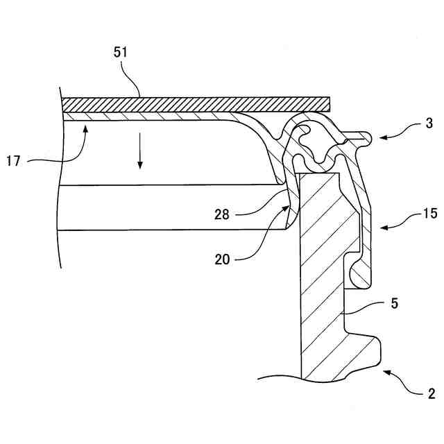
容器本体の口部に取り付けられるキャップ本体と、キャップ本体に形成された注出口と、注出口を開閉する蓋とを有するキャップであって、
キャップ本体は、口部の内周に嵌め込まれる内周壁と、口部の外周に嵌められる外周壁と、内周壁と外周壁との間に形成された天壁とを有し、
内周壁と外周壁との間で且つ天壁の下方に、口部が挿入可能な挿入部が形成され、
天壁は挿入部に挿入された口部の先端に接するシール部を有し、
シール部は、断面がU形状又はV形状に形成されて、キャップ本体の軸心方向および径方向に変形可能であり、
蓋は閉栓状態においてキャップ本体の内周壁の内側に嵌り込む嵌入部を有することを特徴とするキャップ。
続きを表示(約 1,100 文字)
【請求項2】
内周壁は、径方向における内側に屈曲した屈曲部と、屈曲部の上方に形成されて屈曲部から次第に拡径する第1テーパー部とを有し、
天壁の内周端は、シール部と口部の先端との接触箇所よりも上方位置において、第1テーパー部に繋がっていることを特徴とする請求項1記載のキャップ。
【請求項3】
容器本体の口部に取り付けられるキャップ本体と、キャップ本体に形成された注出口と、注出口を開閉する蓋とを有するキャップであって、
キャップ本体は、口部の内周に嵌め込まれる内周壁と、口部の外周に嵌められる外周壁と、内周壁と外周壁との間に形成された天壁とを有し、
内周壁と外周壁との間で且つ天壁の下方に、口部が挿入可能な挿入部が形成され、
内周壁は、径方向における内側に屈曲した屈曲部と、屈曲部の上方に形成されて屈曲部から次第に拡径する第1テーパー部とを有し、
天壁の内周端は、シール部と口部の先端との接触箇所よりも上方位置において、第1テーパー部に繋がっており、
天壁は挿入部に挿入された口部の先端に接するシール部を有し、
蓋は閉栓状態においてキャップ本体の内周壁の内側に嵌り込む嵌入部を有することを特徴とするキャップ。
【請求項4】
シール部は、断面がU形状又はV形状に形成されて、キャップ本体の軸心方向および径方向に変形可能であることを特徴とする請求項3記載のキャップ。
【請求項5】
内周壁は、屈曲部の下方に形成されて屈曲部から次第に拡径する第2テーパー部を有し、
第2テーパー部は口部に嵌め込まれて口部の内周に接することを特徴とする請求項1から請求項4のいずれか1項に記載のキャップ。
【請求項6】
蓋の嵌入部は内周壁の第2テーパー部の内側に嵌り込む第3テーパー部を有し、
第3テーパー部は、第2テーパー部の内側に沿って、下方ほど次第に拡径することを特徴とする請求項5に記載のキャップ。
【請求項7】
キャップ本体の外周壁に第1係合部が形成され、
第1係合部は、口部に形成された第2係合部に係合して、キャップ本体が口部から離脱するのを阻止することを特徴とする請求項1又は請求項3に記載のキャップ。
【請求項8】
請求項1又は請求項4に記載のキャップを備えた容器であって、
容器本体の口部がキャップの挿入部に挿入されて、キャップ本体が容器本体の口部に取り付けられた状態で、シール部が口部の先端に圧接することを特徴とする容器。
発明の詳細な説明
【技術分野】
【0001】
本発明は、容器本体の口部に取り付けられるキャップ、および、キャップを備えた容器に関する。
続きを表示(約 1,400 文字)
【背景技術】
【0002】
従来、例えば下記特許文献には、容器本体の口部に取り付けられるキャップ本体と、キャップ本体に設けられた本体天板と、本体天板に設けられた注出筒と、注出筒を開閉する上蓋とを有するキャップが開示されている。
【0003】
本体天板の周縁には、本体側壁が下向きに垂設されている。また、本体側壁よりも内側には、挿嵌リングが本体天板から下向きに垂設されている。本体側壁と挿嵌リングとの間で且つ本体天板の下方には、容器本体の口部が挿入可能な挿入部が形成されている。
【0004】
本体天板の下面には、挿入部に挿入された容器本体の口部の先端に接するコンタクトリングが形成されている。コンタクトリングは下端部が下向きに尖った山形状のリングである。
【0005】
これによると、容器本体の口部を挿入部に挿入して、キャップ本体を容器本体の口部に装着した際、コンタクトリングが容器本体の口部の先端に接することにより、キャップ本体と容器本体の口部との間がシールされる。
【先行技術文献】
【特許文献】
【0006】
特開2019-127269
【発明の概要】
【発明が解決しようとする課題】
【0007】
しかしながら上記の従来形式では、コンタクトリングによるシール性能を向上させるには、コンタクトリングを大きくする必要があるが、コンタクトリングの肉厚が増大するといった問題がある。
本発明は、シール部の肉厚を薄く保ちながらシール性能を向上させることができるキャップおよび容器を提供することを目的とする。
【課題を解決するための手段】
【0008】
上記目的を達成するために、本第1発明は、容器本体の口部に取り付けられるキャップ本体と、キャップ本体に形成された注出口と、注出口を開閉する蓋とを有するキャップであって、
キャップ本体は、口部の内周に嵌め込まれる内周壁と、口部の外周に嵌められる外周壁と、内周壁と外周壁との間に形成された天壁とを有し、
内周壁と外周壁との間で且つ天壁の下方に、口部が挿入可能な挿入部が形成され、
天壁は挿入部に挿入された口部の先端に接するシール部を有し、
シール部は、断面がU形状又はV形状に形成されて、キャップ本体の軸心方向および径方向に変形可能であり、
蓋は閉栓状態においてキャップ本体の内周壁の内側に嵌り込む嵌入部を有するものである。
【0009】
これによると、容器本体の口部をキャップ本体の挿入部に挿入することにより、キャップ本体の内周壁が口部の内周に嵌め込まれ、外周壁が口部の外周に嵌められ、シール部が口部の先端に接する。これにより、キャップ本体が容器本体の口部に取り付けられ、キャップ本体と容器本体の口部との間がシール部によってシールされる。
【0010】
シール部は断面がU形状又はV形状に形成されているため、キャップ本体が容器本体の口部に取り付けられた際、シール部がキャップ本体の軸心方向において圧縮され、シール部の肉厚を薄く保ちながらも十分な反発力が発生し、これにより、シール性能を向上させることができる。
(【0011】以降は省略されています)
この特許をJ-PlatPat(特許庁公式サイト)で参照する
関連特許
三笠産業株式会社
キャップ
2日前
三笠産業株式会社
キャップ
6日前
三笠産業株式会社
スパウト
26日前
三笠産業株式会社
キャップ
1か月前
三笠産業株式会社
キャップ
2か月前
三笠産業株式会社
キャップおよび容器
6日前
三笠産業株式会社
キャップおよび容器
6日前
三笠産業株式会社
キャップ
29日前
個人
箱
11か月前
個人
ゴミ箱
11か月前
個人
収容箱
2か月前
個人
コンベア
4か月前
個人
段ボール箱
6か月前
個人
段ボール箱
6か月前
個人
容器
8か月前
個人
ゴミ収集器
6か月前
個人
土嚢運搬器具
7か月前
個人
パウチ補助具
11か月前
個人
楽ちんハンド
4か月前
個人
バンド
1か月前
個人
宅配システム
6か月前
個人
角筒状構造体
4か月前
個人
包装容器
12日前
個人
廃棄物収容容器
1か月前
個人
コード類収納具
7か月前
個人
お薬の締結装置
5か月前
個人
閉塞装置
9か月前
株式会社和気
包装用箱
8か月前
個人
積み重ね用補助具
1か月前
個人
蓋閉止構造
3か月前
株式会社コロナ
梱包材
4か月前
個人
蓋閉止構造
3か月前
個人
把手付米袋
3か月前
個人
貯蔵サイロ
6か月前
個人
ゴミ処理機
8か月前
三甲株式会社
蓋体
8か月前
続きを見る
他の特許を見る