TOP
|
特許
|
意匠
|
商標
特許ウォッチ
Twitter
他の特許を見る
公開番号
2025127597
公報種別
公開特許公報(A)
公開日
2025-09-02
出願番号
2024024375
出願日
2024-02-21
発明の名称
実火災訓練装置
出願人
JFEプロジェクトワン株式会社
代理人
個人
,
個人
,
個人
主分類
G09B
9/00 20060101AFI20250826BHJP(教育;暗号方法;表示;広告;シール)
要約
【課題】耐久性が高く安価な実火災訓練装置を得る。
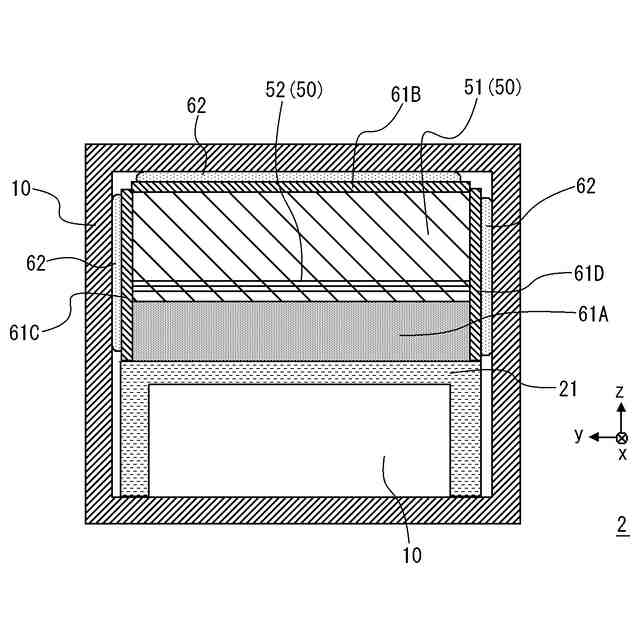
【解決手段】本体部10の内部は、x方向において、煙調整フラッパー50によって燃焼部10A、訓練室10Bに区分される。この煙調整フラッパー(煙区画板)50は、従来の実火災訓練装置における煙調整フラッパーと同様の平板状のフラッパー本体51と補強部材52を具備する。補強部材52は等辺の山形鋼であり、その延伸方向はy方向とされる。補強部材52もフラッパー本体51に対して溶接されるが、補強部材52はフラッパー本体51に対して延伸方向において断続的に溶接部100を設けるように、タップ溶接される。
【選択図】図1
特許請求の範囲
【請求項1】
水平方向に沿った第1の方向で延伸する箱状の本体部の内部において、燃焼を生じさせることにより発煙をする燃焼部と、訓練対象者を収容する空間である訓練室とが、前記第1の方向と交差する板状の構成を具備する煙区画板によって前記本体部の内部における上側では前記第1の方向で仕切られ、かつ前記本体部の内部における下側で前記第1の方向で連通するように構成された実火災訓練装置であって、
前記煙区画板は、
前記板状の構成を具備し、前記本体部の内面に対して溶接された煙区画板本体と、
前記煙区画板本体の面内方向であり前記第1の方向と交差する第2の方向で延伸し、前記煙区画板本体に接合された補強部材と、
を具備することを特徴とする実火災訓練装置。
続きを表示(約 670 文字)
【請求項2】
前記補強部材は、前記第2の方向に垂直な断面がL字形状である山形鋼で構成され、前記L字形状の頂点が前記煙区画板本体の表面から離間した状態で、前記L字形状を構成する2つの辺の端部に対応して前記第2の方向に延伸する2つの端辺が、前記煙区画板本体の前記訓練室側の表面に溶接されることによって前記煙区画板本体に接合されたことを特徴とする請求項1に記載の実火災訓練装置。
【請求項3】
前記煙区画板本体の端辺は前記本体部の内面に対して連続すみ肉溶接により接合され、
前記補強部材の端辺は前記煙区画板本体の表面に対して断続すみ肉溶接により接合されたことを特徴とする請求項2に記載の実火災訓練装置。
【請求項4】
前記燃焼部における前記本体部の前記第1の方向と平行な内面には耐火板が固定され、
前記煙区画板本体の端辺は前記耐火板に対して連続すみ肉溶接により接合され、
前記補強部材の端辺は前記煙区画板本体の表面に対して断続すみ肉溶接により接合されたことを特徴とする請求項2に記載の実火災訓練装置。
【請求項5】
前記耐火板は前記第1の方向において前記煙区画板本体よりも前記訓練室側に突出しないことを特徴とする請求項4に記載の実火災訓練装置。
【請求項6】
前記補強部材の端辺と前記煙区画板本体の表面の間における前記断続すみ肉溶接のピッチは300mm以下、単一の接合部分の幅は50mm以上とされたことを特徴とする請求項3又は4に記載の実火災訓練装置。
発明の詳細な説明
【技術分野】
【0001】
本発明は、耐久性が高く安価な実火災訓練装置に関する。
続きを表示(約 1,800 文字)
【背景技術】
【0002】
実際の火災と同様に木材等を燃焼させて濃煙を発生させた環境下で訓練を行わせるための実火災訓練装置が用いられている。こうした実火災訓練装置の構造は、例えば特許文献1に記載されている。
【0003】
図7は、特許文献1に記載された実火災訓練装置8の構造を簡略化して示す透視斜視図である。この実火災訓練装置8においては、図中水平方向を長手方向(x方向)とする略矩形体形状の内部空間を有する本体部10が用いられる。本体部10の図中右側(x方向正側)の端部付近には、燃焼台21が設置され、この上で可燃対象物Aが着火されて燃焼する。この領域の左側には、板状の煙調整フラッパー(煙区画板)92が本体部10の上側の領域のみを仕切るように本体部10の内側に設置される。訓練対象者Hは、本体部10の図中左側に連結された前室30から本体部10の図中左側の端面に形成された扉23を通ってこの本体部10内に侵入することができる。
【0004】
図7の構造において、訓練対象者Hは右側の煙調整フラッパー92と左側の扉23の間に位置し、所望の訓練作業をすることができる。この際、燃焼が発生しているのは煙調整フラッパー92よりも右側となるため、本体部10の内部の空間は、煙調整フラッパー92を境界として、その右側(x方向正側)が燃焼部10A、左側(x方向負側)が訓練室10Bとなる。図7において、本体部10における扉23付近の天井には排気口24が設けられ、濃煙Sは排気口24から排煙処理部40に吸引されて無害化処理される。この構造により、濃煙Sは煙調整フラッパー92の下側を通って燃焼部10Aから訓練室10Bの天井側を図中左側に向けて流れる。
【0005】
また、煙調整フラッパー92を越流した高温の濃煙Sは、排気口24から排気される前の間は訓練室10Bの上層に滞留する。このため、濃煙Sによって視界が遮られる高温層と、視界がクリアである下側の低温層の圧力が釣り合って中性帯が保持される。このため、燃焼部10A内の温度は燃焼に伴って極めて高くなるのに対して、訓練室10B内の下層は訓練対象者Hが活動できる程度の温度に維持される。ただし、訓練対象者Hは煙調整フラッパー92の下側から越流する濃煙Sを目視することができるため、例えば高温により濃煙Sに含まれる可燃性ガスが自燃する現象(フラッシュオーバー:急激な爆発的燃焼)の前兆現象であるロールオーバーの発生を確認することができる。このため、安全かつより実践的な訓練を行わせることができる。
【0006】
濃煙Sを排気して無害化する排煙処理部40は、前記のように本体部10に形成された排気口24に連結され、濃煙Sは排煙処理部40において例えば燃焼等の処理によって無害化されて外気に排出される。
【0007】
ここで、煙調整フラッパー92は特に燃焼部10A側における燃焼時の高温に直接曝されるため、熱的、機械的に強い材料で構成され、例えば4.5mm厚の鋼板で構成され、これが本体部10内部の天井面、側面に溶接されて固定される。
【先行技術文献】
【特許文献】
【0008】
特開2011-34024号公報
【発明の概要】
【発明が解決しようとする課題】
【0009】
前記のように煙調整フラッパー92は、訓練室10B内への濃煙Sの流入の度合いの制御と、訓練対象者Hの熱に対する保護という観点から重要である。一方、煙調整フラッパー92は燃焼部10Aと近接して設置されるため、熱に起因して劣化が発生しやすくなった。
【0010】
特に、この実火災訓練装置8が繰り返し使用された場合には、この煙調整フラッパー92は使用時の高温と非使用時の常温との間を繰り返す冷熱サイクルに曝される。これによって熱膨張・収縮が繰り返されることや、訓練時の放水が煙調整フラッパー92に当たることによって急冷されることにより、煙調整フラッパー92に亀裂が発生することがあった。この場合、訓練室10Bにおける前記のような上側の高温層と下側の低温層のつり合いが崩れ、所望の訓練活動に支障をきたす場合があった。
(【0011】以降は省略されています)
この特許をJ-PlatPat(特許庁公式サイト)で参照する
関連特許
個人
回転式カード学習具
1か月前
日本精機株式会社
表示装置
25日前
個人
時刻表示機能つき手帳
2か月前
日本精機株式会社
表示装置
2か月前
個人
計算用教具
21日前
中国電力株式会社
標示旗
1か月前
日本精機株式会社
車両用表示装置
2か月前
日本精機株式会社
車両用表示装置
2か月前
日本精機株式会社
車両用表示装置
2か月前
個人
モデルで薔薇の花嫁様を描く為
1か月前
日本精機株式会社
車両用センサ装置
21日前
個人
微細構造を模した理科学習教材
4日前
トヨタ自動車株式会社
評価方法
3か月前
株式会社一弘社
情報表示板
1か月前
シャープ株式会社
表示装置
1か月前
株式会社ウメラボ
学習支援システム
11日前
個人
音楽教材
2か月前
株式会社ウメラボ
学習支援システム
17日前
ニチレイマグネット株式会社
磁着式電飾装置
1か月前
株式会社半導体エネルギー研究所
半導体装置
2か月前
株式会社リコー
画像投射システム
1か月前
リンテック株式会社
表示体
10日前
BEST株式会社
吊り下げ表示部材
1か月前
株式会社サンゲツ
見本帳
2か月前
個人
サインポスト
2か月前
シチズンファインデバイス株式会社
液晶表示装置
2か月前
学校法人関西医科大学
腹腔鏡手術訓練装置
1か月前
シチズンファインデバイス株式会社
液晶表示装置
1か月前
シャープ株式会社
表示装置
2か月前
シャープ株式会社
表示装置
2か月前
個人
ピアノの指トレーニング器具及び練習方法
2か月前
セイコーエプソン株式会社
表示方法
1か月前
ニデックインスツルメンツ株式会社
情報処理装置
2か月前
セイコーエプソン株式会社
表示方法
1か月前
リンテック株式会社
粘着ラベル
11日前
ニプロ株式会社
シミュレータ
1か月前
続きを見る
他の特許を見る