TOP
|
特許
|
意匠
|
商標
特許ウォッチ
Twitter
他の特許を見る
10個以上の画像は省略されています。
公開番号
2025130223
公報種別
公開特許公報(A)
公開日
2025-09-08
出願番号
2024027244
出願日
2024-02-27
発明の名称
電気光学装置および電子機器
出願人
セイコーエプソン株式会社
代理人
個人
,
個人
,
個人
主分類
G09F
9/00 20060101AFI20250901BHJP(教育;暗号方法;表示;広告;シール)
要約
【課題】データ線の狭ピッチ化を図る。
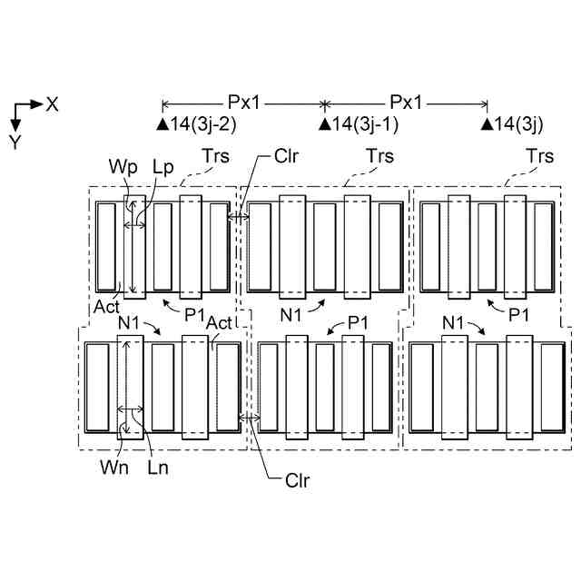
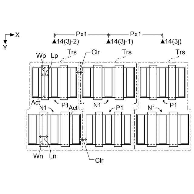
【解決手段】データ線14はX方向に沿って配列する場合に、ある列のデータ14に対応するトランスミッションゲートTrsのトランジスターP1は、 上記列に対しX方向で隣り合うデータ14に対応するトランスミッションゲートTrsのトランジスターN1とX方向で隣り合い、ある列のデータ14に対応するトランスミッションゲートTrsのトランジスターN1は、上記列に対しX方向で隣り合うデータ14に対応するトランスミッションゲートTrsのトランジスターP1とX方向で隣う。
【選択図】図8
特許請求の範囲
【請求項1】
k(kは2以上の整数)毎にグループ化されたデータ線と、
画素の階調に応じたデータ信号が、前記k本毎のグループに対応して出力されるデータ信号線と、
前記データ線に一対一に対応して設けられたトランスミッションゲートと、
を有し、
前記トランスミッションゲートは、
入力端が前記データ信号線に接続され、出力端が前記データ線に接続され、正論理の選択信号および負論理の選択信号に基づいて前記入力端と前記出力端との間における導通状態が規定され、
前記正論理の選択選号がゲートノードに供給される第1導電型の第1トランジスターと、前記負論理の選択信号がゲートノードに供給される第2導電型の第2トランジスターと、
を含み、
前記データ線は、
第1データ線と、前記第1データ線に第1方向で隣り合う第2データ線と、を含み、
前記トランスミッションゲートは、
前記第1データ線に対応して設けられる第1トランスミッションゲートと、
前記第2データ線に対応して設けられる第2トランスミッションゲートと、
を含み、
前記データ線の配列方向を第1方向としたとき、
前記第1トランスミッションゲートの前記第1トランジスターは、前記第2トランスミッションゲートの前記第2トランジスターに前記第1方向で隣り合い、
前記第1トランスミッションゲートの前記第2トランジスターは、前記第2トランスミッションゲートの前記第1トランジスターに前記第1方向で隣り合い、
前記第1トランジスターのチャネル長と、前記第2トランジスターのチャネル長とは異なる
電気光学装置。
続きを表示(約 950 文字)
【請求項2】
前記第1トランジスターのチャネル長は、前記第2トランジスターのチャネル長よりも短い
請求項1に記載の電気光学装置。
【請求項3】
前記データ線の延在方向を第2方向としたとき、
前記第1データ線に対応する第1トランスミッションゲートの前記第1トランジスターおよび前記第2トランジスターは前記第2方向に沿って配置され、
前記第2データ線に対応する第2トランスミッションゲートの前記第2トランジスターおよび前記第1トランジスターは前記第2方向に沿って配置される
請求項1に記載の電気光学装置。
【請求項4】
前記第1トランジスターのゲートノードに前記正論理の選択信号を供給する第1否定回路を含み、
前記第1否定回路は、
前記第1導電型の第3トランジスターと、前記第2導電型の第4トランジスターと、
を含み、
前記第1データ線に対応する第1否定回路の前記第3トランジスターは、前記第2データ線に対応する第1否定回路の前記第4トランジスターに前記第1方向で隣り合い、
前記第1データ線に対応する第1否定回路の前記第4トランジスターは、前記第2データ線に対応する第1否定回路の前記第3トランジスターに前記第1方向で隣り合う
請求項1に記載の電気光学装置。
【請求項5】
前記第2トランジスターのゲートノードに前記負論理の選択信号を供給する第2否定回路を含み、
前記第2否定回路は、
前記第1導電型の第5トランジスターと、前記第2導電型の第6トランジスターと、
を含み、
前記第1データ線に対応する第2否定回路の前記第5トランジスターは、前記第2データ線に対応する第2否定回路の前記第6トランジスターに前記第1方向で隣り合い、
前記第1データ線に対応する第2否定回路の前記第6トランジスターは、前記第2データ線に対応する第2否定回路の前記第5トランジスターに前記第1方向で隣り合う
請求項1に記載の電気光学装置。
【請求項6】
請求項1乃至5のいずれかに記載の電気光学装置を有する電子機器。
発明の詳細な説明
【技術分野】
【0001】
本発明は、電気光学装置および電子機器に関する。
続きを表示(約 2,300 文字)
【背景技術】
【0002】
デマルチプレクサ方式の電気光学装置では、データ線が複数本毎にグループ化され、各グループに対応して設けられたデータ信号線に供給されたデータ信号がスイッチング素子によって各データ線に分配される。このような電気光学装置において、データ線に対するデータ信号の書き込み速度を向上するために、スイッチング素子をPチャネル型トランジスターとNチャネル型トランジスターとを並列させて相補的に接続した技術が提案されている(特許文献1参照)。
【0003】
上記スイッチング素子を並列させた場合、Pチャネル型トランジスターとNチャネル型トランジスターとの特性、特に、オン抵抗が揃っていないと、表示ムラの原因になる。トランジスターの特性を揃えるために、Pチャネル型とNチャネル型とおいてトランジスターサイズで調整することが考えられる。
【先行技術文献】
【特許文献】
【0004】
特開2021-140056号公報
【発明の概要】
【発明が解決しようとする課題】
【0005】
しかしながら、トランジスターサイズを調整すると、トランジスターの配列において無駄なスペースが生じて、データ線の配列ピッチの狭小化や、装置自体の小型化を図ることができない、という課題がある。
【課題を解決するための手段】
【0006】
上記課題を解決するために、本開示の一態様に係る電気光学装置は、k(kは2以上の整数)毎にグループ化されたデータ線と、画素の階調に応じたデータ信号が、前記k本毎のグループに対応して出力されるデータ信号線と、前記データ線に一対一に対応して設けられたトランスミッションゲートと、を有し、前記トランスミッションゲートは、入力端が前記データ信号線に接続され、出力端が前記データ線に接続され、正論理の選択信号および負論理の選択信号に基づいて前記入力端と前記出力端との間における導通状態が規定され、前記正論理の選択選号がゲートノードに供給される第1導電型の第1トランジスターと、前記負論理の選択信号がゲートノードに供給される第2導電型の第2トランジスターと、を含み、前記データ線は、第1データ線と、前記第1データ線に第1方向で隣り合う第2データ線と、を含み、前記トランスミッションゲートは、前記第1データ線に対応して設けられる第1トランスミッションゲートと、前記第2データ線に対応して設けられる第2トランスミッションゲートと、を含み、前記データ線の配列方向を第1方向としたとき、前記第1トランスミッションゲートの前記第1トランジスターは、前記第2トランスミッションゲートの前記第2トランジスターに前記第1方向で隣り合い、前記第1トランスミッションゲートの前記第2トランジスターは、前記第2トランスミッションゲートの前記第1トランジスターに前記第1方向で隣り合い、前記第1トランジスターのチャネル長と、前記第2トランジスターのチャネル長とは異なる。
【図面の簡単な説明】
【0007】
実施形態に係る電気光学装置を示す斜視図である。
電気光学層値の構成を示すブロック図である。
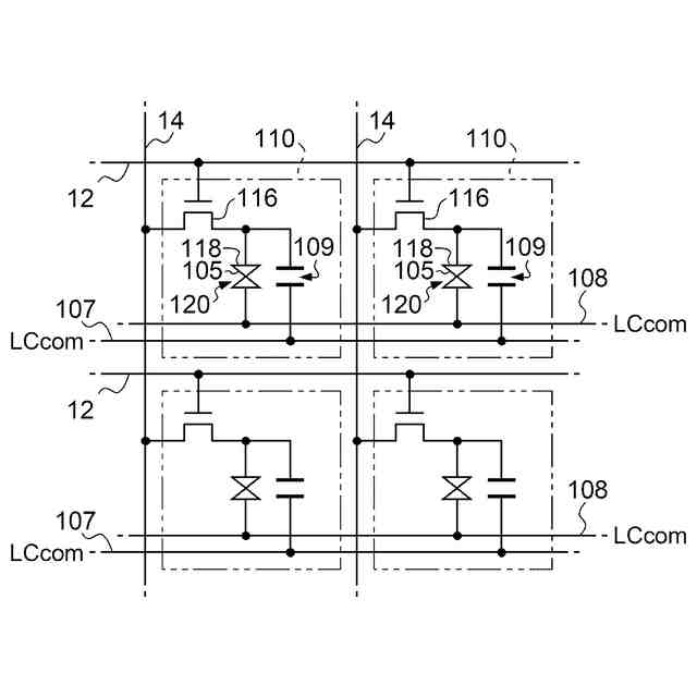
電気光学装置における画素回路の構成を示す図である。
電気光学装置における各部の配置を示す図である。
電気光学装置の動作を説明するための図である。
比較例に係る電気光学装置のトランスミッションゲートにおけるトランジスター配列を示す図である。
トランジスターの配列における等価回路を示す図である。
実施形態に係る電気光学装置のトランスミッションゲートにおけるトランジスター配列を示す図である。
実施形態に係る電気光学装置のNOT回路を構成するトランジスターの配列を示す図である。
実施形態に係る電気光学装置を適用した投射型表示装置を示す図である。
【発明を実施するための形態】
【0008】
以下、実施形態に係る投射型表示装置について図面を参照して説明する。なお、各図において、各部の寸法および縮尺は、実際のものと適宜に異ならせてある。また、以下に述べる実施の形態は、好適な具体例であるから、技術的に好ましい種々の限定が付されているが、本開示の範囲は、以下の説明において特に本開示を限定する旨の記載がない限り、これらの形態に限られるものではない。
【0009】
図1は、実施形態に係る電気光学装置100を含むモジュール1の構成を示す斜視図である。
電気光学装置100は、例えば、投射型表示装置のライトバルブとして用いられる透過型の液晶パネルである。電気光学装置100は、矩形形状の表示領域10で開口する枠状のケース72に収納される。電気光学装置100には、FPC基板74の一端が接続されている。なお、FPCは、Flexible Printed Circuitsの略語である。FPC基板74の他端には、複数の端子76が設けられて、図示省略された上位回路に接続される。
【0010】
FPC基板74には、半導体チップの表示制御回路30がフェイスダウンボンディングによって実装されるとともに、上位回路から複数の端子76を介して映像データが同期信号に同期して供給される。映像データとは、表示すべき画像における画素の階調を例えば8ビットで規定する。
(【0011】以降は省略されています)
この特許をJ-PlatPat(特許庁公式サイト)で参照する
関連特許
個人
回転式カード学習具
1か月前
個人
時刻表示機能つき手帳
1か月前
日本精機株式会社
表示装置
1か月前
日本精機株式会社
表示装置
3か月前
日本精機株式会社
表示装置
8日前
個人
計算用教具
4日前
中国電力株式会社
標示旗
14日前
日本精機株式会社
車両用表示装置
1か月前
日本精機株式会社
車両用表示装置
1か月前
日本精機株式会社
車両用表示装置
1か月前
個人
モデルで薔薇の花嫁様を描く為
25日前
日本精機株式会社
車両用センサ装置
4日前
トヨタ自動車株式会社
評価方法
2か月前
シャープ株式会社
表示装置
15日前
株式会社一弘社
情報表示板
1か月前
シャープ株式会社
表示装置
2か月前
パイオニア株式会社
表示装置
2か月前
個人
音楽教材
1か月前
個人
口唇閉鎖の訓練具
2か月前
株式会社ウメラボ
学習支援システム
今日
株式会社半導体エネルギー研究所
半導体装置
1か月前
ニチレイマグネット株式会社
磁着式電飾装置
14日前
株式会社リコー
画像投射システム
15日前
株式会社ノジマ
応対体験システム
2か月前
シチズンファインデバイス株式会社
液晶表示装置
1か月前
学校法人関西医科大学
腹腔鏡手術訓練装置
14日前
株式会社サンゲツ
見本帳
1か月前
中国電力株式会社
危険予知訓練装置
3か月前
株式会社バンダイ
情報処理装置およびプログラム
2か月前
シチズンファインデバイス株式会社
液晶表示装置
23日前
BEST株式会社
吊り下げ表示部材
1か月前
個人
サインポスト
2か月前
シャープ株式会社
表示装置
1か月前
個人
ピアノの指トレーニング器具及び練習方法
2か月前
厦門天馬顕示科技有限公司
走査回路
3か月前
シャープ株式会社
表示装置
1か月前
続きを見る
他の特許を見る