TOP
|
特許
|
意匠
|
商標
特許ウォッチ
Twitter
他の特許を見る
10個以上の画像は省略されています。
公開番号
2025130225
公報種別
公開特許公報(A)
公開日
2025-09-08
出願番号
2024027246
出願日
2024-02-27
発明の名称
電気光学装置の製造方法
出願人
セイコーエプソン株式会社
代理人
個人
,
個人
,
個人
主分類
G09F
9/00 20060101AFI20250901BHJP(教育;暗号方法;表示;広告;シール)
要約
【課題】製造工程を簡略化できる電気光学装置の製造方法を提供する。
【解決手段】容量素子を形成する工程と、第1絶縁層を形成する工程と、走査線を形成する工程と、第2絶縁層を形成する工程と、半導体層を形成する工程と、ゲート絶縁層を形成する工程と、前記第2絶縁層をエッチングして、前記走査線を露出する第1コンタクトホールを形成する工程と、前記第2絶縁層および前記第1絶縁層をエッチングして、前記第1容量電極を露出する第2コンタクトホールを形成する工程と、前記ゲート絶縁層上にゲート電極を形成し、前記第1コンタクトホールに第1導電部を形成し、前記半導体層上に第1電極を形成し、前記第2コンタクトホールに第2導電部を形成する工程と、を有し、前記第1コンタクトホールを形成する工程と、前記第2コンタクトホールを形成する工程と、を同時に行う、電気光学装置の製造方法。
【選択図】図19
特許請求の範囲
【請求項1】
基板上に、第1容量電極、第2容量電極、および前記第1容量電極と前記第2容量電極との間に設けられた誘電体層を有する容量素子を形成する工程と、
前記容量素子を覆う第1絶縁層を形成する工程と、
前記第1絶縁層上に走査線を形成する工程と、
前記走査線を覆う第2絶縁層を形成する工程と、
前記第2絶縁層上に半導体層を形成する工程と、
前記半導体層上にゲート絶縁層を形成する工程と、
前記第2絶縁層をエッチングして、前記走査線を露出する第1コンタクトホールを形成する工程と、
前記第2絶縁層および前記第1絶縁層をエッチングして、前記第1容量電極を露出する第2コンタクトホールを形成する工程と、
前記ゲート絶縁層上にゲート電極を形成し、前記第1コンタクトホールに前記ゲート電極と前記走査線とを電気的に接続する第1導電部を形成し、前記半導体層上に第1電極を形成し、前記第2コンタクトホールに前記第1電極と前記第1容量電極と電気的に接続する第2導電部を形成する工程と、
を有し、
前記第1コンタクトホールを形成する工程と、前記第2コンタクトホールを形成する工程と、を同時に行う、電気光学装置の製造方法。
続きを表示(約 840 文字)
【請求項2】
請求項1において、
前記容量素子を形成する工程は、
前記基板上に前記第1容量電極を形成する工程と、
前記第1容量電極上に前記誘電体層を形成する工程と、
前記誘電体層上に前記第2容量電極を形成する工程と、
を有する、電気光学装置の製造方法。
【請求項3】
請求項2において、
前記第2絶縁層および前記第1絶縁層をエッチングして、前記第2容量電極を露出する第3コンタクトホールを形成する工程を有し、
前記第1コンタクトホールを形成する工程と、前記第2コンタクトホールを形成する工程と、前記第3コンタクトホールを形成する工程と、を同時に行い、
前記ゲート電極、前記第1導電部、前記第1電極、および前記第2導電部を形成する工程では、前記第2絶縁層上に第2電極を形成し、前記第3コンタクトホールに前記第2電極と前記第2容量電極とを電気的に接続する第3導電部を形成する、電気光学装置の製造方法。
【請求項4】
請求項1または2において、
前記第2絶縁層をエッチングして、前記走査線を露出する第4コンタクトホールを形成する工程を有し、
前記ゲート電極、前記第1導電部、前記第1電極、および前記第2導電部を形成する工程では、前記第4コンタクトホールに前記ゲート電極と前記走査線とを電気的に接続する第4導電部を形成し、
平面視で前記第1導電部と前記第4導電部との間に、前記半導体層が位置する、電気光学装置の製造方法。
【請求項5】
請求項3において、
前記ゲート電極および前記第1電極を覆う第3絶縁層を形成する工程と、
前記第3絶縁層上に画素電極を形成する工程と、
を有し、
前記第2導電部は、前記画素電極と電気的に接続され、
前記第3導電部は、定電位が印可される、電気光学装置の製造方法。
発明の詳細な説明
【技術分野】
【0001】
本発明は、電気光学装置の製造方法に関する。
続きを表示(約 2,500 文字)
【背景技術】
【0002】
電気光学装置の1つとして、画素電極をスイッチング制御するトランジスターを画素ごとに有するアクティブ駆動型の液晶装置が知られている。
【0003】
例えば特許文献1には、走査線と、データ線と、TFTと、画素電極と、容量素子と、を備える電気光学装置が記載されている。
【先行技術文献】
【特許文献】
【0004】
特開2023-144370号公報
【発明の概要】
【発明が解決しようとする課題】
【0005】
上記のような電気光学装置では、製造工程を簡略化することが求められている。
【課題を解決するための手段】
【0006】
本発明に係る電気光学装置の製造方法の一態様は、
基板上に、第1容量電極、第2容量電極、および前記第1容量電極と前記第2容量電極との間に設けられた誘電体層を有する容量素子を形成する工程と、
前記容量素子を覆う第1絶縁層を形成する工程と、
前記第1絶縁層上に走査線を形成する工程と、
前記走査線を覆う第2絶縁層を形成する工程と、
前記第2絶縁層上に半導体層を形成する工程と、
前記半導体層上にゲート絶縁層を形成する工程と、
前記第2絶縁層をエッチングして、前記走査線を露出する第1コンタクトホールを形成する工程と、
前記第2絶縁層および前記第1絶縁層をエッチングして、前記第1容量電極を露出する第2コンタクトホールを形成する工程と、
前記ゲート絶縁層上にゲート電極を形成し、前記第1コンタクトホールに前記ゲート電極と前記走査線とを電気的に接続する第1導電部を形成し、前記半導体層上に第1電極を形成し、前記第2コンタクトホールに前記第1電極と前記第1容量電極と電気的に接続する第2導電部を形成する工程と、
を有し、
前記第1コンタクトホールを形成する工程と、前記第2コンタクトホールを形成する工程と、を同時に行う。
【図面の簡単な説明】
【0007】
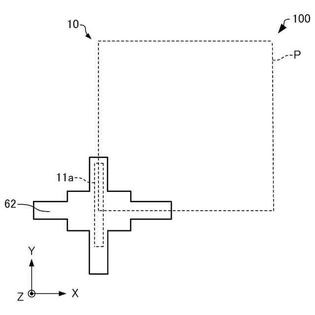
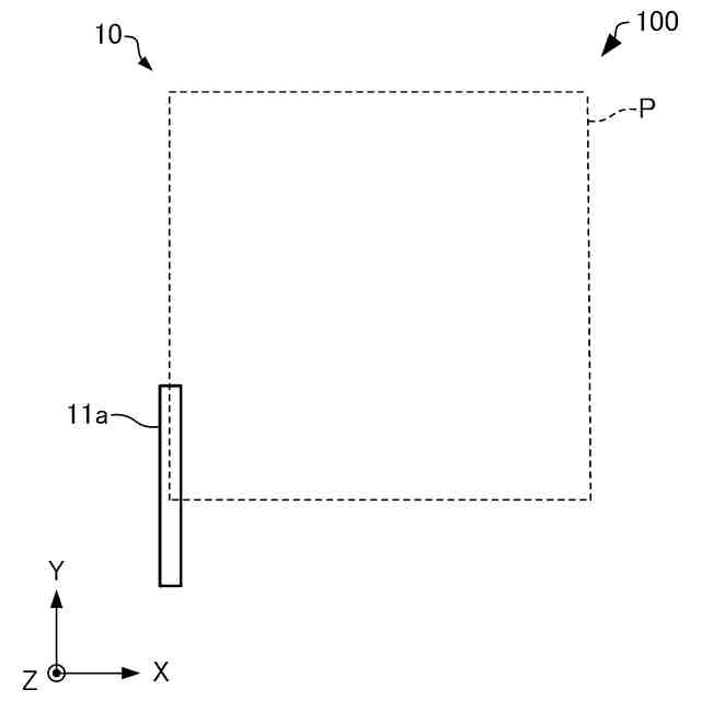
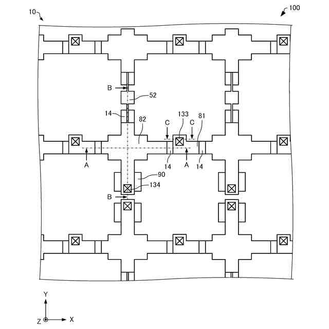
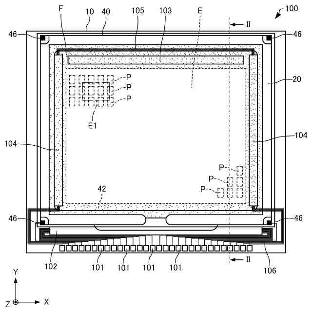
本実施形態に係る電気光学装置を模式的に示す平面図。
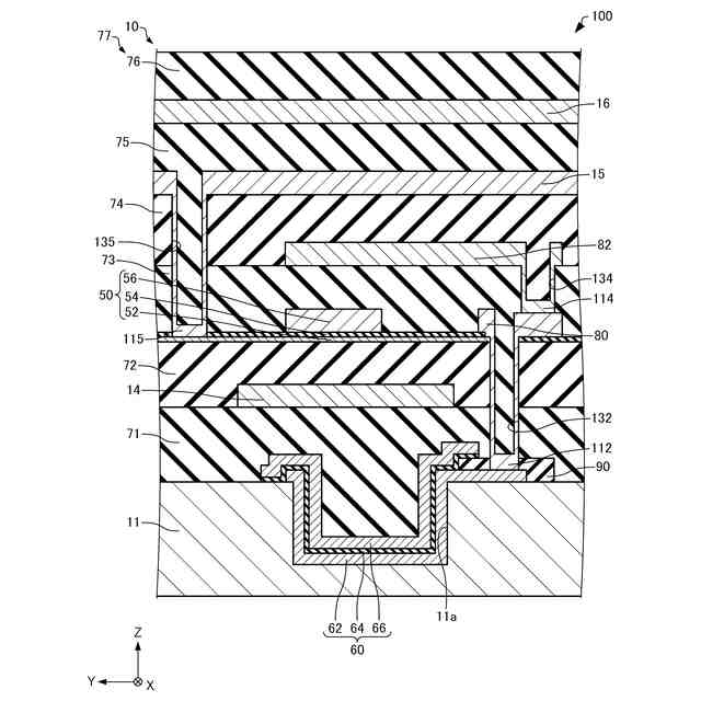
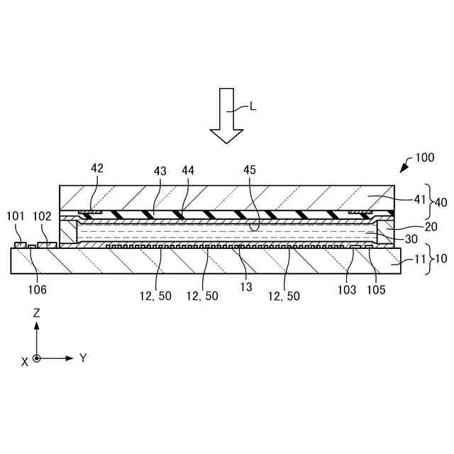
本実施形態に係る電気光学装置を模式的に示す断面図。
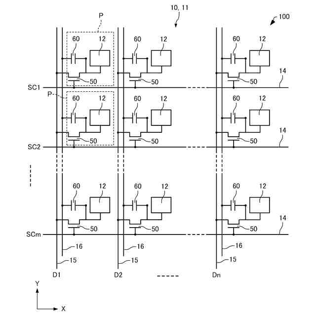
本実施形態に係る電気光学装置の電気的な構成を示す等価回路図。
本実施形態に係る電気光学装置を模式的に示す平面図。
本実施形態に係る電気光学装置を模式的に示す断面図。
本実施形態に係る電気光学装置を模式的に示す断面図。
本実施形態に係る電気光学装置を模式的に示す断面図。
本実施形態に係る電気光学装置を模式的に示す平面図。
本実施形態に係る電気光学装置を模式的に示す平面図。
本実施形態に係る電気光学装置を模式的に示す平面図。
本実施形態に係る電気光学装置を模式的に示す平面図。
本実施形態に係る電気光学装置を模式的に示す平面図。
本実施形態に係る電気光学装置を模式的に示す平面図。
本実施形態に係る電気光学装置を模式的に示す平面図。
本実施形態に係る電気光学装置を模式的に示す平面図。
本実施形態に係る電気光学装置を模式的に示す平面図。
本実施形態に係る電気光学装置を模式的に示す平面図。
本実施形態に係る電気光学装置を模式的に示す平面図。
本実施形態に係る電気光学装置の製造方法を説明するためのフローチャート。
本実施形態に係る電気光学装置の製造工程を模式的に示す断面図。
本実施形態に係る電気光学装置の製造工程を模式的に示す断面図。
本実施形態に係る電気光学装置の製造工程を模式的に示す断面図。
本実施形態に係る電気光学装置の製造工程を模式的に示す断面図。
本実施形態に係る電気光学装置の製造工程を模式的に示す断面図。
本実施形態に係る電気光学装置の製造工程を模式的に示す断面図。
本実施形態に係る電気光学装置の製造工程を模式的に示す断面図。
本実施形態に係る電気光学装置の製造工程を模式的に示す断面図。
本実施形態に係る電気光学装置の製造工程を模式的に示す断面図。
本実施形態に係る電気光学装置の製造工程を模式的に示す断面図。
本実施形態に係る電気光学装置の製造工程を模式的に示す断面図。
本実施形態に係る電気光学装置の製造工程を模式的に示す断面図。
本実施形態に係る電気光学装置の製造工程を模式的に示す断面図。
本実施形態に係る電子機器を説明するための図。
【発明を実施するための形態】
【0008】
以下、本発明の好適な実施形態について、図面を用いて詳細に説明する。なお、以下に説明する実施形態は、特許請求の範囲に記載された本発明の内容を不当に限定するものではない。また、以下で説明される構成の全てが本発明の必須構成要件であるとは限らない。
【0009】
1. 電気光学装置
1.1. 全体の構成
まず、本実施形態に係る電気光学装置としての液晶装置100について、図面を参照しながら説明する。図1は、本実施形態に係る液晶装置100を模式的に示す平面図である。図2は、本実施形態に係る液晶装置100を模式的に示す図1のII-II線断面図である。なお、図1および図2では、互いに直交する3軸として、X軸、Y軸、およびZ軸を図示している。
【0010】
液晶装置100は、画素ごとにトランジスターとしての薄膜トランジスター(Thin Film Transistor:TFT)を有するアクティブ駆動型の液晶装置である。液晶装置100は、図1および図2に示すように、例えば、素子基板10と、シール材20と、液晶層30と、対向基板40と、を有している。
(【0011】以降は省略されています)
この特許をJ-PlatPat(特許庁公式サイト)で参照する
関連特許
個人
回転式カード学習具
1か月前
日本精機株式会社
表示装置
3か月前
日本精機株式会社
表示装置
1か月前
個人
時刻表示機能つき手帳
2か月前
日本精機株式会社
表示装置
10日前
個人
計算用教具
6日前
中国電力株式会社
標示旗
16日前
日本精機株式会社
車両用表示装置
1か月前
日本精機株式会社
車両用表示装置
1か月前
日本精機株式会社
車両用表示装置
1か月前
日本精機株式会社
車両用センサ装置
6日前
個人
モデルで薔薇の花嫁様を描く為
27日前
トヨタ自動車株式会社
評価方法
2か月前
株式会社一弘社
情報表示板
1か月前
シャープ株式会社
表示装置
2か月前
シャープ株式会社
表示装置
17日前
パイオニア株式会社
表示装置
2か月前
個人
口唇閉鎖の訓練具
2か月前
個人
音楽教材
1か月前
株式会社ウメラボ
学習支援システム
2日前
ニチレイマグネット株式会社
磁着式電飾装置
16日前
株式会社半導体エネルギー研究所
半導体装置
2か月前
株式会社リコー
画像投射システム
17日前
株式会社ノジマ
応対体験システム
2か月前
株式会社バンダイ
情報処理装置およびプログラム
2か月前
BEST株式会社
吊り下げ表示部材
1か月前
個人
サインポスト
2か月前
シチズンファインデバイス株式会社
液晶表示装置
25日前
学校法人関西医科大学
腹腔鏡手術訓練装置
16日前
中国電力株式会社
危険予知訓練装置
3か月前
シチズンファインデバイス株式会社
液晶表示装置
1か月前
株式会社サンゲツ
見本帳
1か月前
厦門天馬顕示科技有限公司
走査回路
3か月前
シャープ株式会社
表示装置
1か月前
シャープ株式会社
表示装置
1か月前
個人
ピアノの指トレーニング器具及び練習方法
2か月前
続きを見る
他の特許を見る