TOP
|
特許
|
意匠
|
商標
特許ウォッチ
Twitter
他の特許を見る
公開番号
2025131347
公報種別
公開特許公報(A)
公開日
2025-09-09
出願番号
2024029036
出願日
2024-02-28
発明の名称
情報処理装置、情報処理プログラム、情報処理方法、及び情報処理システム
出願人
沖電気工業株式会社
代理人
個人
,
個人
主分類
G08G
1/087 20060101AFI20250902BHJP(信号)
要約
【課題】 車載通信機が搭載されていない緊急車両に対しても、緊急車両を特定して、信号機等の装置の制御ができる情報処理装置を提供する。
【解決手段】 情報処理装置は、マイクアレイからなる収音部と、前記収音部によって取得された入力音に基づき、緊急車両の挙動を示す特徴音を検出する特徴音検出手段と、前記特徴音検出手段で検出した前記特徴音に関する情報に基づき、前記緊急車両の有無を含む検出情報を検出する緊急車両検出手段と、前記入力音に基づき、前記緊急車両の方位を検出する方位検出手段と、前記緊急車両検出手段で検出した前記緊急車両の検出情報と、前記方位検出手段で検出した前記緊急車両の方位に関する情報を外部に出力する通知手段とを有する。
【選択図】 図1
特許請求の範囲
【請求項1】
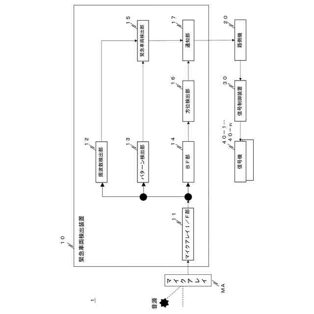
マイクアレイからなる収音部と、
前記収音部によって取得された入力音に基づき、緊急車両の挙動を示す特徴音を検出する特徴音検出手段と、
前記特徴音検出手段で検出した前記特徴音に関する情報に基づき、前記緊急車両の有無を含む検出情報を検出する緊急車両検出手段と、
前記入力音に基づき、前記緊急車両の方位を検出する方位検出手段と、
前記緊急車両検出手段で検出した前記緊急車両の検出情報と、前記方位検出手段で検出した前記緊急車両の方位に関する情報を外部に出力する通知手段と
を有することを特徴とする情報処理装置。
続きを表示(約 1,400 文字)
【請求項2】
前記検出情報は、前記緊急車両の到来及び通過に関する情報を含むことを特徴とする請求項1に記載の情報処理装置。
【請求項3】
前記特徴音検出手段は、
前記入力音から前記特徴音の周波数成分を検出する周波数検出部と、
前記入力音から前記特徴音の周期性パターンを検出するパターン検出部と
を有することを特徴とする請求項1に記載の情報処理装置。
【請求項4】
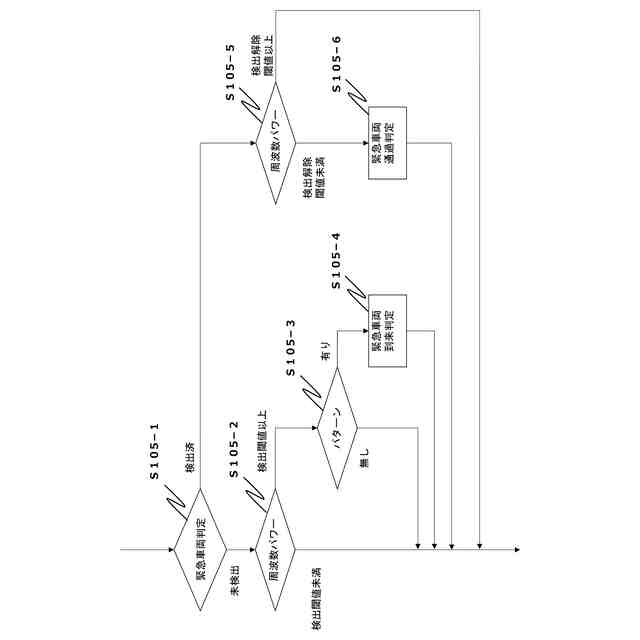
前記緊急車両検出手段は、前記緊急車両を未検出の状態で、前記周波数検出部で検出した前記入力音における前記特徴音の周波数成分のパワーが検出閾値以上、かつ前記パターン検出部で検出した前記入力音における前記特徴音の周期性パターンの一致が確認された場合、前記緊急車両の到来と判定することを特徴とする請求項3に記載の情報処理装置。
【請求項5】
前記緊急車両検出手段は、前記緊急車両を検出済の状態で、前記周波数検出部で検出した前記入力音における前記特徴音の周波数成分のパワーが検出解除閾値未満の場合、前記緊急車両の通過と判定することを特徴とする請求項3に記載の情報処理装置。
【請求項6】
前記通知手段は、前記緊急車両の検出情報と、前記緊急車両の方位に関する情報を信号機の灯火の制御を指示する外部装置に送信することを特徴とする請求項1~5のいずれかに記載の情報処理装置。
【請求項7】
前記特徴音は、サイレン音であることを特徴とする請求項6に記載の情報処理装置。
【請求項8】
マイクアレイからなる収音部を備える情報処理装置に搭載されるコンピュータを、
前記収音部によって取得された入力音に基づき、緊急車両の挙動を示す特徴音を検出する特徴音検出手段と、
前記特徴音検出手段で検出した前記特徴音に関する情報に基づき、前記緊急車両の有無を含む検出情報を検出する緊急車両検出手段と、
前記入力音に基づき、前記緊急車両の方位を検出する方位検出手段と、
前記緊急車両検出手段で検出した前記緊急車両の検出情報と、前記方位検出手段で検出した前記緊急車両の方位に関する情報を外部に出力する通知手段と
して機能させることを特徴とする情報処理プログラム。
【請求項9】
マイクアレイからなる収音部を備える情報処理装置に使用する情報処理方法であって、
特徴音検出手段は、前記収音部によって取得された入力音に基づき、緊急車両の挙動を示す特徴音を検出し、
緊急車両検出手段は、前記特徴音検出手段で検出した前記特徴音に関する情報に基づき、前記緊急車両の有無を含む検出情報を検出し、
方位検出手段は、前記入力音に基づき、前記緊急車両の方位を検出し、
通知手段は、前記緊急車両検出手段で検出した前記緊急車両の検出情報と、前記方位検出手段で検出した前記緊急車両の方位に関する情報を外部に出力する
ことを特徴とする情報処理方法。
【請求項10】
信号機と、該信号機の灯火を制御する信号機制御装置と、該信号機制御装置に前記信号機の灯火の制御を指示する路側機と、該路側機に緊急車両に関する情報を通知する情報処理装置とを有する情報処理システムであって、
前記情報処理装置に請求項1に記載の情報処理装置を適用する
ことを特徴とする情報処理システム。
発明の詳細な説明
【技術分野】
【0001】
本発明は、情報処理装置、情報処理プログラム、情報処理方法、及び情報処理システムに関し、例えば、緊急車両の走行支援を行う高度道路交通制御システムに適用し得る。
続きを表示(約 1,600 文字)
【背景技術】
【0002】
情報通信技術を利用した高度道路交通システム(ITS:Intelligent Transport Systems)において、救急車等の緊急車両を対象に、円滑に誘導可能に信号機を制御する制御方法が存在し、この制御方法は一般にFAST(現場急行支援システム)制御と呼ばれている(特許文献1、2参照)。
【0003】
FAST制御では、緊急車両に搭載している通信機(車載通信機)から送信されるアップリンク情報が、所定の交差点に設置された路側機によって受信される。路側機では、交差点の信号制御装置に、緊急車両の進行方向と予測される信号機に対して、青信号期間を増加させる制御信号を送信する。
【0004】
これにより、緊急車両の進行先での渋滞が発生しにくくなり、緊急車両が先詰まりにより進行を阻まれるケースが減少する、というものである。
【先行技術文献】
【特許文献】
【0005】
特開2010-117807号公報
特開2016-110413号公報
【発明の概要】
【発明が解決しようとする課題】
【0006】
しかしながら、上記構成の装置では、緊急車両を特定するために、緊急車両に車載通信機が必須であり、車載通信機を搭載していない緊急車両については、FAST制御の対応ができないという問題があった。
【0007】
そのため、車載通信機が搭載されていない緊急車両に対しても、緊急車両を特定して、信号機等の装置の制御ができる情報処理装置、情報処理プログラム、情報処理方法、及び情報処理システムが望まれている。
【課題を解決するための手段】
【0008】
第1の本発明の情報処理装置は、(1)マイクアレイからなる収音部と、(2)前記収音部によって取得された入力音に基づき、緊急車両の挙動を示す特徴音を検出する特徴音検出手段と、(3)前記特徴音検出手段で検出した前記特徴音に関する情報に基づき、前記緊急車両の有無を含む検出情報を検出する緊急車両検出手段と、(4)前記入力音に基づき、前記緊急車両の方位を検出する方位検出手段と、(5)前記緊急車両検出手段で検出した前記緊急車両の検出情報と、前記方位検出手段で検出した前記緊急車両の方位に関する情報を外部に出力する通知手段とを有することを特徴とする。
【0009】
第2の本発明の情報処理プログラムは、マイクアレイからなる収音部を備える情報処理装置に搭載されるコンピュータを、(1)前記収音部によって取得された入力音に基づき、緊急車両の挙動を示す特徴音を検出する特徴音検出手段と、(2)前記特徴音検出手段で検出した前記特徴音に関する情報に基づき、前記緊急車両の有無を含む検出情報を検出する緊急車両検出手段と、(3)前記入力音に基づき、前記緊急車両の方位を検出する方位検出手段と、(4)前記緊急車両検出手段で検出した前記緊急車両の検出情報と、前記方位検出手段で検出した前記緊急車両の方位に関する情報を外部に出力する通知手段として機能させることを特徴とする。
【0010】
第3の本発明は、マイクアレイからなる収音部を備える情報処理装置に使用する情報処理方法であって、(1)特徴音検出手段は、前記収音部によって取得された入力音に基づき、緊急車両の挙動を示す特徴音を検出し、(2)緊急車両検出手段は、前記特徴音検出手段で検出した前記特徴音に関する情報に基づき、前記緊急車両の有無を含む検出情報を検出し、(3)方位検出手段は、前記入力音に基づき、前記緊急車両の方位を検出し、(4)通知手段は、前記緊急車両検出手段で検出した前記緊急車両の検出情報と、前記方位検出手段で検出した前記緊急車両の方位に関する情報を外部に出力することを特徴とする。
(【0011】以降は省略されています)
この特許をJ-PlatPat(特許庁公式サイト)で参照する
関連特許
沖電気工業株式会社
筐体
23日前
沖電気工業株式会社
レーダ装置
23日前
沖電気工業株式会社
媒体処理装置
28日前
沖電気工業株式会社
光導波路素子
28日前
沖電気工業株式会社
媒体搬送装置
23日前
沖電気工業株式会社
媒体処理装置
26日前
沖電気工業株式会社
光導波路素子
28日前
沖電気工業株式会社
光導波路素子
28日前
沖電気工業株式会社
媒体処理装置
28日前
沖電気工業株式会社
画像形成装置
2日前
沖電気工業株式会社
画像形成装置
2日前
沖電気工業株式会社
媒体処理装置
28日前
沖電気工業株式会社
現金処理装置及び印字装置
12日前
沖電気工業株式会社
定着装置及び画像形成装置
26日前
沖電気工業株式会社
電源装置及び画像形成装置
22日前
沖電気工業株式会社
紙葉類取扱装置及び現金処理装置
6日前
沖電気工業株式会社
レーザー振動計及び振動測定方法
28日前
沖電気工業株式会社
装置、設置方法、およびプログラム
23日前
沖電気工業株式会社
反り防止治具および半田リフロー装置
23日前
沖電気工業株式会社
部品管理装置、プログラムおよび方法
2日前
沖電気工業株式会社
情報処理装置、プログラムおよび方法
23日前
沖電気工業株式会社
印刷制御装置及び印刷制御プログラム
23日前
沖電気工業株式会社
直流電源装置および二次電池充電方法
2日前
沖電気工業株式会社
情報処理装置、検証方法及びプログラム
26日前
沖電気工業株式会社
検出装置、検出方法、及び検出プログラム
26日前
沖電気工業株式会社
情報処理装置、システム及び情報処理方法
23日前
沖電気工業株式会社
通信端末装置および通信端末装置の制御方法
22日前
沖電気工業株式会社
分光計、プログラム及びスペクトル測定方法
28日前
沖電気工業株式会社
通信装置、情報管理システム及び情報管理方法
22日前
沖電気工業株式会社
情報処理装置、情報処理方法およびプログラム
22日前
沖電気工業株式会社
情報処理装置、情報処理方法およびプログラム
21日前
沖電気工業株式会社
情報処理装置、情報処理方法、およびプログラム
23日前
沖電気工業株式会社
管理装置、システム、情報処理方法及びプログラム
26日前
沖電気工業株式会社
情報処理装置、情報処理方法、及び情報処理プログラム
21日前
沖電気工業株式会社
情報処理装置、システム、情報処理方法及びプログラム
23日前
沖電気工業株式会社
現金処理装置、システム、情報処理方法及びプログラム
23日前
続きを見る
他の特許を見る