TOP
|
特許
|
意匠
|
商標
特許ウォッチ
Twitter
他の特許を見る
10個以上の画像は省略されています。
公開番号
2025134997
公報種別
公開特許公報(A)
公開日
2025-09-17
出願番号
2025113063,2021151425
出願日
2025-07-03,2021-09-16
発明の名称
ボビンおよびトランス
出願人
TDK株式会社
代理人
前田・鈴木国際特許弁理士法人
主分類
H01F
5/02 20060101AFI20250909BHJP(基本的電気素子)
要約
【課題】複数のコアを有するコイル装置であっても組立が容易で信頼性に優れたコイル装置を提供すること。
【解決手段】主ボビン40と補助ボビン60とを有するコイル装置のボビンである。主ボビン40には、主巻芯部50と、主巻芯部50の一端に配置される第1主ボビン鍔42と、主巻芯部50の他端に配置される第2主ボビン鍔52と、が設けられており、補助ボビン60には、補助巻芯部70と、補助巻芯部0の一端に配置される第1補助ボビン鍔62と、補助巻芯部70の他端に配置される第2補助ボビン鍔72と、が設けられており、第1主ボビン鍔42の周方向の一部には、主ボビン連結部43が形成されており、第1補助ボビン鍔62の周方向の主ボビン連結部43に対応する位置には、補助ボビン連結部63が形成されており、補助ボビン60が主ボビン40に対して回動可能に、主ボビン連結部43と補助ボビン連結部63とが連結している。
【選択図】図6
特許請求の範囲
【請求項1】
主ボビンと補助ボビンとを有するコイル装置のボビンであって、
前記主ボビンには、主巻芯部と、前記主巻芯部の一端に配置される第1主ボビン鍔と、前記主巻芯部の他端に配置される第2主ボビン鍔と、が設けられており、
前記補助ボビンには、補助巻芯部と、前記補助巻芯部の一端に配置される第1補助ボビン鍔と、前記補助巻芯部の他端に配置される第2補助ボビン鍔と、が設けられており、
前記第1主ボビン鍔の周方向の一部には、主ボビン連結部が形成されており、
前記第1補助ボビン鍔の周方向の前記主ボビン連結部に対応する位置には、補助ボビン連結部が形成されており、
前記補助ボビンが前記主ボビンに対して回動可能に、前記主ボビン連結部と前記補助ボビン連結部とが連結しているコイル装置のボビン。
続きを表示(約 1,700 文字)
【請求項2】
前記第1主ボビン鍔の前記主ボビン連結部に支点受部が設けられ、前記支点受部が持つ穴は、前記主巻芯部の延在方向に対して垂直に延びており、
前記第1補助ボビン鍔の前記補助ボビン連結部に回転支点ピンが設けられ、前記支点受部に挿入されている請求項1に記載のコイル装置のボビン。
【請求項3】
前記支点受部は、互いに対向する第1支点受部と第2支点受部とを含み、前記第1支点受部と前記第2支点受部とは、前記主巻芯部の延在方向に対して対称に配置されており、
前記回転支点ピンは、第1回転支点ピンと第2回転支点ピンとを含み、
前記第1回転支点ピンは、前記第1支点受部に挿入されており、
前記第2回転支点ピンは、前記第2支点受部に挿入されている請求項2に記載のコイル装置のボビン。
【請求項4】
前記第1主ボビン鍔には、前記主巻芯部の延在方向に延びる第1連通溝が設けられ、
前記第1連通溝は、前記第1支点受部と第2支点受部との間に位置し、
前記第1補助ボビン鍔には、前記補助巻芯部の延在方向に延びる第2連通溝が設けられ、
前記第2連通溝は、前記第1回転支点ピンと前記第2回転支点ピンとの間に位置し、
前記第1連通溝と前記第2連通溝とは対応する位置に配置されている請求項3に記載のコイル装置のボビン。
【請求項5】
前記補助ボビンは、前記第1補助ボビン鍔が前記主ボビンの前記第1主ボビン鍔に対して180°以下で回転可能である請求項1に記載のコイル装置のボビン。
【請求項6】
前記第1主ボビン鍔には、前記主巻芯部の延在方向に延びる第1連通溝が設けられ、
前記第1補助ボビン鍔には、前記補助巻芯部の延在方向に延びる第2連通溝が設けられ、
前記第1連通溝と前記第2連通溝とは対応する位置に配置されている請求項1に記載のコイル装置のボビン。
【請求項7】
前記第1主ボビン鍔の両側には、前記主巻芯部の延在方向に突出する第1主ボビン凸状部が設けられており、
前記第2主ボビン鍔の両側には、前記主巻芯部の延在方向に突出する第2主ボビン凸状部が設けられており、
前記第1主ボビン凸状部および前記第2主ボビン凸状部の突出方向は、互いに反対方向であり、
前記第1補助ボビン鍔の両側には、前記補助巻芯部の延在方向に突出する第1補助ボビン凸状部が設けられており、
前記第2補助ボビン鍔の両側には、前記補助巻芯部の延在方向に突出する第2補助ボビン凸状部が設けられており、
前記主ボビン連結部と補前記助ボビン連
前記第1補助ボビン凸状部および前記第2補助ボビン凸状部の突出方向は、互いに反対方向である請求項1~6のいずれかに記載のコイル装置のボビン。
【請求項8】
前記主巻芯部と前記補助巻芯部の内径および外形は共に等しく、
前記第1主ボビン鍔、前記第2主ボビン鍔、前記第1補助ボビン鍔および前記第2補助ボビン鍔は、いずれも円環板であり、
前記円環板の内径は、前記主巻芯部の外形に等しく、
前記主巻芯部、前記第1主ボビン鍔および前記第2主ボビン鍔の軸心は共通し、
前記補助巻芯部、前記第1補助ボビン鍔および前記第2補助ボビン鍔の軸心は共通している請求項1~6のいずれかに記載のコイル装置のボビン。
【請求項9】
主巻芯部と、前記主巻芯部の軸芯に沿って形成された挿入孔を有する主ボビンと、
前記主ボビンの前記軸芯に沿って一方の第1端に配置してある補助ボビンと、を有するコイル装置のボビンであって、
前記主ボビンと前記補助ボビンとは、前記軸芯の周方向の一部に配置された連結部を回動支点として、前記挿入孔を開放可能に連結されているコイル装置のボビン。
【請求項10】
請求項1~9のいずれかに記載のボビンを有するトランス。
(【請求項11】以降は省略されています)
発明の詳細な説明
【技術分野】
【0001】
本発明は、複数のコアを軸芯に沿って配置することが可能なコイル装置に関する。
続きを表示(約 1,800 文字)
【背景技術】
【0002】
下記の特許文献1には、3つのコアを軸芯に沿って配置してある巻線型のコイル装置が開示してある。
【0003】
しかしながら、特許文献1に示すコイル装置では、ワイヤを巻回して3つのコアを直列に並べるためのボビンが少なくとも2つに完全に分割してある。そのため、各ボビン毎に別々のワイヤを巻回した後に、各ボビンに対応するコアを取り付けて、その後に、ボビンとコアとを組み合わせ、各ボビンに巻回してあるワイヤの端部同士を、コアの外側で接続する必要がある。
また、各ボビンに巻回してあるワイヤの端部同士は、コアを取り付けた後でないと接続できないボビン構造になっており、コイル装置の組立が容易ではなく、信頼性も低下する。
【先行技術文献】
【特許文献】
【0004】
特開2012-54549号公報
【発明の概要】
【発明が解決しようとする課題】
【0005】
本発明は、このような実状に鑑みてなされ、その目的は、複数のコアを有するコイル装置であっても組立が容易で信頼性に優れたコイル装置を提供することである。
【課題を解決するための手段】
【0006】
上記目的を達成するために、本発明に係るコイル装置は、
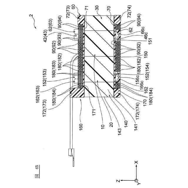
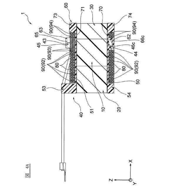
主ボビンと、
前記主ボビンの軸芯に沿って一方の第1端に配置してある補助ボビンと、
前記主ボビンの前記第1端と前記補助ボビンの第1端との間に配置してある第1コアと、を有するコイル装置であって、
前記主ボビンの主巻芯部と前記補助ボビンの補助巻芯部とには、連続する一本のワイヤが巻回してあり、
前記主ボビンと前記補助ボビンとの間には、前記ワイヤの途中部が通る部分を含む連結部が形成してあり、
前記連結部は、前記主ボビンの前記第1端の周方向の一部に配置してあり、
前記主巻芯部と前記補助巻芯部とに前記ワイヤが連続して巻き付けられた状態で、前記ワイヤの途中部または前記連結部の一部を回動支点として、前記補助ボビンは、前記主ボビンに対して回動し、前記主巻芯部の挿入孔を開き、前記第1コアの脚部が前記挿入孔に挿入可能に構成してある。
【0007】
本発明のコイル装置では、主ボビンと補助ボビンとの間にワイヤの途中部が通る部分を含む連結部が形成してあり、連結部は、主ボビンの第1端の周方向の一部に配置してある。そのため、本発明のコイル装置では、ワイヤの途中部または前記連結部の一部を回動支点として、補助ボビンは、主ボビンに対して回動し、主巻芯部の挿入孔を開き、第1コアの脚部が挿入孔に挿入可能になっている。その結果、主ボビンおよび補助ボビンに一本のワイヤを連続して巻回した後で、主ボビンに対して補助ボビンを回動させて、主巻芯部の
挿入孔を開き、第1コアの脚部を挿入孔に挿入することができる。
【0008】
第1コアの脚部を挿入孔に挿入した後には、主ボビンに対して補助ボビンを上記と逆方向に回動させ、主ボビンの第1端と補助ボビンの第1端との間に、第1コアのベース部を挟み込むことができる。その後に、主ボビンの第1端と反対側に位置する第2端に第2コアを取り付け、その前後、または同時に、補助ボビンの第1端と反対側の第2端に第3コアを取り付けることができる。第1コアと第2コアと第3コアとから成る複数のコアは、軸芯に沿って磁気回路を形成するように配列させることができる。
【0009】
このように本発明のコイル装置では、複数のコアを有するコイル装置であっても、コアを取り付けた後に、ワイヤの端部同士を接続する必要がなくなり、コイル装置の組み立てがきわめて容易になり、コイル装置の信頼性が向上する。
【0010】
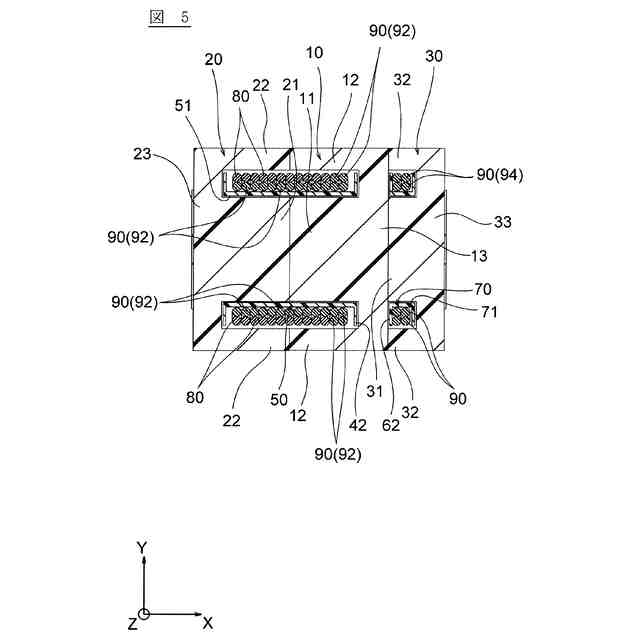
好ましくは、前記連結部は、
前記主ボビンの前記第1端に具備してある第1主ボビン鍔の周方向の一部に形成してある主ボビン連結部と、
前記補助ボビンの前記第1端に具備してある第1補助ボビン鍔の周方向の一部に形成してある補助ボビン連結部と、を有する。
主ボビン連結部と補助ボビン連結部とは、分離可能に構成してもよく、あるいは、回動支点となる薄肉部を介して相対的に回動自在に一体成形により連結してあってもよい。
(【0011】以降は省略されています)
この特許をJ-PlatPat(特許庁公式サイト)で参照する
関連特許
TDK株式会社
電子部品
2か月前
TDK株式会社
電子部品
2日前
TDK株式会社
電子部品
23日前
TDK株式会社
電子部品
29日前
TDK株式会社
電子部品
1か月前
TDK株式会社
電子部品
1か月前
TDK株式会社
電子部品
23日前
TDK株式会社
フィルタ
2日前
TDK株式会社
太陽電池
2か月前
TDK株式会社
電子部品
1か月前
TDK株式会社
電子部品
2日前
TDK株式会社
コイル部品
1か月前
TDK株式会社
コイル部品
23日前
TDK株式会社
磁気センサ
29日前
TDK株式会社
コイル装置
1か月前
TDK株式会社
コイル装置
1か月前
TDK株式会社
ガスセンサ
1か月前
TDK株式会社
コイル部品
1か月前
TDK株式会社
磁気センサ
1か月前
TDK株式会社
磁気センサ
22日前
TDK株式会社
磁気センサ
1か月前
TDK株式会社
磁気センサ
1か月前
TDK株式会社
コイル部品
1か月前
TDK株式会社
磁気センサ
1か月前
TDK株式会社
コイル部品
今日
TDK株式会社
温度センサ
13日前
TDK株式会社
コイル部品
6日前
TDK株式会社
コイル部品
2日前
TDK株式会社
コイル部品
2日前
TDK株式会社
コイル部品
2日前
TDK株式会社
コイル装置
6日前
TDK株式会社
ガスセンサ
2日前
TDK株式会社
磁気計測装置
13日前
TDK株式会社
アンテナ装置
14日前
TDK株式会社
電力変換装置
2日前
TDK株式会社
フィルタ装置
2日前
続きを見る
他の特許を見る