TOP
|
特許
|
意匠
|
商標
特許ウォッチ
Twitter
他の特許を見る
10個以上の画像は省略されています。
公開番号
2025135729
公報種別
公開特許公報(A)
公開日
2025-09-19
出願番号
2024033661
出願日
2024-03-06
発明の名称
プロジェクターの設置方法
出願人
セイコーエプソン株式会社
代理人
個人
,
個人
,
個人
主分類
H04N
5/74 20060101AFI20250911BHJP(電気通信技術)
要約
【課題】プロジェクターを正しい設置位置に設置することが容易になるプロジェクターの設置方法を提供する。
【解決手段】プロジェクター3の設置方法は、サーバーが、投写画像を投写するプロジェクター3の設置位置を示す設置位置情報を取得することと、サーバーが、投写画像が投写される投写領域の位置を示す投写位置情報を取得することと、サーバーが、投写領域の大きさを示す投写サイズ情報を取得することと、サーバーが、設置位置情報と投写位置情報と投写サイズ情報とに基づいて決定されるプロジェクター3の設定情報を取得することと、プロジェクター3が、サーバーから設定情報を取得することと、プロジェクター3が、サーバーから案内画像Pgを取得して、案内画像Pgを表示することと、を含む。
【選択図】図15
特許請求の範囲
【請求項1】
サーバーが、投写画像を投写するプロジェクターの設置位置を示す第1情報を取得することと、
前記サーバーが、前記投写画像が投写される投写領域の位置を示す第2情報を取得することと、
前記サーバーが、前記投写領域の大きさを示す第3情報を取得することと、
前記サーバーが、前記第1情報と前記第2情報と前記第3情報とに基づいて決定される前記プロジェクターの設定情報を取得することと、
前記プロジェクターが、前記サーバーから前記設定情報を取得することと、
前記プロジェクター及び端末装置の少なくとも一方が、前記サーバーから前記第1情報を取得し、前記第1情報に基づいて前記設置位置を案内する第1画像を表示することと、を含む、
プロジェクターの設置方法。
続きを表示(約 570 文字)
【請求項2】
請求項1に記載のプロジェクターの設置方法であって、
前記端末装置が前記第1画像を表示することは、
前記端末装置が、前記設置位置を含む空間が撮像された第1撮像画像を取得することと、
前記端末装置が、前記第1撮像画像に前記設置位置を示す第2画像を重畳して表示することと、を含む、
プロジェクターの設置方法。
【請求項3】
請求項1又は2に記載のプロジェクターの設置方法であって、
前記設置位置が天井である場合に、前記第1画像は、前記プロジェクターを天井に設置するための接続装置の取り付け位置を案内する、
プロジェクターの設置方法。
【請求項4】
請求項1又は2に記載のプロジェクターの設置方法であって、
前記プロジェクターが前記第1画像を表示することは、
前記プロジェクターが、補正用画像を投写することと、
前記プロジェクターが、前記補正用画像が撮像された第2撮像画像を取得することと、
前記プロジェクターが、前記第2撮像画像に基づいて、前記設定情報を補正することと、
前記プロジェクターが、補正された前記設定情報を用いて前記第1画像を投写することと、を含む、
プロジェクターの設置方法。
発明の詳細な説明
【技術分野】
【0001】
本発明は、プロジェクターの設置方法に関する。
続きを表示(約 2,700 文字)
【背景技術】
【0002】
特許文献1には、プロジェクターの設定を簡便にする設定方法が記載されている。この特許文献1において、ユーザーは、プロジェクターの発注に先立ち、情報処理装置によって表示されるシミュレーション画像において、プロジェクターの位置と、投写面の位置と、投写画像の大きさとを指定する。情報処理装置は、指定されたこれらの情報に基づいて、設定データベースから設定情報を取得する。情報処理装置は、プロジェクターの発注を受け付ける発注システムに発注がなされたことを契機として、発注システムに設定情報を送信する。
【0003】
発注システムは、情報処理装置から設定情報を受信し、ユーザーに発送されるプロジェクターに、設定情報を出力する。そして、プロジェクターは、この設定情報を記憶した状態でユーザーに発送される。この設定方法によれば、プロジェクターを受け取ったユーザーは、自身で設定をしなくてもよくなるため、プロジェクターを簡便に使用することができる。
【先行技術文献】
【特許文献】
【0004】
特開2022-119093号公報
【発明の概要】
【発明が解決しようとする課題】
【0005】
しかしながら、発注前に指定したプロジェクターの位置をユーザーが忘れてしまったり、位置を指定したユーザーとは異なるユーザーがプロジェクターを設置したりする場合に、プロジェクターが正しい位置に設置されない恐れがある。この場合、プロジェクターに記憶されている設定情報に基づいて投写を行うと、投写画像は、指定した位置とは異なる位置に、指定した大きさとは異なる大きさで投写されてしまう。
【課題を解決するための手段】
【0006】
プロジェクターの設置方法は、サーバーが、投写画像を投写するプロジェクターの設置位置を示す第1情報を取得することと、前記サーバーが、前記投写画像が投写される投写領域の位置を示す第2情報を取得することと、前記サーバーが、前記投写領域の大きさを示す第3情報を取得することと、前記サーバーが、前記第1情報と前記第2情報と前記第3情報とに基づいて決定される前記プロジェクターの設定情報を取得することと、前記プロジェクターが、前記サーバーから前記設定情報を取得することと、前記プロジェクター及び端末装置の少なくとも一方が、前記サーバーから前記第1情報を取得し、前記第1情報に基づいて前記設置位置を案内する第1画像を表示することと、を含む。
【図面の簡単な説明】
【0007】
シミュレーションシステムの概略構成を示す構成図。
端末装置の概略構成を示すブロック図。
サーバーの概略構成を示すブロック図。
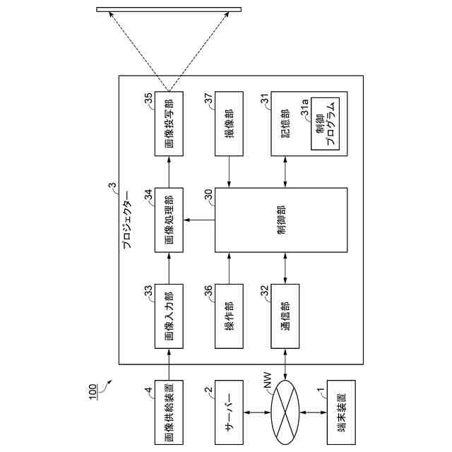
プロジェクターの概略構成を示すブロック図。
設定情報を決定する際の端末装置の動作を示すフローチャート。
設定情報を決定する際の端末装置の動作を示すフローチャート。
サーバーによる形状データ取得処理を説明するためのフローチャート。
サーバーによる設定情報取得処理を説明するためのフローチャート。
サーバーによる設定情報記憶処理を説明するためのフローチャート。
プロジェクターの設置空間を示す図。
端末装置の端末表示部を示す図。
端末装置の端末表示部を示す図。
端末装置の端末表示部を示す図。
端末装置の端末表示部を示す図。
プロジェクターを設置する際の設置空間を示す図。
初期設定処理におけるプロジェクターの動作を示すフローチャート。
プロジェクターの設置空間を示す図。
プロジェクターの設置空間を示す図。
プロジェクターの設置空間を示す図。
設置位置を確認する際の端末装置の動作を示すフローチャート。
プロジェクターの設置空間を示す図。
端末装置の端末表示部を示す図。
変形例に係る端末装置の端末表示部を示す図。
変形例に係るプロジェクターの動作を示すフローチャート。
【発明を実施するための形態】
【0008】
1.実施形態
以下、本実施形態のシミュレーションシステム100について、図面を参照して説明する。
図1は、シミュレーションシステム100の概略構成を示す構成図である。
図1に示すように、シミュレーションシステム100は、互いにインターネット等のネットワークNWに接続された端末装置1及びサーバー2を含む。シミュレーションシステム100は、プロジェクター3を使用予定のユーザーにより、プロジェクター3の設置前、例えば、プロジェクター3の購入前に利用され得る。シミュレーションシステム100は、ユーザーによって指定された位置に設置されたプロジェクター3が、投写面上の指定された位置に、指定された大きさで投写画像を投写するための設定情報を決定する。設定情報には、様々な設定値が含まれる。例えば、設定情報は、投写面までの距離に応じたフォーカス調整値、投写画像を上下又は左右方向に移動させるためのレンズシフト調整値、投写画像の台形状の歪みを補正するための台形歪補正値等を含む。決定された設定情報は、サーバー2によって記憶される。
【0009】
プロジェクター3は、例えば、ユーザーによって購入された後に、ネットワークNWに接続される。プロジェクター3は、ネットワークNWを介してサーバー2から設定情報を取得し、取得した設定情報に従って各種設定値を設定する。このため、ユーザーは、予め指定した位置にプロジェクター3を設置すれば、自ら設定値を調整することなく、投写面上の所望の位置に所望の大きさで投写画像を投写させることができる。これ以降、投写面上において、プロジェクター3から投写画像が投写される領域のことを投写領域とも呼ぶ。つまり、投写領域の位置、形状、及び大きさは、投写画像の位置、形状、及び大きさと同義である。
【0010】
図2は、端末装置1の概略構成を示すブロック図である。
端末装置1は、プロジェクター3のユーザーによって使用される携帯型の情報処理装置であり、例えば、スマートフォンやタブレット型の端末装置等が該当する。
(【0011】以降は省略されています)
この特許をJ-PlatPat(特許庁公式サイト)で参照する
関連特許
セイコーエプソン株式会社
液体容器、印刷装置、印刷システム
4日前
個人
店内配信予約システム
2か月前
サクサ株式会社
中継装置
3か月前
WHISMR合同会社
収音装置
26日前
アイホン株式会社
電気機器
20日前
キヤノン株式会社
撮像装置
3か月前
キヤノン株式会社
電子機器
2か月前
キヤノン株式会社
撮像装置
1か月前
キヤノン電子株式会社
モバイル装置
3か月前
個人
ワイヤレスイヤホン対応耳掛け
18日前
株式会社リコー
画像形成装置
1か月前
株式会社リコー
画像形成装置
2か月前
日本精機株式会社
画像投映システム
3か月前
株式会社リコー
画像形成装置
1か月前
ヤマハ株式会社
信号処理装置
3か月前
電気興業株式会社
無線中継器
3か月前
キヤノン電子株式会社
画像読取装置
27日前
株式会社ニコン
撮像装置
2か月前
キヤノン株式会社
画像表示装置
4か月前
キヤノン株式会社
撮像システム
20日前
ブラザー工業株式会社
読取装置
1か月前
キヤノン株式会社
画像処理装置
4か月前
キヤノン株式会社
通信システム
3か月前
有限会社フィデリックス
マイクロフォン
4日前
株式会社JVCケンウッド
通信システム
4日前
キヤノン電子株式会社
画像読取システム
3か月前
沖電気工業株式会社
画像形成装置
8日前
国立大学法人電気通信大学
小型光学装置
1か月前
エルメック株式会社
信号伝送回路
4か月前
キヤノン電子株式会社
シート材搬送装置
1か月前
パテントフレア株式会社
水中電波通信法
2か月前
DXO株式会社
情報処理システム
2か月前
株式会社小糸製作所
画像照射装置
1か月前
大日本印刷株式会社
写真撮影装置
19日前
パテントフレア株式会社
超高速電波通信
1か月前
株式会社クーネル
音響装置
4か月前
続きを見る
他の特許を見る