TOP
|
特許
|
意匠
|
商標
特許ウォッチ
Twitter
他の特許を見る
公開番号
2025135774
公報種別
公開特許公報(A)
公開日
2025-09-19
出願番号
2024033726
出願日
2024-03-06
発明の名称
車両バンパ用カバー固定構造
出願人
スズキ株式会社
代理人
個人
,
個人
主分類
B60R
19/04 20060101AFI20250911BHJP(車両一般)
要約
【課題】バンパの開口に着脱されるカバーの折れ曲がりを低減させることができる車両バンパ用カバー固定構造を提供する。
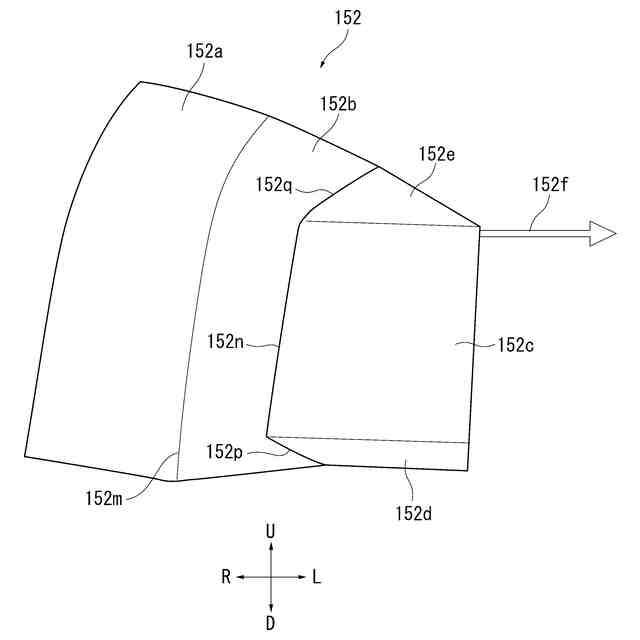
【解決手段】車両バンパ用カバー固定構造100は、開口110を有するバンパ101と、開口110を閉塞するカバー150と、を備え、カバー150は、バンパ101に固定された内側パネルと、内側パネルの外側に重なり内側パネルよりも大きく内側パネルに固定された外側パネル152と、を有する。外側パネル152には、バンパ101から連続していて外側へ突出した外向き稜線152mおよび内側へ突出した内向き稜線152nが形成されている。
【選択図】図1
特許請求の範囲
【請求項1】
開口を有するバンパと、
前記開口を閉塞するカバーと、を備える車両バンパ用カバー固定構造であって、
前記カバーは、
前記バンパに固定された内側パネルと、
前記内側パネルの外側に重なるように固定され該内側パネルよりも大きな外側パネルと、
を有することを特徴とする車両バンパ用カバー固定構造。
続きを表示(約 580 文字)
【請求項2】
前記外側パネルには、前記バンパから連続していて外側へ突出した外向き稜線が形成されていて、
前記内側パネルは、前記外向き稜線と交差する方向に延び内側へ突出したビード部を有することを特徴とする請求項1に記載の車両バンパ用カバー固定構造。
【請求項3】
前記外向き稜線は、前記外側パネルに上下方向にわたって形成されていて、
前記外側パネルにはさらに、前記バンパから連続していて前記外向き稜線の車幅方向内側で上下方向にわたって内側へ突出した内向き稜線が形成されていて、
前記外側パネルは、
前記内向き稜線から前記内側パネルへ延び該内側パネルに係合する2つの第1パネル係合爪であって、前記ビード部の両側に配置された2つの第1パネル係合爪と、
前記外向き稜線の車幅方向外側から前記内側パネルへ延び該内側パネルに係合する第2パネル係合爪と、を有することを特徴とする請求項2に記載の車両バンパ用カバー固定構造。
【請求項4】
前記内側パネルは、
前記2つの第1パネル係合爪が並ぶライン上で前記外側パネルに当接する第1リブと、
前記ビード部の車幅方向内側で前記外側パネルに当接する第2リブと、
を有することを特徴とする請求項3に記載の車両バンパ用カバー固定構造。
発明の詳細な説明
【技術分野】
【0001】
本発明は、車両バンパ用カバー固定構造に関するものである。
続きを表示(約 1,400 文字)
【背景技術】
【0002】
車両のバンパには、車体に取り付けられたトーイングフックを隠すカバーが取り付けられることがある。例えば特許文献1には、車体前部に設けられたバンパの開口に着脱可能なカバーが開示されている。このカバーは、裏面に支持片および係止片を有し、これらによって通常時はバンパの開口に取り付けられているが、車両牽引時には外され、トーイングフックが露出する。
【先行技術文献】
【特許文献】
【0003】
特開2001-294105号公報
【発明の概要】
【発明が解決しようとする課題】
【0004】
しかし、特許文献1のような技術では、カバーは、バンパの開口に着脱されるときに支持片および係止片で負荷を受けて曲がり易い。
【0005】
本発明はこのような課題に鑑み、バンパの開口に着脱されるカバーの折れ曲がりを低減させることができる車両バンパ用カバー固定構造を提供することを目的としている。
【課題を解決するための手段】
【0006】
上記課題を解決するために、本発明の代表的な構成は、開口を有するバンパと、開口を閉塞するカバーと、を備える車両バンパ用カバー固定構造であって、カバーは、バンパに固定された内側パネルと、内側パネルの外側に重なるように固定され内側パネルよりも大きな外側パネルと、を有することを特徴とする。
【発明の効果】
【0007】
本発明によれば、バンパの開口に着脱されるカバーの折れ曲がりを低減させることができる。
【図面の簡単な説明】
【0008】
本発明の実施例に係る車両バンパ用カバー固定構造が適用されたバンパの正面図である。
図1の車両バンパ用カバー固定構造において外側パネルを外した正面図である。
図1の車両バンパ用カバー固定構造におけるカバーとその周辺の断面図である。
図1の車両バンパ用カバー固定構造の内側パネルを裏面側から見た斜視図である。
図1の車両バンパ用カバー固定構造の外側パネルの正面図である。
図1の車両バンパ用カバー固定構造の外側パネルの裏面図である。
図2の内側パネルに図5の外側パネルを取り付けた状態を示す正面図である。
【発明を実施するための形態】
【0009】
本発明の一実施の形態は、開口を有するバンパと、開口を閉塞するカバーと、を備える車両バンパ用カバー固定構造であって、カバーは、バンパに固定された内側パネルと、内側パネルの外側に重なるように固定され内側パネルよりも大きな外側パネルと、を有することを特徴とする。
【0010】
本発明によれば、カバーが内側パネルおよび外側パネルの2枚のパネルを有するため、カバーの剛性が高くなる。この結果、バンパの開口に着脱されるカバーの折れ曲がりを低減させることができる。また、外側パネルの方が内側パネルよりも大きいため、バンパとカバーとの境界に内側パネルは露出せず、内側パネルの構造が外部から見えないようにすることもできる。すなわち、カバーが2枚のパネルを有しても見切りが悪化することはない。
(【0011】以降は省略されています)
この特許をJ-PlatPat(特許庁公式サイト)で参照する
関連特許
スズキ株式会社
排気装置
28日前
スズキ株式会社
排気装置
28日前
スズキ株式会社
車体下部構造
1か月前
スズキ株式会社
車両側部構造
27日前
スズキ株式会社
車両側部構造
27日前
スズキ株式会社
動力伝達装置
1か月前
スズキ株式会社
運転支援装置
1か月前
スズキ株式会社
車両側部構造
1か月前
スズキ株式会社
運転支援装置
1か月前
スズキ株式会社
車両前部構造
18日前
スズキ株式会社
車両用バンパ
18日前
スズキ株式会社
車両前部構造
1か月前
スズキ株式会社
モータケース
18日前
スズキ株式会社
車両用変速機
18日前
スズキ株式会社
車体下部構造
1か月前
スズキ株式会社
エアクリーナ
1か月前
スズキ株式会社
移動システム
2か月前
スズキ株式会社
燃料電池車両
5日前
スズキ株式会社
車両前部構造
29日前
スズキ株式会社
燃料電池車両
5日前
スズキ株式会社
運転支援装置
1か月前
スズキ株式会社
車両用制御装置
1か月前
スズキ株式会社
車両用空調装置
1か月前
スズキ株式会社
車両用制御装置
1か月前
スズキ株式会社
車両用制御装置
27日前
スズキ株式会社
積立金管理装置
26日前
スズキ株式会社
車両の制御装置
20日前
スズキ株式会社
車両用制御装置
1か月前
スズキ株式会社
車両の制御装置
11日前
スズキ株式会社
車両用送風構造
12日前
スズキ株式会社
車両用制御装置
2か月前
スズキ株式会社
車両用送風構造
12日前
スズキ株式会社
車両の制御装置
1か月前
スズキ株式会社
車両用送風構造
12日前
スズキ株式会社
吸気マニホールド
2か月前
スズキ株式会社
燃料電池スタック
1か月前
続きを見る
他の特許を見る