TOP
|
特許
|
意匠
|
商標
特許ウォッチ
Twitter
他の特許を見る
10個以上の画像は省略されています。
公開番号
2025135976
公報種別
公開特許公報(A)
公開日
2025-09-19
出願番号
2024034089
出願日
2024-03-06
発明の名称
携帯情報端末
出願人
株式会社キーエンス
代理人
個人
,
個人
主分類
G06K
7/10 20060101AFI20250911BHJP(計算;計数)
要約
【課題】写真撮影に使用されるカメラを用いて迅速なコードの読み取りを可能とする。
【解決手段】エイマ光照明部36からワークWにエイマ光L36が照射されるようにユーザが携帯情報端末1をワークWに対してかざす。これによって、測距センサ37の測距光L37と狭角照明部35の狭角照明光L35とがワークWに照射される。その結果、測距センサ37が測定した距離に応じてリアカメラ33のフォーカスの位置を迅速に調整しつつ狭角照明光L35の比較的短時間の露光によってワークWを撮像して、コード画像Icを生成することができる。そして、デコーダ86がコード画像Icに基づきコードCのデコード処理を実行する。
【選択図】図1B
特許請求の範囲
【請求項1】
表示部が設けられた第一主面と、当該第一主面と異なる第二主面とを有する筐体と、
視野を撮像して撮像画像を生成する、フォーカスの位置を可変であるカメラと、
前記カメラの視野に広角照明光を照射する広角照明部と、
前記広角照明光より狭い角度の狭角照明光を前記カメラの視野に照射する狭角照明部と、
ワークに可視光であるエイマ光を照射するエイマ光照射部と、
前記ワークに測距光を照射して前記ワークで反射された前記測距光を検出した結果に基づき前記ワークまでの距離を測定する測距センサと、
前記測距センサが測定した前記距離に応じて、前記カメラのフォーカスの位置を調整するフォーカス調整部と、
前記ワークを撮像した前記撮像画像に基づき、前記ワークに付されたコードのデコード処理を実行するデコーダと、
前記カメラが撮像を行う際の条件を制御する撮像制御部と、
を備え、
前記カメラ、前記広角照明部、前記狭角照明部、前記エイマ光照射部および前記測距センサは、前記筐体の前記第二主面に設けられ、
前記撮像制御部は、写真撮影にあたっては、前記広角照明部に前記広角照明光を照射させつつ前記カメラに撮像させることで写真用の前記撮像画像を前記カメラに生成させる一方、前記デコード処理にあたっては、前記エイマ光照射部に前記ワークに対して前記エイマ光を照射させ、前記狭角照明部に前記狭角照明光を照射させつつ前記フォーカス調整部に前記カメラのフォーカスの位置を調整させて前記カメラに撮像させることで前記デコード処理用の前記撮像画像を前記カメラに生成させる携帯情報端末。
続きを表示(約 1,200 文字)
【請求項2】
前記エイマ光および前記測距光は、前記カメラの視野内に含まれるとともに、前記狭角照明光が照射される範囲に含まれ、
前記フォーカス調整部によってフォーカスの位置が調整された前記カメラの被写界深度に、前記ワーク上における前記エイマ光および前記測距光それぞれの照射位置が含まれる請求項1に記載の携帯情報端末。
【請求項3】
前記エイマ光、前記測距光、前記カメラの視野および前記狭角照明光それぞれの光軸は互いに平行である請求項1に記載の携帯情報端末。
【請求項4】
前記狭角照明部の光軸と前記カメラの光軸との距離は、前記広角照明部の光軸と前記カメラの光軸との距離以下である請求項1に記載の携帯情報端末。
【請求項5】
前記狭角照明部、前記エイマ光照射部および前記測距センサのうちのいずれか2つの間に、前記カメラは前記2つと一列に配列される請求項1に記載の携帯情報端末。
【請求項6】
前記筐体に着脱可能に取り付けられるカメラ用のアタッチメントをさらに備え、
前記アタッチメントは、前記筐体に取り付けられた状態で、前記カメラに対向して前記カメラに入射する光の特性を調整する光学部品を有する請求項1に記載の携帯情報端末。
【請求項7】
前記筐体に着脱可能に取り付けられる照明用のアタッチメントをさらに備え、
前記アタッチメントは、前記筐体に取り付けられた状態で、前記狭角照明部に対向して前記狭角照明部から照射された前記狭角照明光の特性を調整する光学部品を有する請求項1に記載の携帯情報端末。
【請求項8】
近距離無線通信を実行する通信部と、
前記通信部のスリープおよび起動を制御する起動制御部と
をさらに備え、
前記アタッチメントには、当該アタッチメントを識別する識別子が設けられ、
前記起動制御部は、前記測距センサが検出する距離に基づき、前記アタッチメントの前記筐体への取り付けの有無を判定し、前記アタッチメントが取り付けられていないと判定すると前記通信部をスリープさせる一方、前記アタッチメントが取り付けられたと判定すると前記通信部を起動させ、
前記通信部は起動すると、前記アタッチメントの識別子を近距離無線通信によって認識する請求項6または7に記載の携帯情報端末。
【請求項9】
前記デコーダは、前記撮像画像に対する前記デコード処理の実行態様を、前記測距センサが検出した前記距離に応じて変更する請求項1に記載の携帯情報端末。
【請求項10】
前記デコーダは、隣接する画素を所定のサイズの一つの画素にまとめるビニングを前記撮像画像に実行した結果に対して前記デコード処理を実行し、
前記ビニングにおける前記サイズは、前記測距センサが検出した前記距離に応じて変更される請求項9に記載の携帯情報端末。
(【請求項11】以降は省略されています)
発明の詳細な説明
【技術分野】
【0001】
この発明は、ワークに付されたコードを読み取る技術に関する。
続きを表示(約 3,700 文字)
【背景技術】
【0002】
特許文献1には、バーコードやQRコード(登録商標)といったコードを読み取る情報読取装置が開示されている。この情報読取装置は、筐体の上端に設けられたカメラ部によって画像を取得して、画像に含まれるコードを復号することで、コードを読み取る。
【先行技術文献】
【特許文献】
【0003】
特開2022-144178号公報
【発明の概要】
【発明が解決しようとする課題】
【0004】
ところで、スマートフォンに代表されるような携帯情報端末によってコードの読み取りを簡便に行いたいというニーズがある。しかしながら、このような携帯情報端末に搭載されるカメラや照明は、人物や風景といった写真を撮影することを目的とすることから、コードの読み取りには必ずしも適していない。そのため、フォーカスや露光に時間を要し、コードの迅速な読取を実現することが難しかった。
【0005】
この発明は上記課題に鑑みなされたものであり、写真撮影に使用される携帯情報端末のカメラを用いて迅速なコードの読み取りを可能とする技術の提供を目的とする。
【課題を解決するための手段】
【0006】
本発明に係る携帯情報端末は、表示部が設けられた第一主面と、当該第一主面と異なる第二主面とを有する筐体と、視野を撮像して撮像画像を生成する、フォーカスの位置を可変であるカメラと、カメラの視野に広角照明光を照射する広角照明部と、広角照明光より狭い角度の狭角照明光をカメラの視野に照射する狭角照明部と、ワークに可視光であるエイマ光を照射するエイマ光照射部と、ワークに測距光を照射してワークで反射された測距光を検出した結果に基づきワークまでの距離を測定する測距センサと、測距センサが測定した距離に応じて、カメラのフォーカスの位置を調整するフォーカス調整部と、ワークを撮像した撮像画像に基づき、ワークに付されたコードのデコード処理を実行するデコーダと、カメラが撮像を行う際の条件を制御する撮像制御部と、を備え、カメラ、広角照明部、狭角照明部、エイマ光照射部および測距センサは、筐体の第二主面に設けられ、撮像制御部は、写真撮影にあたっては、広角照明部に広角照明光を照射させつつカメラに撮像させることで写真用の撮像画像をカメラに生成させる一方、デコード処理にあたっては、エイマ光照射部にワークに対してエイマ光を照射させ、狭角照明部に狭角照明光を照射させつつフォーカス調整部にカメラのフォーカスの位置を調整させてカメラに撮像させることでデコード処理用の撮像画像をカメラに生成させる。
【0007】
このように構成された本発明(携帯情報端末)は、第一主面と第二主面とを有する筐体を備え、第一主面に表示部が設けられ、第二主面にカメラおよび広角照明部とが設けられる。そして、広角照明部がカメラの視野に広角照明光を照射しつつカメラが視野を撮像することで、写真用の撮像画像を生成することができる(写真撮影)。さらに、第二主面に、狭角照明部、エイマ光照射部および測距センサが設けられる。狭角照明部は、広角照明光より狭い角度の狭角照明光をカメラの視野に照射し、エイマ光照射部は、ワークに可視光であるエイマ光を照射し、測距センサは、ワークに測距光を照射してワークで反射された測距光を検出した結果に基づきワークまでの距離を測定する。そして、デコード処理にあたっては、次の動作が実行される。つまり、エイマ光照射部からワークにエイマ光が照射されるようにユーザが携帯情報端末をワークに対してかざす。これによって、測距センサの測距光と狭角照明部の狭角照明光とがワークに照射される。その結果、測距センサが測定した距離に応じてカメラのフォーカスの位置を迅速に調整しつつ狭角照明光の比較的短時間の露光によってワークを撮像して、コードの撮像画像を生成することができる。そして、デコーダが撮像画像に基づきコードのデコード処理を実行する。こうして、写真撮影に使用される携帯情報端末のカメラを用いて迅速なコードの読み取りが可能となっている。
【発明の効果】
【0008】
以上のように、本発明によれば、写真撮影に使用される携帯情報端末のカメラを用いて迅速なコードの読み取りが可能となっている。
【図面の簡単な説明】
【0009】
本発明に係る携帯情報端末の外観構成を示す正面図。
図1Aの携帯情報端末の外観構成を示す背面図。
図1Aの携帯情報端末の外観構成を示す側面図。
図1Aの携帯情報端末の外観構成を示す部分斜視図。
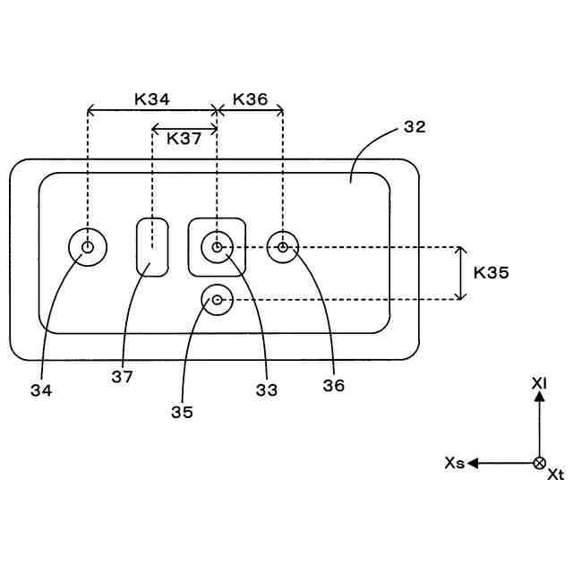
携帯情報端末のリアカメラユニットにおけるレイアウトを示す背面図。
図1Aの携帯情報端末のリアカメラユニットの動作を模式的に示す側面図。
図1Aの携帯情報端末が備える電気的構成を示すブロック図。
図1Aの携帯情報端末が備える電気的構成を示すブロック図。
図1Aの携帯情報端末が備える電気的構成を示すブロック図。
ユーザアプリケーション画面の一例を示す図。
イメージビューウィンドウの一例を示す図。
イメージビューウィンドウの一例を示す図。
ユーザアプリケーション画面とイメージビューウィンドウとの表示態様の一例を示す図。
バーチャルエイマによる位置合わせの様子を模式的に示す図。
エイマ光による位置合わせの様子を模式的に示す図。
サービス部が実行する複数コード読取モードの一例を示すフローチャート。
図5Aの複数コード読取モードに応じてユーザアプリケーションが実行する登録要否判定の一例を示すフローチャート。
図5Aの複数コード読取モードで実行される動作を模式的に示す図。
携帯情報端末によって実行されるコード読取の一例を示すフローチャート。
図6Aのコード読取で実行される単数コード読取モードの一例を示すフローチャート。
図6Aの動作で実行される複数コード読取モードの一例を示すフローチャート。
図6Aのコード読取で実行されるデータ保存処理の一例を示すフローチャート。
スクリーンショット制御の一例を示すフローチャート。
コード読取条件制御の一例を示すフローチャート。
図7Aのコード読取条件制御で実行される動作を模式的に示す図。
図7Aのコード読取条件制御で実行される動作を模式的に示す図。
図7Aのコード読取条件制御で実行される動作を模式的に示す図。
アタッチメントの例を示す背面図。
アタッチメントの例を示す背面図。
アタッチメントの例を示す背面図。
アタッチメントの例を示す背面図。
アタッチメントの例を示す背面図。
アタッチメントの種類を判定する携帯情報端末の電気的構成を示すブロック図。
セキュリティモードの設定方法の変形例を示すフローチャート。
リアカメラユニットにおけるレイアウトの変形例を示す背面図。
リアカメラユニットにおけるレイアウトの変形例を示す背面図。
リアカメラユニットにおけるレイアウトの変形例を示す背面図。
リアカメラユニットにおけるレイアウトの変形例を示す背面図。
ユーザアプリケーション画面とイメージビューウィンドウとの表示態様の第1変形例を示す図。
ユーザアプリケーション画面とイメージビューウィンドウとの表示態様の第1変形例を示す図。
ユーザアプリケーション画面とイメージビューウィンドウとの表示態様の第2変形例を示す図。
ユーザアプリケーション画面とイメージビューウィンドウとの表示態様の第2変形例を示す図。
イメージビューウィンドウの表示制御の第1変形例を示すフローチャート。
イメージビューウィンドウの表示制御の第2変形例を示すフローチャート。
ユーザアプリケーションによる読取データの登録管理の一例を示すフローチャート。
【発明を実施するための形態】
【0010】
図1Aは本発明に係る携帯情報端末の外観構成を示す正面図であり、図1Bは図1Aの携帯情報端末の外観構成を示す背面図であり、図1Cは図1Aの携帯情報端末の外観構成を示す側面図であり、図1Dは図1Aの携帯情報端末の外観構成を示す部分斜視図であり、図1Eは携帯情報端末のリアカメラユニットにおけるレイアウトを示す背面図であり、図1Fは図1Aの携帯情報端末のリアカメラユニットの動作を模式的に示す側面図である。本実施形態では、互いに直交する携帯情報端末1の短手方向Xs、長手方向Xlおよび厚み方向Xtを適宜示す。
(【0011】以降は省略されています)
この特許をJ-PlatPat(特許庁公式サイト)で参照する
関連特許
株式会社キーエンス
画像検査装置
3日前
株式会社キーエンス
画像検査装置
3日前
株式会社キーエンス
画像検査装置
3日前
株式会社キーエンス
画像検査装置
3日前
株式会社キーエンス
画像検査装置
4日前
株式会社キーエンス
受発注システム
3日前
株式会社キーエンス
受発注システム
3日前
株式会社キーエンス
受発注システム
3日前
株式会社キーエンス
製品受発注システム
3日前
株式会社キーエンス
画像センサ及び画像検査システム
3日前
株式会社キーエンス
通信ユニット及び画像検査システム
3日前
株式会社キーエンス
分析装置
2日前
個人
裁判のAI化
2か月前
個人
フラワーコートA
1か月前
個人
地球保全システム
4日前
個人
工程設計支援装置
1か月前
個人
冷凍食品輸出支援構造
1か月前
個人
為替ポイント伊達夢貯
1か月前
個人
介護情報提供システム
2か月前
個人
携帯情報端末装置
1か月前
個人
設計支援システム
2か月前
個人
表変換編集支援システム
24日前
個人
設計支援システム
2か月前
個人
結婚相手紹介支援システム
1か月前
個人
知財出願支援AIシステム
1か月前
個人
パスワード管理支援システム
24日前
個人
AIによる情報の売買の仲介
1か月前
個人
行動時間管理システム
26日前
株式会社カクシン
支援装置
2か月前
個人
システム及びプログラム
17日前
個人
海外支援型農作物活用システム
16日前
日本精機株式会社
施工管理システム
1か月前
個人
食品レシピ生成システム
3日前
個人
AIキャラクター制御システム
24日前
株式会社キーエンス
受発注システム
3日前
株式会社キーエンス
受発注システム
3日前
続きを見る
他の特許を見る