TOP
|
特許
|
意匠
|
商標
特許ウォッチ
Twitter
他の特許を見る
公開番号
2025136288
公報種別
公開特許公報(A)
公開日
2025-09-19
出願番号
2024034707
出願日
2024-03-07
発明の名称
バッテリモジュール
出願人
本田技研工業株式会社
代理人
個人
,
個人
主分類
H01M
50/293 20210101AFI20250911BHJP(基本的電気素子)
要約
【課題】クッション材の面圧の均一性を高くすることが可能なバッテリモジュールを提供する。
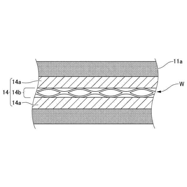
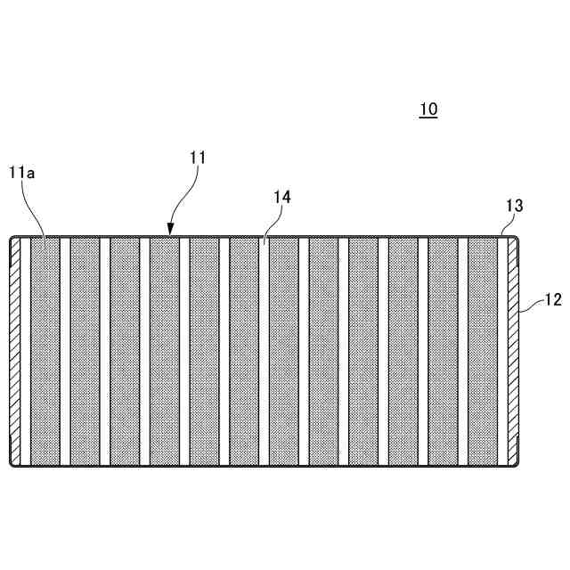
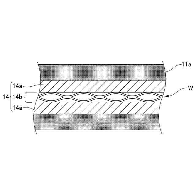
【解決手段】バッテリモジュールは、複数のバッテリセル11aが積層されているバッテリセル積層体と、バッテリセル積層体の積層方向の両端に設けられている一対のエンドプレートと、複数のバッテリセル11aの間、および、バッテリセル積層体とエンドプレートとの間に配置されているクッション材14と、を備える。クッション材14は、バッテリセル積層体の積層方向の両外側に配置されている一対の第1弾性部材14aと、一対の第1弾性部材14aの間に配置されている第2弾性部材14bと、を備える。第2弾性部材14bは、凹部および凸部が交互に連続して配置されているとともに、所定の方向に延びている波状の板バネがバッテリセル積層体の積層方向に2層積層されているとともに、隣接する波状の板バネの凹部および凸部が一体化している形状に成形されている。
【選択図】図2
特許請求の範囲
【請求項1】
複数のバッテリセルが積層されているバッテリセル積層体と、
前記バッテリセル積層体の積層方向の両端に設けられている一対の板状部材と、
前記複数のバッテリセルの間、および/または、前記バッテリセル積層体と前記板状部材との間に配置されているクッション材と、を備え、
前記クッション材は、前記バッテリセル積層体の積層方向の両外側に配置されている一対の第1弾性部材と、前記一対の第1弾性部材の間に配置されている第2弾性部材と、を備え、
前記第2弾性部材は、凹部および凸部が交互に連続して配置されているとともに、所定の方向に延びている波状の板バネが前記バッテリセル積層体の積層方向に2N層(ただし、Nは、自然数である。)積層されているとともに、隣接する前記波状の板バネの前記凹部および前記凸部が一体化している形状に成形されている、バッテリモジュール。
続きを表示(約 640 文字)
【請求項2】
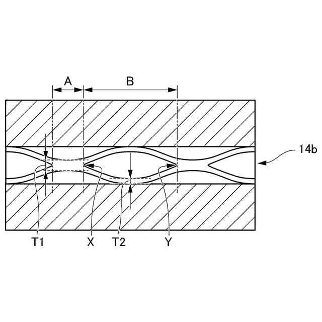
前記第2弾性部材は、前記凹部および前記凸部が一体化している領域の厚さが、前記凹部および前記凸部が一体化していない領域の厚さよりも大きい、請求項1に記載のバッテリモジュール。
【請求項3】
前記第2弾性部材は、前記凹部および前記凸部が一体化していない領域の前記凹部および前記凸部が交互に連続して配置されている方向の両端部が丸みを帯びている、請求項1または2に記載のバッテリモジュール。
【請求項4】
前記バッテリセルは、固体電池セルである、請求項1または2に記載のバッテリモジュール。
【請求項5】
請求項1または2に記載のバッテリモジュールを製造する方法であって、
金型の内部に中子を設置する工程と、
前記中子が設置された金型を使用して、前記第2弾性部材を成形する工程と、
前記第2弾性部材の内部に存在する中子を冷却する工程と、を含む、バッテリモジュールの製造方法。
【請求項6】
請求項1または2に記載のバッテリモジュールを製造する方法であって、
金型の内部に中子を設置する工程と、
前記中子が設置された金型を使用して、前記第2弾性部材の前駆体を成形する工程と、
前記第2弾性部材の前駆体から前記金型を取り外す工程と、
前記金型が取り外された第2弾性部材の前駆体を切断して前記第2弾性部材を得る工程と、を含む、バッテリモジュールの製造方法。
発明の詳細な説明
【技術分野】
【0001】
本発明は、バッテリモジュールに関する。
続きを表示(約 1,400 文字)
【背景技術】
【0002】
近年、より多くの人々が手頃で信頼でき、持続可能かつ先進的なエネルギーへのアクセスを確保できるようにするため、エネルギーの効率化に貢献するバッテリモジュールに関する研究開発が実施されている。
【0003】
バッテリモジュールは、例えば、複数のバッテリセルが積層されているバッテリセル積層体を備える。ここで、バッテリセルは、充放電に伴い、膨張収縮するため、バッテリモジュールは、例えば、バッテリセル積層体の積層方向の両端に設けられている一対のエンドプレートと、一対のエンドプレートの間にバッテリセル積層体を拘束するバインドバーと、を備える。
【0004】
特許文献1には、積層方向に積層された複数の蓄電セルを含む蓄電モジュールと、蓄電モジュールを収容する収容ケースと、蓄電セル間に配置された制限ユニットと、を備える蓄電装置が記載されている。ここで、制限ユニットは、積層方向に間隔をあけて配置された第1平板および第2平板と、第1平板および第2平板の間に配置された波板と、を含む。
【先行技術文献】
【特許文献】
【0005】
特開2022-156427号公報
【発明の概要】
【発明が解決しようとする課題】
【0006】
しかしながら、引用文献1に記載されている蓄電装置は、蓄電セルの充電時の膨張に伴い、制限ユニットが圧縮される際に、第1平板および第2平板の波板と接触している部分と、第1平板および第2平板の波板と接触していない部分との間で、面圧の差が大きくなり、制限ユニットの面圧の均一性が低くなる。
【0007】
本発明は、クッション材の面圧の均一性を高くすることが可能なバッテリモジュールを提供することを目的とする。
【課題を解決するための手段】
【0008】
(1)複数のバッテリセルが積層されているバッテリセル積層体と、前記バッテリセル積層体の積層方向の両端に設けられている一対の板状部材と、前記複数のバッテリセルの間、および/または、前記バッテリセル積層体と前記板状部材との間に配置されているクッション材と、を備え、前記クッション材は、前記バッテリセル積層体の積層方向の両外側に配置されている一対の第1弾性部材と、前記一対の第1弾性部材の間に配置されている第2弾性部材と、を備え、前記第2弾性部材は、凹部および凸部が交互に連続して配置されているとともに、所定の方向に延びている波状の板バネが前記バッテリセル積層体の積層方向に2N層(ただし、Nは、自然数である。)積層されているとともに、隣接する前記波状の板バネの前記凹部および前記凸部が一体化している形状に成形されている、バッテリモジュール。
【0009】
(2)前記第2弾性部材は、前記凹部および前記凸部が一体化している領域の厚さが、前記凹部および前記凸部が一体化していない領域の厚さよりも大きい、(1)に記載のバッテリモジュール。
【0010】
(3)前記第2弾性部材は、前記凹部および前記凸部が一体化していない領域の前記凹部および前記凸部が交互に連続して配置されている方向の両端部が丸みを帯びている、(1)または(2)に記載のバッテリモジュール。
(【0011】以降は省略されています)
この特許をJ-PlatPat(特許庁公式サイト)で参照する
関連特許
本田技研工業株式会社
車両
9日前
本田技研工業株式会社
装置
8日前
本田技研工業株式会社
モータ
5日前
本田技研工業株式会社
保持装置
2日前
本田技研工業株式会社
受電装置
3日前
本田技研工業株式会社
内燃機関
8日前
本田技研工業株式会社
会話装置
1日前
本田技研工業株式会社
車両構造
5日前
本田技研工業株式会社
内燃機関
8日前
本田技研工業株式会社
ステータ
1日前
本田技研工業株式会社
車両構造
5日前
本田技研工業株式会社
通知装置
8日前
本田技研工業株式会社
バッテリ
2日前
本田技研工業株式会社
バッテリ
2日前
本田技研工業株式会社
送電装置
3日前
本田技研工業株式会社
保管装置
3日前
本田技研工業株式会社
断続装置
3日前
本田技研工業株式会社
切断装置
1日前
本田技研工業株式会社
保管装置
3日前
本田技研工業株式会社
固体電池
3日前
本田技研工業株式会社
電解装置
16日前
本田技研工業株式会社
鞍乗型車両
15日前
本田技研工業株式会社
リアクトル
8日前
本田技研工業株式会社
リンク機構
1日前
本田技研工業株式会社
分離システム
5日前
本田技研工業株式会社
運転制御装置
5日前
本田技研工業株式会社
放電処理方法
3日前
本田技研工業株式会社
鞍乗り型車両
2日前
本田技研工業株式会社
車両制御装置
15日前
本田技研工業株式会社
潤滑システム
3日前
本田技研工業株式会社
電源システム
3日前
本田技研工業株式会社
車両制御装置
17日前
本田技研工業株式会社
鞍乗り型車両
23日前
本田技研工業株式会社
潤滑システム
15日前
本田技研工業株式会社
鞍乗り型車両
25日前
本田技研工業株式会社
クラッチ装置
24日前
続きを見る
他の特許を見る