TOP
|
特許
|
意匠
|
商標
特許ウォッチ
Twitter
他の特許を見る
10個以上の画像は省略されています。
公開番号
2025136342
公報種別
公開特許公報(A)
公開日
2025-09-19
出願番号
2024034847
出願日
2024-03-07
発明の名称
コントローラ、システム、方法、及び、プログラム
出願人
茨城県
代理人
スプリング弁理士法人
主分類
G09G
5/08 20060101AFI20250911BHJP(教育;暗号方法;表示;広告;シール)
要約
【課題】 観察者と対象物との間に配置される透過型表示装置に、対象物の位置を指示するためのマーカを表示させ得る透過型表示装置のコントローラの提供。
【解決手段】 透過型表示装置のコントローラであって、メモリと、プロセッサと、前記メモリに記憶され、前記プロセッサにより実行可能に構成されたプログラムとを含み、前記プログラムは、観察者の両眼、対象物、及び、前記観察者と前記対象物との間に配置される前記透過型装置の相対位置を取得する第1命令と、前記対象物を注視するときの前記観察者の両眼視差を前記相対位置から算出する第2命令と、前記対象物を指示するために、前記透過型表示装置に表示させるマーカの大きさを決定する第3命令と、を含む、コントローラ。
【選択図】 図2
特許請求の範囲
【請求項1】
透過型表示装置のコントローラであって、
メモリと、プロセッサと、前記メモリに記憶され、前記プロセッサにより実行可能に構成されたプログラムとを含み、
前記プログラムは、観察者の両眼、対象物、及び、前記観察者と前記対象物との間に配置される前記透過型表示装置の相対位置を取得する第1命令と、
前記対象物を注視するときの前記観察者の両眼視差を前記相対位置から算出する第2命令と、
前記対象物を指示するために、前記透過型表示装置に表示させるマーカの大きさを決定する第3命令と、を含む、コントローラ。
続きを表示(約 1,200 文字)
【請求項2】
前記第2命令は、前記観察者の右視線に関する情報と、前記観察者の左視線に関する情報とに基づき、前記両眼視差を算出する命令を含む、請求項1に記載のコントローラ。
【請求項3】
前記第3命令は、前記両眼視差により前記観察者に2つに視認される前記マーカの像の少なくとも一部が重なる第1領域が生ずるように前記大きさを決定する第4命令を含む、請求項1に記載のコントローラ。
【請求項4】
前記第4命令は、前記像により区画される第2領域同士が重なって前記第1領域が生ずるように決定する命令か、又は、前記像により指示される第3領域同士が重なって前記第1領域が生ずるように決定する命令を含む、請求項3に記載のコントローラ。
【請求項5】
前記プログラムは、前記観察者の両眼視線に関する情報と、前記透過型表示装置の表示面の位置とに基づき、前記表示面における前記マーカの表示位置を決定する命令を含む、請求項1乃至4のいずれか1項に記載のコントローラ。
【請求項6】
前記第3命令は、前記対象物の幅をB、前記両眼視差をA、及び、前記マーカの幅をXとしたとき、
式:A/2+B/2≦X/2≦A/2+B
を満たすように前記マーカの大きさを決定する命令を含む、請求項5に記載のコントローラ。
【請求項7】
前記プログラムは、前記観察者の両眼視線に関する情報と、前記透過型表示装置の表示面の姿勢とに基づき、前記マーカの大きさ、及び/又は、形状を補正する命令を含む、請求項1に記載のコントローラ。
【請求項8】
請求項1乃至4のいずれか1項に記載のコントローラと、前記透過型表示装置とを含む、システム。
【請求項9】
観察者と対象物との間に配置される透過型表示装置に、前記対象物を指示するためにマーカを表示させる方法であって、
前記観察者の両眼と、前記透過型表示装置と、前記対象物との相対位置を取得することと、
前記対象物を注視するときの前記観察者の両眼視差を前記相対位置から算出することと、
前記両眼視差に基づき、前記透過型表示装置に表示する前記マーカの大きさを決定することと、を含む、方法。
【請求項10】
コンピュータに、
観察者と対象物との間に配置される透過型表示装置に、前記対象物を指示するためにマーカを表示させるプログラムであって、
前記観察者の両眼と、前記透過型表示装置と、前記対象物との相対位置を取得する第1命令と、
前記対象物を注視するときの前記観察者の両眼視差を前記相対位置から算出する第2命令と、
前記両眼視差に基づき、前記透過型表示装置に表示する前記マーカの大きさを決定する第3命令と、を含む、プログラム。
発明の詳細な説明
【技術分野】
【0001】
本開示は、コントローラ、システム、方法、及び、プログラムに関する。
続きを表示(約 2,200 文字)
【背景技術】
【0002】
観察者と対象物との間に配置された透過型表示装置に、観察者から見て、対象物に重なるように映像等を表示させる表示システムが知られている(特許文献1)。このような表示システムは、対象物である商品を際立たせる等の目的で、見本市におけるデモンストレーション等に用いられつつある。
【先行技術文献】
【特許文献】
【0003】
特表第2014-503835号公報
【発明の概要】
【発明が解決しようとする課題】
【0004】
上記表示システムを用いる際、観察者が、透過型表示装置の先に配置された対象物を注視すると、透過型表示装置に表示されている映像、画像等には焦点が合わず、表示されている実体とは異なる像として視認されることがある。具体的には、透過型表示装置には、1つの画像が表示されていても、観察者の両眼視差により、2つの画像が重なって視認されることがある。
【0005】
対象物が複数ある場合、上記表示システムに表示される画像等を用いて、観察者の視線を個々の対象物へと誘導したいという要望がある。このような場合、対象物を指示するマーカ(の画像)を透過型表示装置に表示させる方法が考えられる。
【0006】
しかし、上述のとおり、透過型表示装置に単にマーカを表示するだけでは、観察者にはマーカが二重に視認されてしまうことがあり、対象物を正しく指示することは難しい。また、1つ表示面を備える透過型表示装置を用いる場合、観察者の両眼のそれぞれに、両眼視差を考慮した異なる映像、画像を見せることも難しい。観察者の両眼のそれぞれに両眼視差を考慮した異なる映像等を見せる技術は、ヘッドマウントディスプレイ(Head-Mounted Display)等の分野ではよく知られている。しかし、この場合、両眼用にそれぞれ独立した表示面が準備される。1つの表示面を備える透過型表示装置を1つ用いる場合は、上記技術を提供するのは困難である。
【0007】
本開示は、上記従来技術が有する課題の少なくとも1つを解決する。本開示は、観察者と対象物との間に配置される透過型表示装置に、対象物の位置を指示するためのマーカを表示させ得る透過型表示装置のコントローラを提供し得る。
【課題を解決するための手段】
【0008】
本開示のコントローラは、透過型表示装置のコントローラであって、メモリと、プロセッサと、前記メモリに記憶され、前記プロセッサにより実行可能に構成されたプログラムとを含み、前記プログラムは、観察者の両眼、対象物、及び、前記観察者と前記対象物との間に配置される前記透過型装置の相対位置を取得する命令(第1命令)と、前記対象物を注視するときの前記観察者の両眼視差を前記相対位置から算出する命令(第2命令)と、前記対象物を指示するために、前記透過型表示装置に表示させるマーカの大きさを決定する命令(第3命令)と、を含む、コントローラである。
【発明の効果】
【0009】
本開示は、上記従来技術が有する課題の少なくとも1つを解決する。本開示は、観察者と対象物との間に配置される透過型表示装置に、対象物の位置を指示するためのマーカを表示させ得る透過型表示装置のコントローラを提供し得る。
【図面の簡単な説明】
【0010】
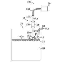
本開示のコントローラにより制御される透過型表示装置を含むシステムの使用場面の説明図である。
本開示のコントローラの第1実施例を含むシステムのブロック図である。
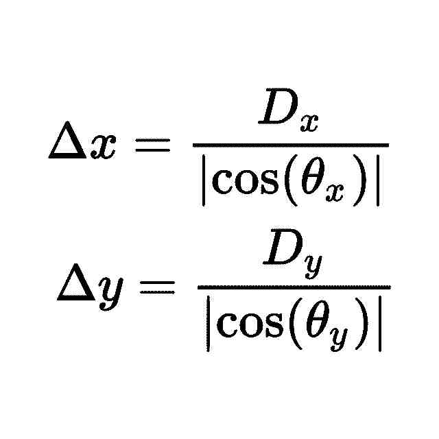
両眼視差計算モジュール30Eに含まれる命令セットよる両眼視差XAの計算手順の説明図である。
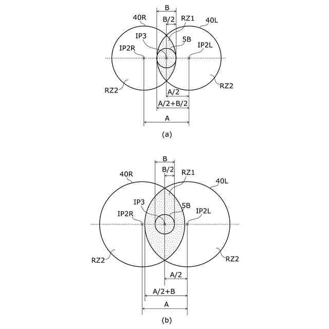
マーカモジュール30Gに含まれる命令セットによるマーカの大きさの決定手順の例の説明図である。
マーカモジュール30Gに含まれる命令セットによるマーカの大きさの決定手順の例の説明図である。
マーカモジュール30Gに含まれる命令セットによるマーカの大きさの決定手順の例の説明図である。
マーカモジュール30Gに含まれる命令セットによるマーカの大きさの決定手順の例の説明図である。
マーカモジュール30Gに含まれる命令セットによるマーカの大きさの決定手順の例の説明図である。
マーカモジュール30Gに含まれる命令セットによるマーカの大きさの決定手順の例の説明図である。
マーカモジュール30Gに含まれる命令セットによるマーカの大きさの決定手順の例の説明図である。
マーカモジュール30Gに含まれる命令セットによるマーカの大きさの決定手順の例の説明図である。
マーカモジュール30Gに含まれる命令セットによるマーカの大きさの決定手順の例の説明図である。
マーカモジュール30Gに含まれる命令セットによるマーカの大きさの決定手順の例の説明図である。
マーカモジュール30Gに含まれる命令セットによるマーカの大きさの決定手順の例の説明図である。
マーカの変形例と、そのマーカ像による対象物5Bの指示形態の他の例を表す図である。
傾き補正が必要になるケースを示す説明図である。
マーカ表示方法のフロー図である。
【発明を実施するための形態】
(【0011】以降は省略されています)
この特許をJ-PlatPat(特許庁公式サイト)で参照する
関連特許
茨城県
コントローラ、システム、方法、及び、プログラム
22日前
国立研究開発法人森林研究・整備機構
資材運搬車のアウトリガ
6か月前
国立研究開発法人森林研究・整備機構
資材運搬車の履帯転輪構造
6か月前
株式会社ニップン
植物のイムノクロマト検査用検体抽出液及びイムノクロマト検査用キット
1か月前
茨城県
二酸化炭素測定装置、エタノール濃度測定装置、二酸化炭素濃度の測定方法、及び、エタノール濃度の測定方法
4か月前
茨城県
表面メッシュの生成方法、法線ベクトルの推定方法、3次元点群の生成方法、測定装置、測定システム、及び、プログラム
22日前
個人
放射能無害化
11か月前
日本国土開発株式会社
帯電方法
1か月前
株式会社ダイセル
飲食品の製造方法
4か月前
出光興産株式会社
形質転換ストレプトマイセス属細菌およびC-P結合を有する生理活性物質の製造方法
11か月前
個人
回転式カード学習具
1か月前
日本精機株式会社
表示装置
1か月前
日本精機株式会社
表示装置
16日前
日本精機株式会社
表示装置
3か月前
個人
時刻表示機能つき手帳
2か月前
個人
計算用教具
12日前
中国電力株式会社
標示旗
22日前
日本精機株式会社
車両用表示装置
2か月前
日本精機株式会社
車両用表示装置
2か月前
日本精機株式会社
車両用表示装置
1か月前
個人
モデルで薔薇の花嫁様を描く為
1か月前
日本精機株式会社
車両用センサ装置
12日前
トヨタ自動車株式会社
評価方法
2か月前
シャープ株式会社
表示装置
3か月前
株式会社一弘社
情報表示板
1か月前
シャープ株式会社
表示装置
23日前
株式会社ウメラボ
学習支援システム
8日前
個人
口唇閉鎖の訓練具
3か月前
パイオニア株式会社
表示装置
3か月前
個人
音楽教材
1か月前
株式会社ウメラボ
学習支援システム
2日前
株式会社半導体エネルギー研究所
半導体装置
2か月前
ニチレイマグネット株式会社
磁着式電飾装置
22日前
リンテック株式会社
表示体
1日前
株式会社リコー
画像投射システム
23日前
株式会社ノジマ
応対体験システム
3か月前
続きを見る
他の特許を見る