TOP
|
特許
|
意匠
|
商標
特許ウォッチ
Twitter
他の特許を見る
10個以上の画像は省略されています。
公開番号
2025136629
公報種別
公開特許公報(A)
公開日
2025-09-19
出願番号
2024035338
出願日
2024-03-07
発明の名称
デュアルインターフェースICカード、アンテナシート、アンテナ付き積層体、多面付けアンテナ付き積層体およびデュアルインターフェースICカードの製造方法
出願人
大日本印刷株式会社
代理人
弁理士法人フィールズ国際特許事務所
主分類
G06K
19/077 20060101AFI20250911BHJP(計算;計数)
要約
【課題】アンテナの端子部を構成するアンテナ線が断線しているか否かを容易に判別できるデュアルインターフェースICカード等を提供する。
【解決手段】外部機器と接触通信および非接触通信が可能なデュアルインターフェースICカード10において、アンテナ30が、アンテナ基材層21におけるコア層22側の面とは反対側の面に部分的に埋め込まれ、アンテナ線31から構成され、凹部20Cに露出し、ICチップ54と電気的に接続された端子部32Aを有し、着色層40が、アンテナ基材層21とコア層22の間に設けられ、アンテナ基材層21およびコア層22に接し、カード基体20の厚み方向において、少なくとも端子部32Aおよびその周囲に対応する領域に設けられ、着色層40と端子部32Aとの色差が、コア層22と端子部32Aとの色差よりも大きく、かつ20以上であり、着色層40におけるL
*
a
*
b
*
表色系の明度L
*
が20以上である、とする。
【選択図】図2
特許請求の範囲
【請求項1】
外部機器と接触通信および非接触通信が可能なデュアルインターフェースICカードであって、
表面に凹部を有する積層構造のカード基体と、
前記カード基体の内部に配置されたアンテナと、
前記カード基体の内部に配置された着色層と、
前記凹部に配置され、ICチップを有するICモジュールと、を備え、
前記カード基体が、透明または半透明なアンテナ基材層と、前記アンテナ基材層よりも前記カード基体における前記表面とは反対の裏面側に位置するコア層と、を備え、
前記アンテナが、前記アンテナ基材層における前記コア層側の面とは反対側の面に部分的に埋め込まれ、
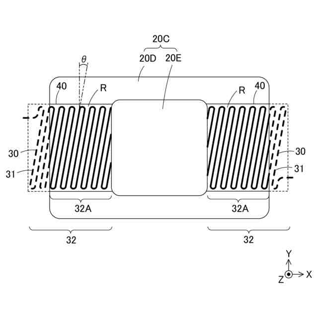
前記アンテナが、アンテナ線から構成され、前記凹部に露出し、前記ICチップと電気的に接続された端子部を有し、
前記着色層が、前記アンテナ基材層と前記コア層の間に設けられ、前記アンテナ基材層および前記コア層に接し、前記カード基体の厚み方向において、少なくとも前記端子部および前記端子部の周囲に対応する領域に設けられ、
前記着色層と前記端子部との色差が、前記コア層と前記端子部との色差よりも大きく、かつ20以上であり、
前記着色層におけるL
*
a
*
b
*
表色系の明度L
*
が20以上である、デュアルインターフェースICカード。
続きを表示(約 1,500 文字)
【請求項2】
前記端子部が、前記アンテナ線による、前記凹部の外周から中心に向けた繰り返しの折り返し構造によって構成されている、請求項1に記載のデュアルインターフェースICカード。
【請求項3】
前記コア層が、有色を呈する、請求項1に記載のデュアルインターフェースICカード。
【請求項4】
前記コア層が、有彩色、黒色または灰色を呈する、請求項1に記載のデュアルインターフェースICカード。
【請求項5】
前記着色層が、白色である、請求項1に記載のデュアルインターフェースICカード。
【請求項6】
表面に凹部を有する積層構造のカード基体と、前記カード基体の内部に配置されたアンテナと、前記凹部に配置され、前記アンテナと電気的に接続されたICチップを有するICモジュールとを備える、外部機器と接触通信および非接触通信が可能なデュアルインターフェースICカードの製造に用いられるアンテナシートであって、
透明または半透明なアンテナ基材層と、
前記アンテナ基材層の一方の面に部分的に埋め込まれたアンテナと、
前記アンテナ基材層の他方の面に設けられた着色層と、を備え、
前記アンテナが、アンテナ線から構成され、ICチップと電気的に接続するための端子部を有し、
前記着色層が、前記アンテナシートの厚み方向において、少なくとも前記端子部および前記端子部の周囲に対応する領域に設けられ、
前記着色層と前記端子部との色差が、20以上であり、
前記着色層におけるL
*
a
*
b
*
表色系の明度L
*
が20以上である、アンテナシート。
【請求項7】
前記着色層が、白色を呈する、請求項6に記載のアンテナシート。
【請求項8】
前記アンテナが2以上多面付けされている、請求項6または7に記載のアンテナシート。
【請求項9】
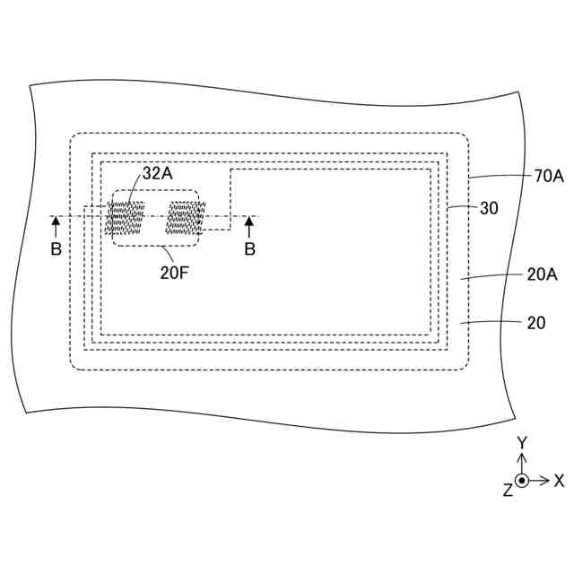
表面に凹部を有する積層構造のカード基体と、前記カード基体の内部に配置されたアンテナと、前記凹部に配置され、前記アンテナと電気的に接続されたICチップを有するICモジュールとを備える、外部機器と接触通信および非接触通信が可能なデュアルインターフェースICカードの製造に用いられるアンテナ付き積層体であって、
透明または半透明なアンテナ基材層と、
前記アンテナ基材層の一方の面に部分的に埋め込まれたアンテナと、
前記アンテナ基材層の他方の面側に設けられたコア層と、
前記アンテナ基材層と前記コア層の間の少なくとも一部に設けられ、かつ前記アンテナ基材層および前記コア層に接する着色層と、を備え、
前記アンテナが、アンテナ線から構成され、かつICチップに電気的に接続するための端子部を有し、
前記着色層が、前記アンテナ付き積層体の厚み方向において、少なくとも前記端子部および前記端子部の周囲に対応する領域に設けられ、
前記着色層と前記端子部との色差が、前記コア層と前記端子部との色差よりも大きく、かつ20以上であり、
前記着色層におけるL
*
a
*
b
*
表色系の明度L
*
が20以上である、アンテナ付き積層体。
【請求項10】
前記コア層が、有色を呈する、請求項9に記載のアンテナ付き積層体。
(【請求項11】以降は省略されています)
発明の詳細な説明
【技術分野】
【0001】
本発明は、デュアルインターフェースICカード、アンテナシート、アンテナ付き積層体、多面付けアンテナ付き積層体およびデュアルインターフェースICカードの製造方法に関する。
続きを表示(約 1,800 文字)
【背景技術】
【0002】
従来から、カード表面の外部接触端子を通じて外部機器と接触通信を行う接触式ICカード、アンテナを介して電磁誘導等により外部機器と非接触通信を行う非接触式ICカード、およびカードが備える単一のICチップにより、接触式ICカードの機能と非接触式ICカードの機能とのいずれをも実現できるデュアルインターフェースICカードが用いられている。
【0003】
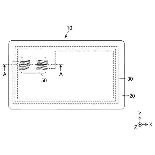
これらのうち、デュアルインターフェースICカードにおいては、ICチップを備えるICモジュールが、カード基体の表面側に設けられた凹部内に配置されているとともにカード基体の内部に配置されたアンテナの端子部が凹部に露出しており、ICモジュールとアンテナの端子部が電気的に接続されている(例えば、特許文献1参照)。
【先行技術文献】
【特許文献】
【0004】
特許第7142484号
【発明の概要】
【発明が解決しようとする課題】
【0005】
このようなデュアルインターフェースICカードを製造する際には、カード基体を切削して、アンテナの端子部を露出させる必要があるが、カード基体の切削の際に、過度の切削によりアンテナの端子部を構成するアンテナ線を切断してしまうおそれがある。このため、カード基体の切削後にアンテナの端子部を構成するアンテナ線に断線が生じているか目視検査する必要がある。
【0006】
一方で、現在、高級感や一体感等を付与するために、カード基体を構成するコア層として、白色以外の、例えば、黄色や黄土色等の有彩色や黒色を呈するコア層を用いることも考えられている。
【0007】
しかしながら、アンテナの端子部直下に存在するコア層の色味が、アンテナ線の色味と同じまたは近い場合には、目視検査時にアンテナの端子部を構成するアンテナ線の断線が判別しにくいという問題がある。
【0008】
本発明は、上記問題を解決するためになされたものである。すなわち、アンテナの端子部を構成するアンテナ線が断線しているか否かを容易に判別できるデュアルインターフェースICカードおよびその製造方法を提供することを目的とする。また、デュアルインターフェースICカードの製造に用いられ、アンテナの端子部を構成するアンテナ線に断線が生じているか否かを容易に判別できるアンテナシート、アンテナ付き積層体、および多面付けアンテナ付き積層体を提供することを目的とする。
【課題を解決するための手段】
【0009】
[1]外部機器と接触通信および非接触通信が可能なデュアルインターフェースICカードであって、表面に凹部を有する積層構造のカード基体と、前記カード基体の内部に配置されたアンテナと、前記カード基体の内部に配置された着色層と、前記凹部に配置され、ICチップを有するICモジュールと、を備え、前記カード基体が、透明または半透明なアンテナ基材層と、前記アンテナ基材層よりも前記カード基体における前記表面とは反対の裏面側に位置するコア層と、を備え、前記アンテナが、前記アンテナ基材層における前記コア層側の面とは反対側の面に部分的に埋め込まれ、前記アンテナが、アンテナ線から構成され、前記凹部に露出し、前記ICチップと電気的に接続された端子部を有し、前記着色層が、前記アンテナ基材層と前記コア層の間に設けられ、前記アンテナ基材層および前記コア層に接し、前記カード基体の厚み方向において、少なくとも前記端子部および前記端子部の周囲に対応する領域に設けられ、前記着色層と前記端子部との色差が、前記コア層と前記端子部との色差よりも大きく、かつ20以上であり、前記着色層におけるL
*
a
*
b
*
表色系の明度L
*
が20以上である、デュアルインターフェースICカード。
【0010】
[2]前記端子部が、前記アンテナ線による、前記凹部の外周から中心に向けた繰り返しの折り返し構造によって構成されている、上記[1]に記載のデュアルインターフェースICカード。
(【0011】以降は省略されています)
この特許をJ-PlatPat(特許庁公式サイト)で参照する
関連特許
大日本印刷株式会社
額縁
26日前
大日本印刷株式会社
移動体
17日前
大日本印刷株式会社
移動体
17日前
大日本印刷株式会社
写真撮影装置
18日前
大日本印刷株式会社
発電モジュール
7日前
大日本印刷株式会社
熱転写システム
27日前
大日本印刷株式会社
熱転写システム
27日前
大日本印刷株式会社
パネルの固定方法
4日前
大日本印刷株式会社
積層体及び包装容器
5日前
大日本印刷株式会社
積層体および包装容器
7日前
大日本印刷株式会社
積層体および包装容器
7日前
大日本印刷株式会社
積層体および包装容器
7日前
大日本印刷株式会社
積層体および包装容器
7日前
大日本印刷株式会社
包装装置および包装方法
19日前
大日本印刷株式会社
シール型熱転写受像シート
25日前
大日本印刷株式会社
レンズアレイ及び表示装置
27日前
大日本印刷株式会社
シール型熱転写受像シート
25日前
大日本印刷株式会社
シール型熱転写受像シート
25日前
大日本印刷株式会社
情報処理装置及びプログラム
7日前
大日本印刷株式会社
熱転写シートおよび中間転写媒体
25日前
大日本印刷株式会社
リードフレーム及びその製造方法
19日前
大日本印刷株式会社
ポリエステルフィルム及び積層体
17日前
大日本印刷株式会社
類似文書検索装置及びプログラム
26日前
大日本印刷株式会社
リードフレーム及びその製造方法
19日前
大日本印刷株式会社
クランプ装置及びウェブ搬送装置
7日前
大日本印刷株式会社
作業装置、作業システム、作業方法
3日前
大日本印刷株式会社
ウェブ搬送装置及びウェブ搬送方法
3日前
大日本印刷株式会社
光学部材、ヘッドマウントディスプレイ
26日前
大日本印刷株式会社
サーバ装置、動画配信方法及びプログラム
7日前
大日本印刷株式会社
バリア性フィルム、積層体および包装容器
7日前
大日本印刷株式会社
バリア性フィルム、積層体および包装容器
7日前
大日本印刷株式会社
バリア性フィルム、積層体および包装容器
7日前
大日本印刷株式会社
サーバ装置、注目度算出方法及びプログラム
17日前
大日本印刷株式会社
転写シート、成形品の製造方法および成形品
3日前
大日本印刷株式会社
サーバ装置、仮想空間制御方法及びプログラム
17日前
大日本印刷株式会社
ボビン、熱転写シートリボン及び熱転写印画装置
7日前
続きを見る
他の特許を見る