TOP
|
特許
|
意匠
|
商標
特許ウォッチ
Twitter
他の特許を見る
10個以上の画像は省略されています。
公開番号
2025140423
公報種別
公開特許公報(A)
公開日
2025-09-29
出願番号
2024039824
出願日
2024-03-14
発明の名称
配策構造及び配線ユニット
出願人
株式会社オートネットワーク技術研究所
,
住友電装株式会社
,
住友電気工業株式会社
代理人
個人
,
個人
,
個人
,
個人
主分類
B60J
5/00 20060101AFI20250919BHJP(車両一般)
要約
【課題】車体と車両用ドアとの間を配策される線状伝送部材の経路を安定させることができる技術の提供。
【解決手段】配策構造10は、車体2と車体2にヒンジ80を介して接続された車両用ドア3との間に設けられ、車体2と車両用ドア3との間を配策される線状伝送部材5をガイドする配線ガイド7、を備える。配線ガイド7が、回動自在に接続された複数の経路規制部材71,72を備え、車両用ドア3のヒンジ80のまわりでの回動に応じて、複数の経路規制部材71,72の少なくとも1つが回動する。
【選択図】図6
特許請求の範囲
【請求項1】
車体と前記車体にヒンジを介して接続された車両用ドアとの間に設けられ、前記車体と前記車両用ドアとの間を配策される線状伝送部材をガイドする配線ガイド、
を備え、
前記配線ガイドが、回動自在に接続された複数の経路規制部材を備え、
前記車両用ドアの前記ヒンジのまわりでの回動に応じて、前記複数の経路規制部材の少なくとも1つが回動する、配策構造。
続きを表示(約 900 文字)
【請求項2】
請求項1に記載の配策構造であって、
前記複数の経路規制部材が、2つの経路規制部材である、配策構造。
【請求項3】
請求項1又は請求項2に記載の配策構造であって、
前記複数の経路規制部材のうちの少なくとも1つが、伸縮自在である、配策構造。
【請求項4】
請求項1又は請求項2に記載の配策構造であって、
前記車両用ドアが回動する際に、前記配線ガイドの一部分が、前記車両用ドアに沿って延在する姿勢に維持される、配策構造。
【請求項5】
請求項4に記載の配策構造であって、
前記車両用ドアに沿って延在する姿勢に維持される前記配線ガイドの一部分が、上方から見た場合に前記車両用ドアの一部によって隠れる位置にある、配策構造。
【請求項6】
請求項1又は請求項2に記載の配策構造であって、
前記線状伝送部材は、前記車両用ドアに搭載されるオプション品用の線状伝送部材である、配策構造。
【請求項7】
請求項1又は請求項2に記載の配策構造であって、
前記線状伝送部材が、前記車両用ドアによって開閉される前記車体の乗降口よりも室内側から引き出されたものである、配策構造。
【請求項8】
請求項1又は請求項2に記載の配策構造であって、
前記配線ガイドの上面と車室の床面との間の高さ方向の離間距離が、5センチメートル以下である、配策構造。
【請求項9】
請求項1又は請求項2に記載の配策構造であって、
前記複数の経路規制部材のうち、前記車両用ドアが開かれた状態において前記車体のフレームをまたぐ経路規制部材が、該状態において前記フレームを迂回するように屈曲している、配策構造。
【請求項10】
請求項1又は請求項2に記載の配策構造であって、
前記車両用ドアの閉動作に応じて発生する前記線状伝送部材の余長を吸収する余長吸収部、
を備える、配策構造。
(【請求項11】以降は省略されています)
発明の詳細な説明
【技術分野】
【0001】
本開示は、配策構造及び配線ユニットに関する。
続きを表示(約 1,500 文字)
【背景技術】
【0002】
特許文献1には、車両において、車体とドアとの間に配策されるワイヤーハーネスが記載されている。ワイヤーハーネスにおける車体とドアとの間を配策される部分は、グロメットで覆われている。
【先行技術文献】
【特許文献】
【0003】
特開2009-202727号公報
【発明の概要】
【発明が解決しようとする課題】
【0004】
特許文献1において、ワイヤーハーネスを覆うグロメットは、長さ方向に山部と谷部とが交互に連続して設けられた蛇腹形状であり、長さ方向に自在に屈曲できる。ドアが開閉される際、すなわち、ドアがヒンジ部のまわりで回動する際に、これに追従して、グロメットが長さ方向に屈曲する。したがって、ドアの回動が阻害されない。その一方で、長さ方向に自在に屈曲できる蛇腹形状のグロメットには、形状が安定しづらいという側面もある。つまり、ワイヤーハーネスにおける車体とドアとの間を配策される部分をグロメットで覆う場合、該配策される部分の経路が不安定になりやすい。
【0005】
そこで、本開示は、車体と車両用ドアとの間を配策される線状伝送部材の経路を安定させることができる技術の提供を目的とする。
【課題を解決するための手段】
【0006】
本開示の配策構造は、車体と前記車体にヒンジを介して接続された車両用ドアとの間に設けられ、前記車体と前記車両用ドアとの間を配策される線状伝送部材をガイドする配線ガイド、を備え、前記配線ガイドが、回動自在に接続された複数の経路規制部材を備え、前記車両用ドアの前記ヒンジのまわりでの回動に応じて、前記複数の経路規制部材の少なくとも1つが回動する配策構造である。
【0007】
本開示の配線ユニットは、車体と前記車体にヒンジを介して接続された車両用ドアとの間で配策されて用いられる線状伝送部材と、前記線状伝送部材をガイドする配線ガイドと、を備え、前記配線ガイドが、回動自在に接続された複数の経路規制部材を備える配線ユニットである。
【発明の効果】
【0008】
本開示によれば、車体と車両用ドアとの間を配策される線状伝送部材の経路を、安定させることができる。
【図面の簡単な説明】
【0009】
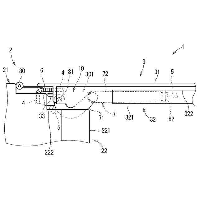
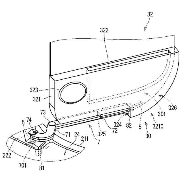
図1は、車体、車両用ドア及び配策構造の一例を示す概略図である。
図2は、車体、車両用ドア及び配策構造の一例を示す概略図である。
図3は、カウルサイドトリム及びドアトリムの各々に設けられた挿入口を示す概略図である。
図4は、カウルサイドトリム及びドアトリムの各々に設けられた挿入口を示す概略図である。
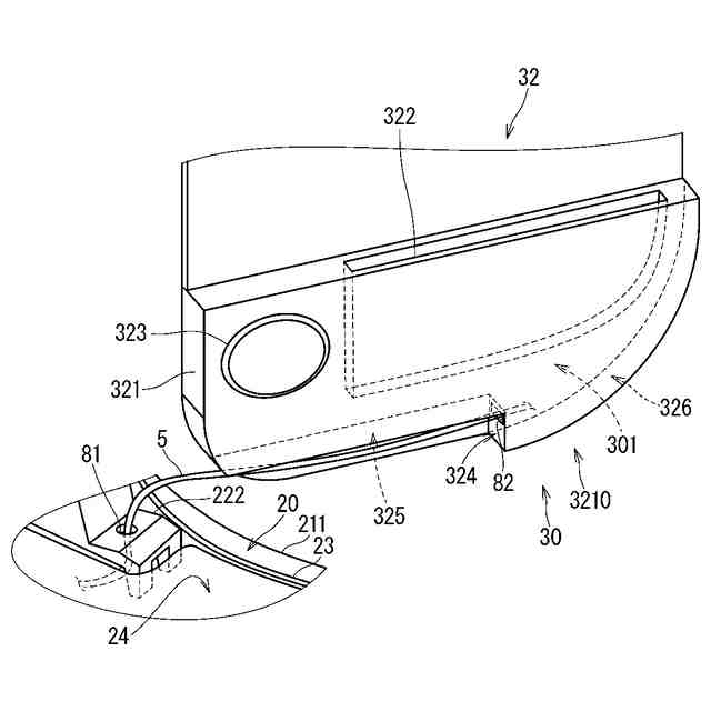
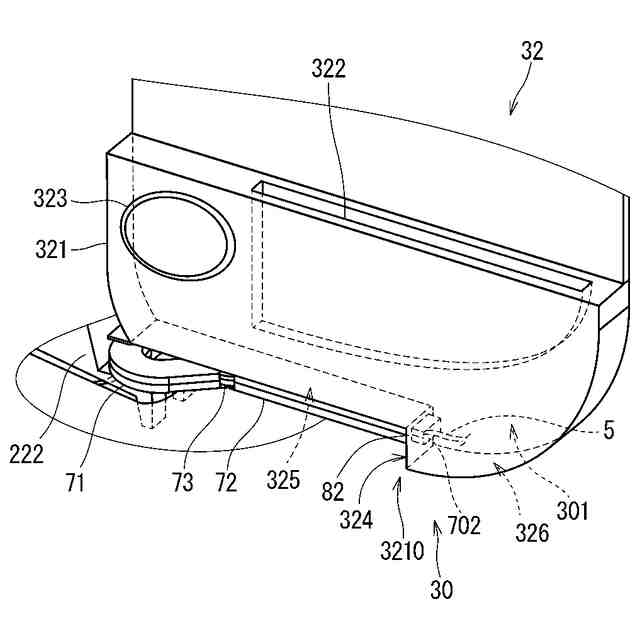
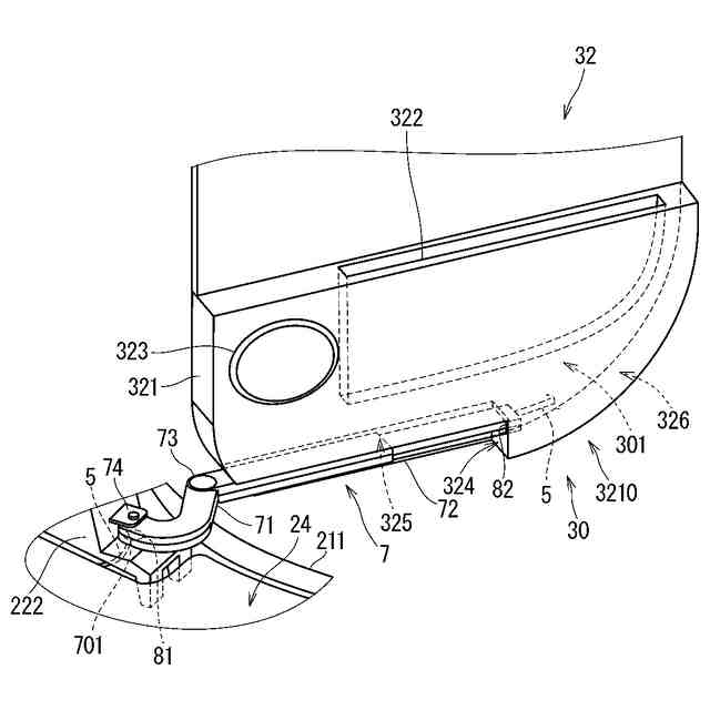
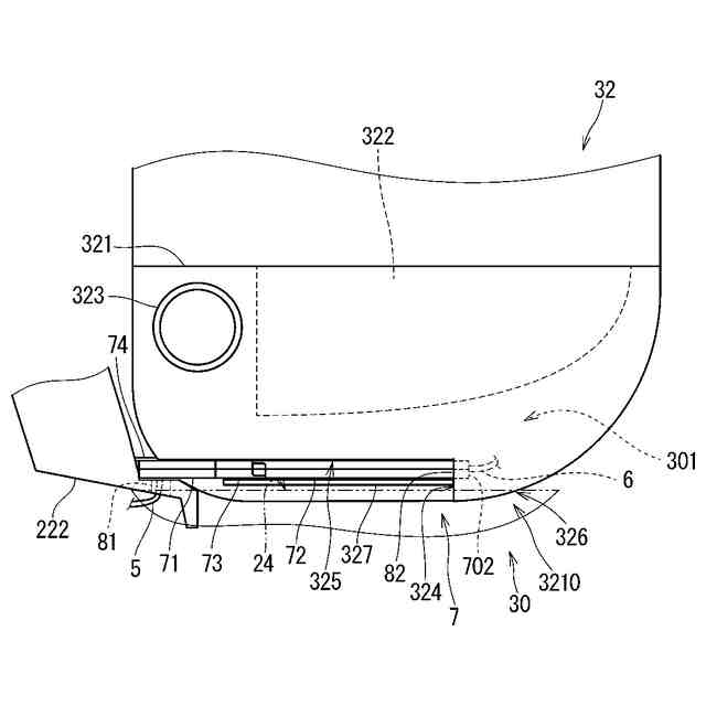
図5は、配線ガイドを示す概略図である。
図6は、カウルサイドトリム、ドアトリム及び配線ガイドを示す概略図である。
図7は、カウルサイドトリム、ドアトリム及び配線ガイドを示す概略図である。
図8は、カウルサイドトリム、ドアトリム及び配線ガイドを示す概略図である。
図9は、配線ガイドの変形の態様を説明するための図である。
図10は、配線ガイドの変形の態様を説明するための図である。
図11は、交換用ドアトリムを説明するための図である。
図12は、ドアをドアトリムに沿って切断した様子を示す概略図である。
【発明を実施するための形態】
【0010】
[本開示の実施形態の説明]
最初に本開示の実施態様を列記して説明する。
(【0011】以降は省略されています)
この特許をJ-PlatPat(特許庁公式サイト)で参照する
関連特許
個人
カーテント
4か月前
個人
タイヤレバー
2か月前
個人
前輪キャスター
1か月前
個人
車窓用防虫網戸
4か月前
個人
ホイルのボルト締結
3か月前
個人
車輪清掃装置
4か月前
個人
タイヤ脱落防止構造
1か月前
個人
ルーフ付きトライク
1か月前
個人
マスタシリンダ
5日前
井関農機株式会社
作業車両
3か月前
個人
車両通過構造物
2か月前
日本精機株式会社
表示装置
1か月前
日本精機株式会社
表示装置
2か月前
井関農機株式会社
作業車両
3か月前
個人
キャンピングトライク
3か月前
日本精機株式会社
表示装置
2か月前
日本精機株式会社
表示装置
2か月前
個人
キャンピングトレーラー
3か月前
個人
アクセルのソフトウェア
3か月前
個人
ワイパーゴム性能保持具
4か月前
個人
車両用スリップ防止装置
3か月前
個人
乗合路線バスの客室装置
2か月前
日本精機株式会社
車載表示装置
3か月前
個人
音声ガイド、音声サービス
2か月前
株式会社ニフコ
照明装置
1か月前
株式会社ニフコ
収納装置
22日前
株式会社クラベ
ヒータユニット
4か月前
井関農機株式会社
収穫作業車両
4か月前
株式会社ニフコ
保持装置
3か月前
個人
円湾曲ホイール及び球体輪
2か月前
株式会社豊田自動織機
産業車両
1か月前
日本精機株式会社
車載表示装置
13日前
日本精機株式会社
車室演出装置
1か月前
個人
車載小物入れ兼雨傘収納具
3か月前
井関農機株式会社
作業車両
3か月前
極東開発工業株式会社
車両
2か月前
続きを見る
他の特許を見る