TOP
|
特許
|
意匠
|
商標
特許ウォッチ
Twitter
他の特許を見る
10個以上の画像は省略されています。
公開番号
2025137132
公報種別
公開特許公報(A)
公開日
2025-09-19
出願番号
2024036156
出願日
2024-03-08
発明の名称
可動式表示装置
出願人
アルプスアルパイン株式会社
代理人
個人
主分類
H04N
5/64 20060101AFI20250911BHJP(電気通信技術)
要約
【課題】表示部材が表示姿勢と非表示姿勢の少なくとも一方へ移動したときに、低負荷で表示部材の動きを確実に規制する規制機構を備えた可動式表示装置を提供することを目的としている。
【解決手段】スライド部材14に表示部材3が回動自在に支持されており、表示部材3とともに回動する付属部材25にカンチレバー28aに支持された回転体27が設けられている。支持部には、表示側規制機構40aと非表示側規制機構40bとが設けられ、表示側規制機構40aと非表示側規制機構40bに設けられた規制面に、回転体27が加圧されて、表示部材3が表示姿勢と非表示姿勢で動かないように規制される。
【選択図】図5
特許請求の範囲
【請求項1】
支持部と、表示部材と、前記表示部材を回動させて表示姿勢と非表示姿勢とに至らせる駆動機構と、が設けられた可動式表示装置において、
前記表示部材が前記表示姿勢と前記非表示姿勢の少なくとも一方の姿勢に至ったときに、前記表示部材の動きを規制する規制機構が設けられており、
前記規制機構が、前記支持部と、前記表示部材または前記表示部材と共に回動する付属部材と、のいずれか一方に設けられた回転体と、他方に設けられた規制面と、前記回転体と前記規制面とを押付けるばね部材と、を有していることを特徴とする可動式表示装置。
続きを表示(約 2,000 文字)
【請求項2】
前記ばね部材が弾性変形可能なカンチレバーであり、前記回転体が前記カンチレバーの自由端側に支持されており、
前記表示部材が前記表示姿勢と前記非表示姿勢の少なくとも一方の姿勢に至るときの、前記規制面に対する前記回転体の相対的な移動方向を規制進行方向としたときに、
前記回転体が前記規制面に押付けられているとき、前記カンチレバーは、自由端が固定端よりも規制進行方向側に位置する向きに傾いている請求項1記載の可動式表示装置。
【請求項3】
前記表示部材が前記表示姿勢に至ったときに前記表示部材の動きを規制する表示側規制機構と、前記表示部材が前記非表示姿勢に至ったときに前記表示部材の動きを規制する非表示側規制機構とが設けられており、
前記表示部材が前記表示側規制機構で規制されるときと前記非表示側規制機構で規制されるときの双方において、前記カンチレバーは、自由端が固定端よりも規制進行方向側に位置する向きに傾いている請求項2記載の可動式表示装置。
【請求項4】
前記駆動機構が、
前記表示部材が回動自在に支持されたスライド部材と、
前記スライド部材を、往復移動させて表示設定位置と非表示設定位置へと移動させる動力源と、
前記スライド部材が前記表示設定位置へ移動するときの移動力で前記表示部材を前記表示姿勢に向けて回動させ、前記スライド部材が前記非表示設定位置へ移動するときの移動力で前記表示部材を前記非表示姿勢に向けて回動させる切替え機構と、を有し、
前記表示側規制機構と前記非表示側規制機構とが、前記スライド部材の移動方向へ間隔を空けて配置されている請求項3記載の可動式表示装置。
【請求項5】
前記表示部材または前記表示部材と共に回動する付属部材に、前記カンチレバーと前記回転体とが支持されており、
前記スライド部材が前記表示設定位置と前記非表示設定位置との間を移動するときに、前記表示部材が回動して前記カンチレバーの向きが切り替わることによって、
前記表示部材が前記表示側規制機構で規制されるときと前記非表示側規制機構で規制されるときの双方において、前記カンチレバーを、自由端が固定端よりも規制進行方向側に位置する向きに傾けることが可能となる請求項4記載の可動式表示装置。
【請求項6】
支持部と、
前記支持部に対して重力方向と交差する方向へ往復移動可能に支持されたスライド部材と、
前記スライド部材に回動自在に支持された表示部材と、
前記スライド部材を、表示設定位置と非表示設定位置へ向けて往復移動させる動力源と、
前記スライド部材が前記表示設定位置へ移動するときの移動力で、前記表示部材を、その回動支持側と逆側の先端部が重力方向に向く表示姿勢に向けて回動させ、前記スライド部材が前記非表示設定位置へ移動するときの移動力で、前記表示部材を、前記先端部が持ち上がる非表示姿勢に向けて回動させる切替え機構と、
前記表示姿勢となった前記表示部材の動きを規制する表示側規制機構と、前記非表示姿勢となった前記表示部材の動きを規制する非表示側規制機構と、が設けられており、
前記スライド部材が前記表示設定位置と前記非表示設定位置との間を移動しているときに、前記表示側規制機構と前記非表示側規制機構のいずれによっても前記表示部材が規制されないことを特徴とする可動式表示装置。
【請求項7】
前記スライド部材が移動するときに前記切替え機構を案内する案内カムが設けられ、
前記案内カムに、前記スライド部材の移動方向に対して傾斜している傾斜案内部が設けられて、前記スライド部材が前記表示設定位置と前記非表示設定位置との中間位置を移動しているときに、前記切替え機構が前記傾斜案内部で案内され、
前記切替え機構が前記傾斜案内部で案内されているときに、前記表示側規制機構と前記非表示側規制機構のいずれによっても前記表示部材が規制されない請求項6記載の可動式表示装置。
【請求項8】
前記表示側規制機構と前記非表示側規制機構は、前記支持部と、前記表示部材または前記表示部材と共に回動する付属部材と、のいずれか一方に設けられた回転体と、他方に設けられた規制面と、前記回転体を前記規制面に押付けるばね部材と、を有している請求項6または7記載の可動式表示装置。
【請求項9】
前記スライド部材が前記非表示設定部に向けて移動するときの移動力によって、前記非表示姿勢へ回動した前記表示部材を重力方向へ移動しないように保持する保持機構が設けられている請求項6または7記載の可動式表示装置。
発明の詳細な説明
【技術分野】
【0001】
本発明は、表示部材を回動させて表示姿勢と非表示姿勢とに設定し、表示部材を表示姿勢と非表示姿勢の少なくとも一方の姿勢で動かないように規制できる可動式表示装置に関する。
続きを表示(約 2,000 文字)
【背景技術】
【0002】
特許文献1にモニタ格納装置に関する発明が記載されている。このモニタ格納装置は、旅客用航空機の客室の天井に設けられた収納部に収納されたモニタを開閉させるものである。モニタは、収納部に回動軸を中心として回動できるように支持されている。モニタ格納装置にモータが設けられ、モータの動力によって、モニタが収納部に平行に格納された閉状態から、収納部に対して約110度の角度で開いて使用可能とされた開状態との間で開閉するよう動作させられる。モニタと共に回動する回動部と収納部との間にトグルバネが設けられており、モニタはトグルバネの弾性力によって閉状態と開状態の双方に付勢される。
【0003】
特許文献2にパネル角度切り替え構造に関する発明が記載されている。このパネル角度切り替え構造は、カーナビゲーション装置として使用されるものであり、本体部と本体部の前方に固定されたパネル収納部およびパネル収納部に収納されるパネルを有している。本体部の内部に電動駆動装置によって前後方向へ移動するスライドベースが設けられ、スライドベースが後退すると、パネルが起立状態となり、スライドベースが前進すると、パネルが傾斜状態となる。スライドベースの前部に壁部が設けられ、パネルに設けられた軸部が壁部に回動自在に支持され、軸部に固定された板ばねが壁部に当接している。この構造では、壁部と板ばねとの間に働く摩擦力でパネルが保持されるため、振動時におけるメカニカルな異音の発生を防ぐことができる。
【先行技術文献】
【特許文献】
【0004】
特開2014-8825号公報
特開2019-21696号公報
【発明の概要】
【発明が解決しようとする課題】
【0005】
特許文献1に記載されたモニタ格納装置は、モニタが開状態に至るときと閉状態に至るときに、トグルバネからモニタに大きな回動力が作用するため、モニタが各状態に切り替わるときに衝撃力や衝撃音を発生しやすい。また、モニタを開状態から閉状態へ向けて回動させるとき、およびモニタを閉状態から開状態へ向けて回動させるときに、トグルバネを反転させるための大きな駆動力が必要になる。そのため、モニタを回動させる駆動機構に常に負荷が作用し、機構の摩耗などが発生しやすくなる。
【0006】
特許文献2に記載されたパネル角度切り替え構造は、パネルが起立状態から傾斜状態に切り替わるときに、壁部と板ばねとの間の摩擦力が常に負荷として作用するため、動力の損失が大きく、壁部と板ばねとの間に摩耗が発生しやすい。
【0007】
本発明は、上記従来の課題を解決するものであり、表示部材を表示姿勢と非表示姿勢の少なくとも一方の姿勢に安定させることができ、しかも、表示部材を各姿勢で安定させるための負荷の増大を抑制できる可動式表示装置を提供することを目的としている。
【課題を解決するための手段】
【0008】
本発明は、支持部と、表示部材と、前記表示部材を回動させて表示姿勢と非表示姿勢とに至らせる駆動機構と、が設けられた可動式表示装置において、
前記表示部材が前記表示姿勢と前記非表示姿勢の少なくとも一方の姿勢に至ったときに、前記表示部材の動きを規制する規制機構が設けられており、
前記規制機構が、前記支持部と、前記表示部材または前記表示部材と共に回動する付属部材と、のいずれか一方に設けられた回転体と、他方に設けられた規制面と、前記回転体を前記規制面に押付けるばね部材と、を有していることを特徴とするものである。
【0009】
本発明の可動式表示装置は、前記ばね部材が弾性変形可能なカンチレバーであり、前記回転体が前記カンチレバーの自由端側に支持されており、
前記表示部材が前記表示姿勢と前記非表示姿勢の少なくとも一方の姿勢に至るときの、前記規制面に対する前記回転体の相対的な移動方向を規制進行方向としたときに、
前記回転体が前記規制面に押付けられているとき、前記カンチレバーは、自由端が固定端よりも規制進行方向側に位置する向きに傾いているものが好ましい。
【0010】
本発明の可動式表示装置は、前記表示部材が前記表示姿勢に至ったときに前記表示部材の動きを規制する表示側規制機構と、前記表示部材が前記非表示姿勢に至ったときに前記表示部材の動きを規制する非表示側規制機構とが設けられており、
前記表示部材が前記表示側規制機構で規制されるときと前記非表示側規制機構で規制されるときの双方において、前記カンチレバーは、自由端が固定端よりも規制進行方向側に位置する向きに傾いているものとして構成できる。
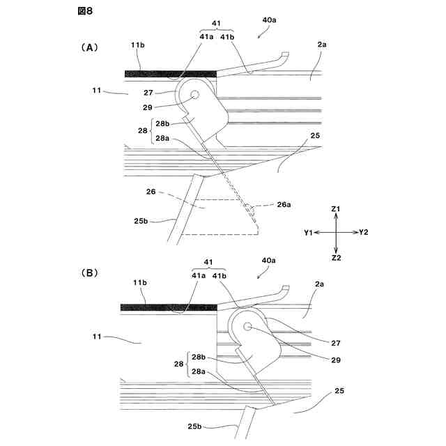
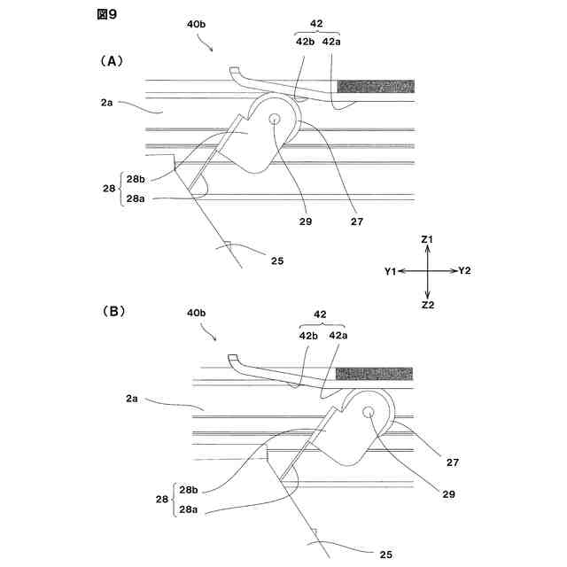
(【0011】以降は省略されています)
この特許をJ-PlatPat(特許庁公式サイト)で参照する
関連特許
個人
店内配信予約システム
2か月前
WHISMR合同会社
収音装置
29日前
サクサ株式会社
中継装置
2日前
サクサ株式会社
中継装置
3か月前
サクサ株式会社
中継装置
1日前
アイホン株式会社
電気機器
23日前
キヤノン株式会社
撮像装置
1か月前
キヤノン株式会社
電子機器
2か月前
サクサ株式会社
無線システム
今日
株式会社リコー
画像形成装置
2か月前
個人
ワイヤレスイヤホン対応耳掛け
21日前
サクサ株式会社
無線通信装置
1日前
サクサ株式会社
無線通信装置
1日前
日本精機株式会社
画像投映システム
3か月前
キヤノン電子株式会社
画像読取装置
1か月前
株式会社リコー
画像形成装置
1か月前
キヤノン電子株式会社
モバイル装置
3か月前
株式会社リコー
画像形成装置
1か月前
ブラザー工業株式会社
読取装置
1か月前
株式会社ニコン
撮像装置
2か月前
キヤノン株式会社
撮像システム
23日前
個人
発信機及び発信方法
今日
DXO株式会社
情報処理システム
2か月前
有限会社フィデリックス
マイクロフォン
7日前
キヤノン電子株式会社
シート材搬送装置
1か月前
株式会社小糸製作所
画像照射装置
1か月前
沖電気工業株式会社
画像形成装置
11日前
国立大学法人電気通信大学
小型光学装置
1か月前
大日本印刷株式会社
写真撮影装置
22日前
沖電気工業株式会社
画像形成装置
3日前
パテントフレア株式会社
超高速電波通信
1か月前
パテントフレア株式会社
水中電波通信法
2か月前
株式会社JVCケンウッド
通信システム
7日前
株式会社松平商会
携帯機器カバー
1か月前
株式会社JVCケンウッド
スピーカ
1か月前
日本無線株式会社
無線通信システム
1か月前
続きを見る
他の特許を見る