TOP
|
特許
|
意匠
|
商標
特許ウォッチ
Twitter
他の特許を見る
10個以上の画像は省略されています。
公開番号
2025137251
公報種別
公開特許公報(A)
公開日
2025-09-19
出願番号
2024036352
出願日
2024-03-08
発明の名称
地絡検知装置
出願人
株式会社DGキャピタルグループ
代理人
個人
主分類
H02H
3/16 20060101AFI20250911BHJP(電力の発電,変換,配電)
要約
【課題】抵抗性地絡を選択的に検出し、地絡故障の程度を適切に判定する地絡検知装置を提供すること。
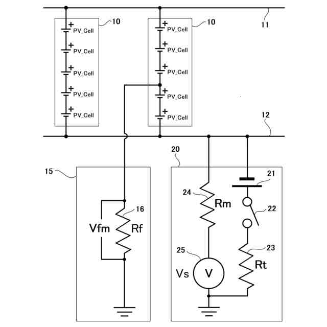
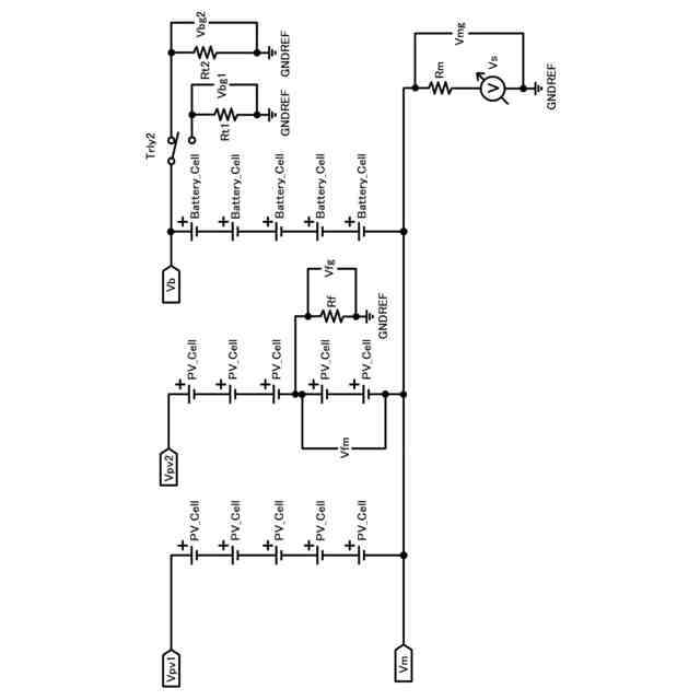
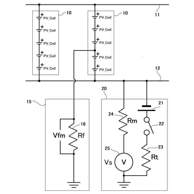
【解決手段】本発明の一態様の地絡検知装置は、正端子と負端子とを有する直流電力機器の該負端子とアースとの間に接続された対地電圧測定器と、前記直流電力機器に接続された基準電源部と、を備える地絡検知装置において、前記対地電圧測定器により測定した電圧に基づき地絡時接地抵抗を演算することにより、地絡事故を判別することを特徴とする。
【選択図】図1
特許請求の範囲
【請求項1】
正端子と負端子とを有する直流電力機器の該負端子とアースとの間に接続された対地電圧測定器と、
前記直流電力機器に接続された基準電源部と、
を備える地絡検知装置において、
前記対地電圧測定器により測定した電圧に基づき地絡時接地抵抗を演算することにより、地絡事故を判別することを特徴とする地絡検知装置。
続きを表示(約 580 文字)
【請求項2】
さらに、前記対地電圧測定器により測定した電圧に基づき地絡時印加電圧を演算することにより、地絡部位を判別することを特徴とする請求項1に記載の地絡検知装置。
【請求項3】
前記基準電源部にはアースとの接続をオンまたはオフに切り替えることができるスイッチを設け、
前記スイッチがオフの時に前記対地電圧測定器により測定した電圧、および、前記スイッチがオンの時に前記対地電圧測定器により測定した電圧に基づき地絡時接地抵抗を演算することにより、地絡事故を判別することを特徴とする請求項1に記載の地絡検知装置。
【請求項4】
前記基準電源部が、蓄電装置の出力部、及び、電力変換回路部のいずれか少なくとも1つを含むことを特徴とする請求項1に記載の地絡検知装置。
【請求項5】
前記基準電源部とアースとの間に基準抵抗を設け、
前記基準抵抗により地絡時接地抵抗の測定感度を調整することを特徴とする請求項1に記載の地絡検知装置。
【請求項6】
前記基準抵抗の抵抗値を切り替えるスイッチを設けたことを特徴とする請求項5に記載の地絡検知装置。
【請求項7】
前記直流電力機器が太陽電池装置であることを特徴とする請求項1~6のいずれか1項に記載の地絡検知装置。
発明の詳細な説明
【技術分野】
【0001】
本発明は、地絡検知装置に関する。
続きを表示(約 1,600 文字)
【背景技術】
【0002】
近年、再生エネルギーを用いた発電設備等の普及にともない、発電設備の安全性の確保が問題となっている。例えば、太陽光発電設備においては、零相変流器(ZCT)を用いて地絡事故の検出をし、漏電遮断器により太陽光発電回路や蓄電池回路を遮断する対策をしていた。
【0003】
特許文献1には、零相変流器の検出コアに設けられた貫通孔内には太陽電池と分散電源との間を接続する直流電路が挿通されており、地絡検出回路は検出コアに巻回された二次巻線の出力から直流電路に流れる地絡電流を検出し、地絡検出回路が地絡を検出すると、制御回路は地絡検出回路の検出信号に基づいて分散電源の発電を停止させる太陽光発電システムが開示されている。この太陽光発電システムでは、地絡電流検出後に制御回路が解列開閉器を再投入する際に検出コアを消磁する消磁回路を設けることにより、直流電路の地絡の検出レベルを一定にして、地絡の誤検出を低減すること防止することを目指している。
【0004】
特許文献2には、太陽電池1からの零相変流器で検出された地絡電流に基づく電圧を出力する地絡検出回路により、太陽電池の地絡を検出した場合に、太陽電池の地絡か地絡検出回路の故障かを判定する地絡検出回路故障診断装置が開示されている。
【先行技術文献】
【特許文献】
【0005】
特開2000-023370号公報
特開2016-099192号公報
【発明の概要】
【発明が解決しようとする課題】
【0006】
上記特許文献1の太陽光発電システムでは、地絡電流検出後に制御回路が解列開閉器を再投入する際に検出コアを消磁する消磁回路を設けることにより、直流電路の地絡の検出レベルを一定にすることを狙っているが、太陽光発電設備はパネルの面積が大きいため、対地との間に大きな浮遊静電容量があり、容量性電流が流れてZCTにより誤検出されたり、漏電遮断器のトリップが頻発したりするおそれがある。一方で、これを避けるためにその判定基準値を高めに設定してしまうと、本来の地絡を検出できなくなるリスクが生じる。
【0007】
上記特許文献2の地絡検出回路故障診断装置では、太陽電池の地絡を検出した場合に、太陽電池の地絡か地絡検出回路の故障かを判定することを目指しているが、上述のとおり、太陽光発電設備の対地との間に大きな浮遊静電容量があるため、容量性電流が流れてZCTにより誤検出されたり、漏電遮断器のトリップが頻発したりするリスクに対処することができない。一方で、これを避けるためにその判定基準値を高めに設定してしまうと、本来の地絡を検出できなくなるリスクが生じる。
【0008】
そこで、本発明の目的は、抵抗性地絡を選択的に検出し、地絡故障の程度を適切に判定する地絡検知装置を提供することにある。
【課題を解決するための手段】
【0009】
本発明の上記目的は、以下の構成によって達成できる。すなわち、本発明の第1の態様の地絡検知装置は、正端子と負端子とを有する直流電力機器の該負端子とアースとの間に接続された対地電圧測定器と、前記直流電力機器に接続された基準電源部と、を備える地絡検知装置において、前記対地電圧測定器により測定した電圧(Vmg)に基づき地絡時接地抵抗(Rf)を演算することにより、地絡事故を判別することを特徴とする。
【0010】
本発明の第2の態様の地絡検知装置は、第1の態様の地絡検知装置において、さらに、前記対地電圧測定器により測定した電圧に基づき地絡時印加電圧を演算することにより、地絡部位を判別することを特徴とする。
(【0011】以降は省略されています)
この特許をJ-PlatPat(特許庁公式サイト)で参照する
関連特許
個人
電源装置
13日前
個人
永久磁石モーター
29日前
個人
バッテリ内蔵直流電源
12日前
株式会社FUJI
制御盤
2日前
オムロン株式会社
電源回路
6日前
個人
移動体を用いる駐車場発電所
1か月前
オムロン株式会社
電源回路
6日前
オムロン株式会社
電源回路
6日前
エイブリック株式会社
バッテリ装置
1か月前
日産自動車株式会社
電子機器
23日前
トヨタ自動車株式会社
回転子
13日前
ニデック株式会社
モータの制御方法
20日前
井関農機株式会社
充電システム
23日前
大豊工業株式会社
モータ
12日前
トヨタ自動車株式会社
溶接装置
26日前
東京応化工業株式会社
発電装置
6日前
ミサワホーム株式会社
居住設備
2日前
三菱ケミカル株式会社
電池
29日前
株式会社ダイヘン
移動装置
1か月前
株式会社リコー
拡張アンテナ装置
5日前
愛知電機株式会社
巻線方法および巻線装置
28日前
富士電子工業株式会社
電力変換装置
14日前
トヨタ自動車株式会社
ロータ
今日
ユタカ電業株式会社
ケーブルダクト
2日前
株式会社正興電機製作所
地絡確認装置
5日前
NTN株式会社
モータユニット
2日前
株式会社ダイヘン
電力変換装置
28日前
株式会社ダイヘン
電力管理装置
21日前
株式会社ミツバ
巻線装置
5日前
株式会社アイシン
直流回転電機
26日前
志幸技研工業株式会社
ケーブル布設工法
12日前
住友電装株式会社
ワイヤハーネス
22日前
株式会社ダイヘン
変換装置集積体
28日前
株式会社デンソー
インバータ装置
14日前
カヤバ株式会社
アクチュエータユニット
12日前
株式会社豊田自動織機
車両用機器
2日前
続きを見る
他の特許を見る