TOP
|
特許
|
意匠
|
商標
特許ウォッチ
Twitter
他の特許を見る
公開番号
2025137617
公報種別
公開特許公報(A)
公開日
2025-09-19
出願番号
2025117190,2021076998
出願日
2025-07-11,2021-04-30
発明の名称
感知器用保護カバー
出願人
ニッタン株式会社
代理人
個人
,
個人
主分類
G08B
17/00 20060101AFI20250911BHJP(信号)
要約
【課題】設置済みの感知器への通信アドレスの設定および変更を容易に行うことができる感知器用保護カバーを提供する。
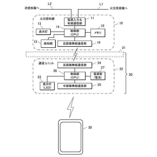
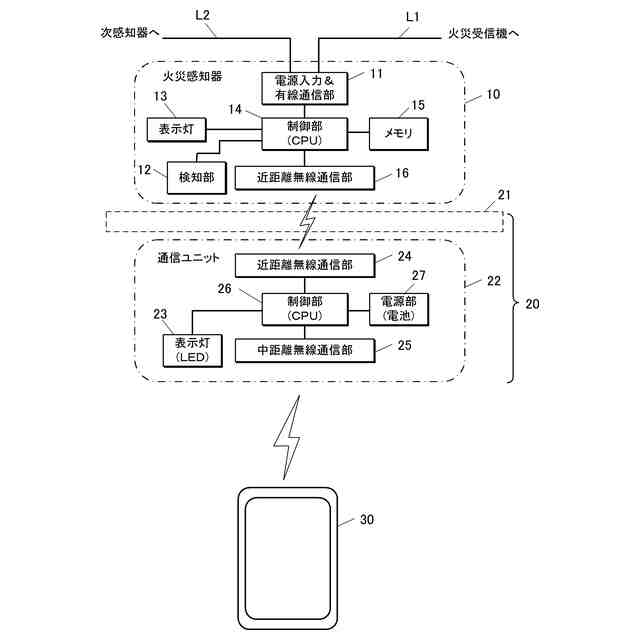
【解決手段】近距離無線通信手段(16)および所定の通信アドレスを用いて受信機と有線で通信する機能を有する感知器(10)の表面に被着可能な感知器用保護カバー(20)において、前記近距離無線通信手段による通信が可能な距離よりも通信距離が長く公衆無線通信システムを用いた通信機能を有する無線通信端末の前記通信機能による通信が可能な距離よりも通信距離が短い中距離無線通信手段(25)と、前記近距離無線通信手段(16)へ無線通信で情報を送信可能なカバー側近距離無線通信手段(24)と、電源電圧を供給する電源手段とを備え、中距離無線通信手段により受信した情報をカバー側近距離無線通信手段へ伝達し、カバー側近距離無線通信手段により感知器の近距離無線通信手段へ通信アドレス情報を送信可能に構成した。
【選択図】図2
特許請求の範囲
【請求項1】
近距離無線通信手段および所定の通信アドレスを用いて受信機と有線で通信する有線通信手段を有する感知器の表面に被着可能な感知器用保護カバーであって、
前記近距離無線通信手段による通信が可能な距離よりも通信距離が長く、無線通信システムを用いた通信機能を有する携帯通信端末の前記通信機能による通信が可能な距離よりも通信距離が短い中距離無線通信手段と、
前記近距離無線通信手段へ無線通信で情報を送信可能なカバー側近距離無線通信手段と、
前記中距離無線通信手段および前記カバー側近距離無線通信手段へ電源電圧を供給する電源手段と、
を備え、前記中距離無線通信手段により受信した情報を前記カバー側近距離無線通信手段へ伝達し、前記カバー側近距離無線通信手段により感知器の前記近距離無線通信手段へ通信アドレス情報を送信可能に構成されていることを特徴とする感知器用保護カバー。
続きを表示(約 1,200 文字)
【請求項2】
前記中距離無線通信手段により受信した情報に基づいて自身が通信相手として選択されていることを判定する機能と、前記中距離無線通信手段により受信した通信アドレス情報を前記カバー側近距離無線通信手段によって前記感知器へ送信させる機能と、を有する情報処理手段と、
表示灯と、を備え、前記情報処理手段は、自身が通信相手として選択されていると判定した場合に前記表示灯を点滅または点灯させることを特徴とする請求項1に記載の感知器用保護カバー。
【請求項3】
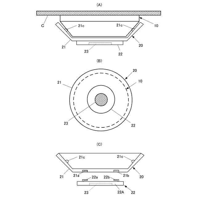
前記中距離無線通信手段と前記カバー側近距離無線通信手段と前記電源手段とがケースに内蔵されてなる通信ユニットと、感知器の外側に当該感知器の筐体の少なくとも一部を覆うように被着されるカバー本体と、を備え、
前記通信ユニットが前記カバー本体に着脱可能に結合されていることを特徴とする請求項1または2に記載の感知器用保護カバー。
【請求項4】
通信アドレスを書込み可能な記憶手段を備え火災検知システムが構築される所定エリアに分散設置されかつ請求項1~3のいずれかに記載の感知器用保護カバーが被着されている複数の感知器に、前記中距離無線通信手段と通信可能な無線通信手段を備えた携帯通信端末を用いて通信アドレスをそれぞれ設定するアドレス設定方法であって、
前記所定エリアに設置されている複数の感知器の配置を示す設備図面を参照して通信アドレスを設定する感知器を選択する第1ステップと、
選択した前記感知器に被着されている保護カバーへ送信する通信アドレスの情報を前記携帯通信端末に入力または当該携帯通信端末の表示画面より選択する第2ステップと、
前記入力または選択された通信アドレスの情報を前記携帯通信端末により送信する第3ステップと、
含むことを特徴とするアドレス設定方法。
【請求項5】
前記第3ステップの後に、
前記所定エリアに設置されている複数の感知器への通信アドレスの設定後に感知器に被着されている保護カバーを回収して1か所に集める第4ステップと、
1か所に集められた全ての感知器と前記携帯通信端末により通信を行い、被着済み保護カバーの一覧を示すリストと照合して未回収の保護カバーを判定する第5ステップと、
含むことを特徴とする請求項4に記載のアドレス設定方法。
【請求項6】
前記第3ステップの後であって前記第4ステップの前に、
前記複数の感知器が接続されている通信回線に接続された受信機によって、前記通信回線を介して前記複数の感知器に設定されている前記通信アドレスを含む情報を取得して、正しい通信アドレスが設定されているか判定するステップと、をさらに含むことを特徴とする請求項5に記載のアドレス設定方法。
発明の詳細な説明
【技術分野】
【0001】
本発明は、火災感知器などの感知器を保護する感知器用保護カバーおよびこの保護カバーを利用して設置後の感知器に通信アドレス(以下、単にアドレスと記す)を設定するアドレス設定方法に関する。
続きを表示(約 3,000 文字)
【背景技術】
【0002】
従来、火災検知システムにおける火災感知器などの感知器には、受信機等からのアドレスに基づく呼出し信号に呼応して、自器に設定されているアドレスとの一致を検出し、一致していたならば呼び出し側の受信機等との間で情報交換を行うように構成されているものがある。かかる感知器に設定されるアドレスは、以前はロータリスイッチ等を設けて機械的に設定していたが、近年はEEPROM等のアドレス情報を記憶する不揮発性メモリを設けて電気的に設定するものが多い。電気的にアドレスを設定する方式の感知器を使用する場合には、感知器に接続してアドレス設定を行うアドレス設定器が必要であり、アドレス設定器に関する発明としては、例えば特許文献1に記載されているものがある。
【0003】
しかしながら、火災検知システムが設けられる施設の規模が大きくなると、そこに設置される火災感知器の数も膨大となり、アドレス設定器を用いて各感知器1つ1つに間違いなくアドレスを設定するのは大変な作業となる。この設定作業は、予め各感知器の設置場所とアドレスとが表示されているリストや設備図面などを準備し、それらを参照しながら、アドレス設定器を用いて施工現場で設定することにより行われる。もしくは現場に行く前に予めアドレスを設定して、現場にて設備図面を参照しながらアドレスが設定された感知器を設置していくことにより行われる。
具体的には、リストや設備図面などを参照して、その設置場所に設置する感知器と同じ種別の感知器を選別してアドレス設定器に接続し、リストや設備図面などに指定されたアドレスを作業者が操作部のテンキーを使用して入力し設定していた。そのため、作業者への負荷が大きくアドレス設定に時間がかかるとともに、人為的な入力ミスが発生するおそれがあるという課題があった。
【0004】
一方、ビル等の施設に火災検知システムを構築する場合、施設内の各エリアの所定位置に火災感知器を設置するとともに、各火災感知器と防災センタ等に配備されている火災受信機との間を電気的に接続する配線の敷設作業を実施することが行われているが、施工作業が完了するまでの間、感知器に保護カバーを被せて汚れや傷がつかないように感知器を保護することが行われている。火災感知器に保護カバーに関する発明としては、例えば特許文献2に記載されているものがある。
また、感知器に保護カバーを被せるようにした場合、作業完了後に外す必要があるが、カバーの外し忘れが生じるおそれがある。特許文献2には、カバーの外し忘れを防止するため、保護カバーの下部に発光部(LED)を設けた実施例も記載されている。また、特許文献3には、感知器の防塵カバーとその着脱器に関する発明が記載されている。
【先行技術文献】
【特許文献】
【0005】
特開2010-44598号公報
特開2016-148983号公報
特開2019-21009号公報
【発明の概要】
【発明が解決しようとする課題】
【0006】
しかしながら、特許文献1に記載されているアドレス設定器によれば、感知器に設定したアドレスや種別をチェックする手段を備えるため、人為的な入力ミスによる誤設定をなくすことができるという利点があるものの、アドレスの設定はアドレス設定器に感知器を接続して行う方式であるため、感知器を天井面等の所定位置に設置した後にアドレスを変更したい場合には、感知器を一旦取り外すための高所作業が必要であり、作業が面倒である。また、感知器に保護カバーを被着した場合、カバーの外し忘れが発生するおそれがあるという課題がある。
【0007】
一方、特許文献2に記載されている発明のように、保護カバーの下部に発光部(LED)を設けるようにした場合には、カバーの外し忘れを発見することができるという利点があるものの、目視で発光部の発光状態の有無を確認する必要があるため、感知器が設置されている全てのエリアを巡回して確認しなければならず、確認作業者の負担が大きいとともに、本来巡回すべきエリアを見逃すおそれがあり、その場合カバーの外し忘れを発見できないという課題が残ることとなる。
【0008】
本発明は、上記のような課題に着目してなされたもので、設置済みの感知器へのアドレスの設定および変更を容易に行うことができる感知器用保護カバーを提供することを目的とする。
本発明の他の目的は、アドレス設定後における外し忘れを容易かつ確実に発見することができる感知器用保護カバーを提供することにある。
本発明のさらに他の目的は、感知器用保護カバーを利用して設置済みの感知器へアドレスを設定することができるアドレス設定方法を提供することにある。
【課題を解決するための手段】
【0009】
上記目的を達成するため、この発明は、
近距離無線通信手段および所定の通信アドレスを用いて受信機と有線で通信する有線通信手段を有する感知器の表面に被着可能な感知器用保護カバーにおいて、
前記近距離無線通信手段による通信が可能な距離よりも通信距離が長く、無線通信システムを用いた通信機能を有する携帯通信端末の前記通信機能による通信が可能な距離よりも通信距離が短い中距離無線通信手段と、
前記近距離無線通信手段へ無線通信で情報を送信可能なカバー側近距離無線通信手段と、
前記中距離無線通信手段および前記カバー側近距離無線通信手段へ電源電圧を供給する電源手段と、
を備え、前記中距離無線通信手段により受信した情報を前記カバー側近距離無線通信手段へ伝達し、前記カバー側近距離無線通信手段により感知器の前記近距離無線通信手段へ通信アドレス情報を送信可能に構成したものである。
【0010】
上記のような構成によれば、感知器に被着される保護カバーに近距離無線通信手段と中距離無線通信手段とが設けられ、中距離無線通信手段により受信したアドレス情報を近距離無線通信手段に伝達して感知器へアドレス情報を送信可能に構成されているため、携帯通信端末を用いて感知器に被着されている保護カバーへアドレスを送信することで、感知器を取り外す高所作業を行わずに、設置済みの感知器へのアドレスの設定および変更を行うことができ、作業者への負担を軽減するとともに安全性を高めることができる。その上、感知器を設置した後でのアドレス設定が可能に構成されているため、予めアドレスを設定した感知器を別の場所に間違って取り付けてしまうという人為的ミスを抑制することができる。
また、感知器へのアドレスの設定が終了した後に、保護カバーを外して回収し再利用することができ、それによって保護カバーのコストアップを抑制することができる。さらに、保護カバーに近距離無線通信手段と中距離無線通信手段とを設けることで、感知器には簡易な近距離無線通信手段を設けるだけでよいため、感知器の機能付加に伴うコストアップも抑制することができる。
(【0011】以降は省略されています)
この特許をJ-PlatPat(特許庁公式サイト)で参照する
関連特許
ニッタン株式会社
検知器
6日前
ニッタン株式会社
位置情報システム
1日前
ニッタン株式会社
位置情報システム
1日前
ニッタン株式会社
感知器用保護カバー
19日前
日本精機株式会社
警報システム
1か月前
日本精機株式会社
路面投影装置
3か月前
個人
自動電動車椅子
20日前
スズキ株式会社
運転支援装置
1か月前
エムケー精工株式会社
車両誘導装置
1か月前
ニッタン株式会社
検知器
28日前
ニッタン株式会社
検知器
6日前
ニッタン株式会社
発信機
3か月前
個人
磁気路上での車両の路線離脱防御
9日前
ニッタン株式会社
検知器
1か月前
ニッタン株式会社
発信機
2か月前
ニッタン株式会社
発信機
3か月前
株式会社国際電気
防災システム
1か月前
個人
防犯に特化したアプリケーション
3か月前
ニッタン株式会社
発信機
2か月前
ニッタン株式会社
検知器
28日前
TOA株式会社
拡声放送システム
3か月前
東京都公立大学法人
液滴検出装置
3か月前
トヨタ自動車株式会社
車両
2か月前
大阪瓦斯株式会社
音声出力システム
5日前
株式会社アジラ
データ転送システム
3か月前
株式会社小糸製作所
移動体検出装置
1か月前
日本信号株式会社
信号情報システム
3か月前
日本信号株式会社
情報提供システム
3か月前
個人
乗り物の移動を支援する方法及び装置
2か月前
トヨタ自動車株式会社
サーバ
13日前
株式会社SUBARU
運転支援装置
7日前
日本信号株式会社
異常走行検出装置
13日前
株式会社JVCケンウッド
警報装置
3か月前
三菱自動車工業株式会社
制御システム
5日前
日本精機株式会社
報知装置及び報知システム
19日前
株式会社小糸製作所
車両検出システム
1か月前
続きを見る
他の特許を見る