TOP
|
特許
|
意匠
|
商標
特許ウォッチ
Twitter
他の特許を見る
10個以上の画像は省略されています。
公開番号
2025139197
公報種別
公開特許公報(A)
公開日
2025-09-26
出願番号
2024038007
出願日
2024-03-12
発明の名称
弾性波フィルタ及び高周波モジュール
出願人
株式会社村田製作所
代理人
個人
,
個人
主分類
H03H
9/64 20060101AFI20250918BHJP(基本電子回路)
要約
【課題】通過特性及び減衰特性の劣化を抑制することができる弾性波フィルタを提供する。
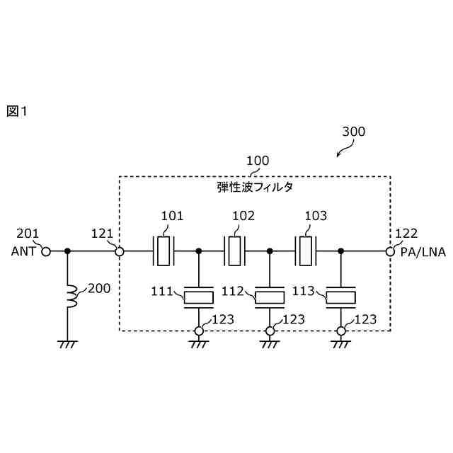
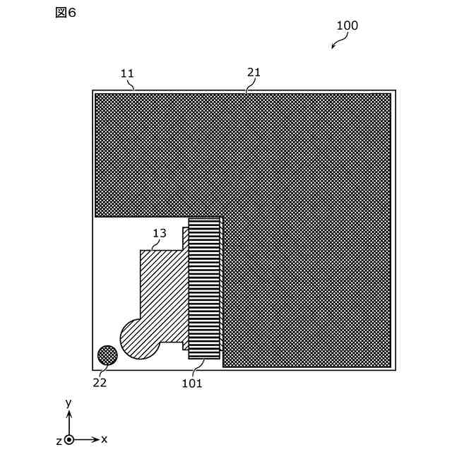
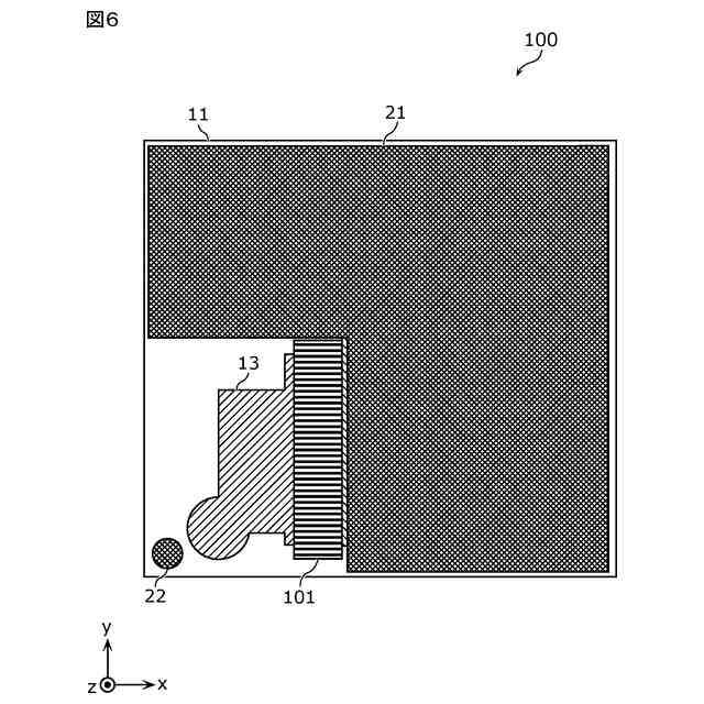
【解決手段】弾性波フィルタ100は、互いに対向する主面11a及び11bを有し、主面11aに直列腕共振子101及び103が形成された圧電基板11と、圧電基板11の主面11aに対面する主面12aを有し、主面11aと主面12aとの間に空間を形成するよう配置されたキャップ基板12と、アンテナ接続端子201に接続される外部接続端子121と、増幅器に接続される外部接続端子122と、外部接続端子121を直列腕共振子101に電気的に接続する配線13と、外部接続端子122を直列腕共振子103に電気的に接続する配線14と、主面12aに配置されたシールド21と、を備え、シールド21は、平面視において、配線13と重ならず、配線14と少なくとも部分的に重なっている。
【選択図】図6
特許請求の範囲
【請求項1】
互いに対向する第1主面及び第2主面を有し、前記第1主面に第1直列腕共振子及び第2直列腕共振子が形成された第1基板と、
前記第1基板の前記第1主面に対面する第3主面を有し、前記第1主面と前記第3主面との間に空間を形成するよう配置された第2基板と、
アンテナ接続端子に接続される第1外部接続端子と、
増幅器に接続される第2外部接続端子と、
前記第1外部接続端子を前記第1直列腕共振子に電気的に接続する第1配線と、
前記第2外部接続端子を前記第2直列腕共振子に電気的に接続する第2配線と、
前記第3主面に配置されたシールドと、を備え、
前記シールドは、平面視において、前記第1配線と重ならず、前記第2配線と少なくとも部分的に重なっている、
弾性波フィルタ。
続きを表示(約 810 文字)
【請求項2】
前記シールドは、前記平面視において、前記第1直列腕共振子と重なっていない、
請求項1に記載の弾性波フィルタ。
【請求項3】
前記シールドは、前記平面視において、前記第2直列腕共振子と少なくとも部分的に重なっている、
請求項1又は2に記載の弾性波フィルタ。
【請求項4】
前記シールドは、前記平面視においてメッシュ形状を有する、
請求項1又は2に記載の弾性波フィルタ。
【請求項5】
前記弾性波フィルタは、弾性表面波フィルタである、
請求項1又は2に記載の弾性波フィルタ。
【請求項6】
前記弾性波フィルタは、バルク弾性波フィルタである、
請求項1又は2に記載の弾性波フィルタ。
【請求項7】
前記第1直列腕共振子は、
下部電極及び上部電極と、
前記下部電極及び前記上部電極の間に配置された圧電体と、を備え、
前記第1配線は、前記下部電極に接続される、
請求項6に記載の弾性波フィルタ。
【請求項8】
前記弾性波フィルタは、第1バンドの受信帯域を含む通過帯域を有し、
前記増幅器は、低雑音増幅器である、
請求項1又は2に記載の弾性波フィルタ。
【請求項9】
前記弾性波フィルタは、第1バンドの送信帯域を含む通過帯域を有し、
前記増幅器は、電力増幅器である、
請求項1又は2に記載の弾性波フィルタ。
【請求項10】
モジュール基板と、
前記モジュール基板に配置された請求項1又は2に記載の弾性波フィルタと、
前記モジュール基板に配置され、前記弾性波フィルタの前記第1外部接続端子に電気的に接続されたインダクタと、備える、
高周波モジュール。
発明の詳細な説明
【技術分野】
【0001】
本発明は、弾性波フィルタ及び高周波モジュールに関する。
続きを表示(約 1,800 文字)
【背景技術】
【0002】
特許文献1には、高周波フィルタをシールドするシールドケースの天井部分に穴を形成することが開示されている。これにより、高周波フィルタとシールドケースとの間の容量結合及び/又は誘導結合が抑制され、高周波フィルタの特性の劣化が抑制されることが開示されている。
【先行技術文献】
【特許文献】
【0003】
特開平10-107471号公報
【発明の概要】
【発明が解決しようとする課題】
【0004】
しかしながら、上記従来の技術では、弾性波フィルタと他の部品との間の結合による通過特性の劣化の抑制しつつ、シールドによる減衰特性の劣化を抑制することが難しい場合がある。
【0005】
そこで、本発明は、通過特性及び減衰特性の劣化を抑制することができる弾性波フィルタ及び高周波モジュールを提供する。
【課題を解決するための手段】
【0006】
本発明の一態様に係る弾性波フィルタは、互いに対向する第1主面及び第2主面を有し、第1主面に第1直列腕共振子及び第2直列腕共振子が形成された第1基板と、第1基板の第1主面に対面する第3主面を有し、第1主面と第3主面との間に空間を形成するよう配置された第2基板と、アンテナ接続端子に接続される第1外部接続端子と、増幅器に接続される第2外部接続端子と、第1外部接続端子を第1直列腕共振子に電気的に接続する第1配線と、第2外部接続端子を第2直列腕共振子に電気的に接続する第2配線と、第3主面に配置されたシールドと、を備え、シールドは、平面視において、第1配線と重ならず、第2配線と少なくとも部分的に重なっている。
【発明の効果】
【0007】
本発明によれば、弾性波フィルタの通過特性及び減衰特性の劣化を抑制することができる。
【図面の簡単な説明】
【0008】
図1は、実施の形態1に係る高周波モジュールの回路構成図である。
図2は、実施の形態1に係る高周波モジュールの平面図である。
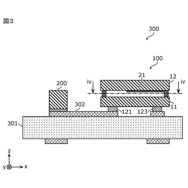
図3は、実施の形態1に係る高周波モジュールの断面図である。
図4は、実施の形態1に係る弾性波フィルタの断面図である。
図5は、実施の形態1に係る弾性波フィルタの断面図である。
図6は、実施の形態1に係る弾性波フィルタの断面図である。
図7は、シールドによる寄生容量の影響を説明するためのスミスチャートである。
図8は、実施の形態1の変形例1に係る弾性波フィルタの断面図である。
図9は、実施の形態1の変形例2に係る弾性波フィルタの断面図である。
図10は、実施の形態1の変形例2に係る弾性波フィルタの断面図である。
図11は、実施の形態1の変形例2に係る弾性波フィルタの部分断面図である。
図12は、実施の形態2に係る高周波モジュールの回路構成図である。
図13は、実施の形態2に係るフィルタモジュールの断面図である。
図14は、実施の形態2に係るフィルタモジュールの断面図である。
図15は、実施の形態3に係る高周波モジュールの回路構成図である。
図16は、実施の形態3に係るフィルタモジュールの断面図である。
図17は、実施の形態3に係るフィルタモジュールの断面図である。
【発明を実施するための形態】
【0009】
以下、本発明の実施の形態について、図面を用いて詳細に説明する。なお、以下で説明する実施の形態は、いずれも包括的又は具体的な例を示すものである。以下の実施の形態で示される数値、形状、材料、構成要素、構成要素の配置及び接続形態などは、一例であり、本発明を限定する主旨ではない。
【0010】
なお、各図は、本発明を示すために適宜強調、省略、又は比率の調整を行った模式図であり、必ずしも厳密に図示されたものではなく、実際の形状、位置関係、及び比率とは異なる場合がある。各図において、実質的に同一の構成に対しては同一の符号を付しており、重複する説明は省略又は簡素化される場合がある。
(【0011】以降は省略されています)
この特許をJ-PlatPat(特許庁公式サイト)で参照する
関連特許
株式会社村田製作所
電池
7日前
株式会社村田製作所
釣り具
6日前
株式会社村田製作所
増幅回路
1か月前
株式会社村田製作所
コイル部品
1か月前
株式会社村田製作所
コイル部品
13日前
株式会社村田製作所
高周波回路
1か月前
株式会社村田製作所
高周波回路
1か月前
株式会社村田製作所
噴霧ノズル
1日前
株式会社村田製作所
流体制御装置
14日前
株式会社村田製作所
フィルタ回路
3日前
株式会社村田製作所
測定システム
1か月前
株式会社村田製作所
インダクタ部品
13日前
株式会社村田製作所
グラビア印刷版
21日前
株式会社村田製作所
積層インダクタ
1か月前
株式会社村田製作所
積層インダクタ
3日前
株式会社村田製作所
インダクタ部品
1か月前
株式会社村田製作所
圧力センサ装置
1か月前
株式会社村田製作所
インダクタ部品
1か月前
株式会社村田製作所
弾性波フィルタ
13日前
株式会社村田製作所
呼吸検出システム
3日前
株式会社村田製作所
多層基板及び電子機器
3日前
株式会社村田製作所
多層基板及び電子機器
3日前
株式会社村田製作所
積層セラミック電子部品
15日前
株式会社村田製作所
積層セラミック電子部品
今日
株式会社村田製作所
積層セラミック電子部品
15日前
株式会社村田製作所
積層セラミック電子部品
22日前
株式会社村田製作所
積層セラミック電子部品
今日
株式会社村田製作所
積層セラミック電子部品
15日前
株式会社村田製作所
積層セラミックコンデンサ
15日前
株式会社村田製作所
積層セラミックコンデンサ
27日前
株式会社村田製作所
積層コイル部品の製造方法
15日前
株式会社村田製作所
積層セラミックコンデンサ
今日
株式会社村田製作所
積層セラミックコンデンサ
6日前
株式会社村田製作所
積層セラミックコンデンサ
1日前
株式会社村田製作所
積層セラミックコンデンサ
3日前
株式会社村田製作所
積層セラミックコンデンサ
3日前
続きを見る
他の特許を見る