TOP
|
特許
|
意匠
|
商標
特許ウォッチ
Twitter
他の特許を見る
10個以上の画像は省略されています。
公開番号
2025140120
公報種別
公開特許公報(A)
公開日
2025-09-29
出願番号
2024039303
出願日
2024-03-13
発明の名称
運搬装置、運搬方法及びケーブルの引き出し方法
出願人
株式会社ディスコ
代理人
弁理士法人酒井国際特許事務所
主分類
B62B
3/10 20060101AFI20250919BHJP(鉄道以外の路面車両)
要約
【課題】径方向の大きさが異なる複数の種類のケーブルドラムを運搬可能なこと。
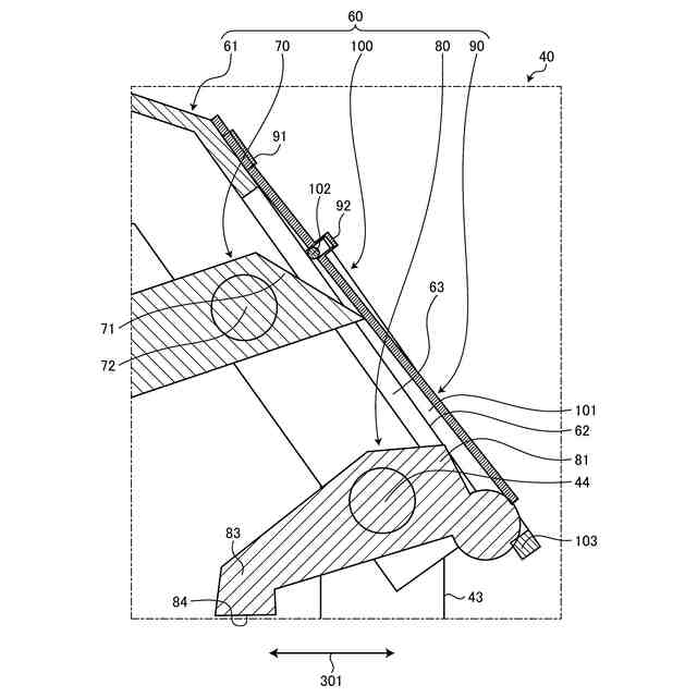
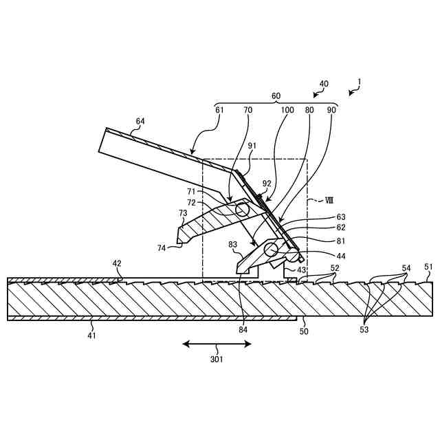
【解決手段】運搬装置1は、ケーブルが巻き付けられた円柱状の胴部と胴部の軸方向の両端に設けられ胴部よりも大きい円状の外周形状を有する一対の鍔部とを有するケーブルドラムを運搬する装置であって、第1の方向301に間隔を開けて配設され、第1の方向301と直交する第2の方向302に延在し第2の方向302を回転軸13として回転可能なローラ12で、胴部の軸方向が第2の方向302に沿うように配置されたケーブルドラムの一対の鍔部を支持する一対の支持部10と、一対の支持部10を接続し、第1の方向に沿って一対の支持部の一方を他方に対して相対的に移動させることで、間隔を調整する間隔調整部40と、運搬装置1を移動させるための車輪20とを備える。
【選択図】図1
特許請求の範囲
【請求項1】
ケーブルが巻き付けられた円柱状の胴部と該胴部の軸方向の両端に設けられ該胴部よりも大きい円状の外周形状を有する一対の鍔部とを有するケーブルドラムを運搬する運搬装置であって、
第1の方向に間隔を開けて配設され、該第1の方向と直交する第2の方向に延在し該第2の方向を回転軸として回転可能なローラで、該胴部の該軸方向が該第2の方向に沿うように配置された該ケーブルドラムの該一対の鍔部を支持する一対の支持部と、
該一対の支持部を接続し、該第1の方向に沿って該一対の支持部の一方を他方に対して相対的に移動させることで、該間隔を調整する間隔調整部と、
該運搬装置を移動させるための車輪と、
を備える運搬装置。
続きを表示(約 910 文字)
【請求項2】
該車輪の回転を阻害し該運搬装置を移動不可とする移動不可状態と、該車輪の回転を阻害せず該運搬装置を移動可能とする移動可能状態と、を切り替え可能な車輪ロック機構をさらに備える、請求項1に記載の運搬装置。
【請求項3】
請求項1又は請求項2に記載の運搬装置を用いてケーブルドラムを運搬する運搬方法であって、
該一対の鍔部203が地面に接し、該胴部の該軸方向が該ローラの該回転軸方向に沿うようにして、該ケーブルドラムが該一対の支持部の間に配置されるようにする配置ステップと、
該配置ステップの後、該間隔調整部によって該間隔を狭めることで、該一対の鍔部を該一対の支持部で支持して該ケーブルドラムを該運搬装置に積み込む積み込みステップと、
該積み込みステップの後、該ケーブルドラムを積んだ該運搬装置を所定の位置まで移動させる移動ステップと、
該移動ステップの後、該間隔調整部によって該間隔を広げることで、該一対の鍔部203が地面に接するようにして該ケーブルドラムを該運搬装置から積み下ろす積み下ろしステップと、を備える運搬方法。
【請求項4】
請求項2に記載の運搬装置を用いてケーブルドラムからケーブルを引き出すケーブルの引き出し方法であって、
該一対の鍔部203が地面に接し、該胴部の該軸方向が該ローラの該回転軸方向に沿うようにして、該ケーブルドラムが該一対の支持部の間に配置されるようにする配置ステップと、
該配置ステップの後、該間隔調整部によって該間隔を狭めることで、該一対の鍔部を該一対の支持部で支持して該ケーブルドラムを該運搬装置に積み込む積み込みステップと、
該積み込みステップの後、該ケーブルドラムを積んだ該運搬装置を所定の位置まで移動させる移動ステップと、
該移動ステップの後、該車輪ロック機構によって該運搬装置を移動不可状態とした状態で該ケーブルの一端を引っ張ることで、該ローラの回転に伴って該ケーブルドラムが回転し該ケーブルが引き出されるケーブル引き出しステップと、を備えるケーブルの引き出し方法。
発明の詳細な説明
【技術分野】
【0001】
本発明は、ケーブルドラムの運搬装置、ケーブルドラムの運搬方法、及びケーブルドラムからケーブルを引き出すケーブルの引き出し方法に関する。
続きを表示(約 1,300 文字)
【背景技術】
【0002】
電気工事で使用される電気ケーブルは、ケーブルドラムに巻かれた状態で運搬される。このケーブルドラムの運搬作業およびケーブルドラムからケーブルを引き出す引き出し作業の作業性を改善可能な運搬装置が提案されている(例えば、特許文献1参照)。
【0003】
特許文献1に記載の運搬装置は、ケーブルドラムを下から支えられるように互いに間隔を在して伸びる一対のフォークアームを備え、フォークアームをケーブルドラムの直下まで移動させた状態でフォークアームを持ち上げてケーブルドラムを浮上させることで、ケーブルドラムを運搬する。
【先行技術文献】
【特許文献】
【0004】
特開2011-189849号公報
【発明の概要】
【発明が解決しようとする課題】
【0005】
しかしながら、特許文献1に記載の運搬装置では、ケーブルドラムの径方向の大きさが一対のフォークアームの間隔に比べて小さすぎる場合には、ケーブルドラムをフォークアームで支えることができないため、ケーブルドラムを運搬できない。
【0006】
また、特許文献1に記載の運搬装置では、ケーブルドラムの径方向の大きさが一対のフォークアームの間隔に比べて大きすぎる場合には、フォークアームをケーブルドラムの直下に移動させることができないため、ケーブルドラムを運搬できない。
【0007】
そのため、径方向の大きさが異なる複数のケーブルドラムを運搬するためには、一対のフォークアームの間隔が異なる複数の種類の運搬装置を準備し、ケーブルドラムの径方向の大きさによって使い分ける必要があり、作業性が悪いという問題がある。
【0008】
本発明は、かかる問題に鑑みてなされたものであり、径方向の大きさが異なる複数の種類のケーブルドラムを運搬可能な運搬装置、運搬方法及びケーブルの引き出し方法を提供することを目的とする。
【課題を解決するための手段】
【0009】
上述した課題を解決し、目的を達成するために、本発明の運搬装置は、ケーブルが巻き付けられた円柱状の胴部と該胴部の軸方向の両端に設けられ該胴部よりも大きい円状の外周形状を有する一対の鍔部とを有するケーブルドラムを運搬する運搬装置であって、第1の方向に間隔を開けて配設され、該第1の方向と直交する第2の方向に延在し該第2の方向を回転軸として回転可能なローラで、該胴部の該軸方向が該第2の方向に沿うように配置された該ケーブルドラムの該一対の鍔部を支持する一対の支持部と、該一対の支持部を接続し、該第1の方向に沿って該一対の支持部の一方を他方に対して相対的に移動させることで、該間隔を調整する間隔調整部と、該運搬装置を移動させるための車輪と、を備えることを特徴とする。
【0010】
前記運搬装置では、該車輪の回転を阻害し該運搬装置を移動不可とする移動不可状態と、該車輪の回転を阻害せず該運搬装置を移動可能とする移動可能状態と、を切り替え可能な車輪ロック機構をさらに備えても良い。
(【0011】以降は省略されています)
この特許をJ-PlatPat(特許庁公式サイト)で参照する
関連特許
株式会社ディスコ
ノズル
12日前
株式会社ディスコ
加工装置
12日前
株式会社ディスコ
診断方法
2日前
株式会社ディスコ
切削装置
5日前
株式会社ディスコ
フレーム
12日前
株式会社ディスコ
切削装置
12日前
株式会社ディスコ
ノズルユニット
2日前
株式会社ディスコ
加工水供給装置
5日前
株式会社ディスコ
切削ブレード治具
2日前
株式会社ディスコ
液体供給システム
12日前
株式会社ディスコ
被加工物の加工方法
12日前
株式会社ディスコ
押圧試験装置の評価方法
12日前
株式会社ディスコ
積層ウェーハの加工方法
2日前
株式会社ディスコ
貼り合わせ基板の加工方法
12日前
株式会社ディスコ
加工方法及びレーザ加工装置
12日前
株式会社ディスコ
試験装置、試験片の試験方法
2日前
株式会社ディスコ
端面処理工具及び端面処理方法
5日前
株式会社ディスコ
加工装置及び被加工物の加工方法
12日前
株式会社ディスコ
加工方法及びレーザ加工プログラム
12日前
株式会社ディスコ
保護部材形成装置および保護部材の形成方法
12日前
株式会社ディスコ
ウエーハの処理方法及びウエーハの処理装置
今日
株式会社ディスコ
運搬装置、運搬方法及びケーブルの引き出し方法
2日前
株式会社ディスコ
液体供給システム、送液装置、及び液体を消費する装置
12日前
個人
カート
2か月前
個人
走行装置
3か月前
個人
乗り物
4か月前
個人
電動走行車両
3か月前
個人
電動モビリティ
7か月前
個人
折り畳み自転車
10か月前
個人
発音装置
6か月前
個人
駐輪設備
27日前
個人
閂式ハンドル錠
3か月前
個人
自転車用傘捕捉具
11か月前
個人
ボギー・フレーム
1か月前
個人
自由方向乗車自転車
7か月前
個人
ルーフ付きトライク
1か月前
続きを見る
他の特許を見る