TOP
|
特許
|
意匠
|
商標
特許ウォッチ
Twitter
他の特許を見る
10個以上の画像は省略されています。
公開番号
2025136216
公報種別
公開特許公報(A)
公開日
2025-09-19
出願番号
2024034509
出願日
2024-03-07
発明の名称
加工装置及び被加工物の加工方法
出願人
株式会社ディスコ
代理人
個人
,
個人
,
個人
,
個人
,
個人
,
個人
主分類
H01L
21/301 20060101AFI20250911BHJP(基本的電気素子)
要約
【課題】加工条件の選定に費やされるコスト及び労力が削減され、加工条件の選定作業が簡略化される加工装置及び加工方法を提供する。
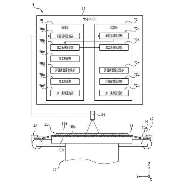
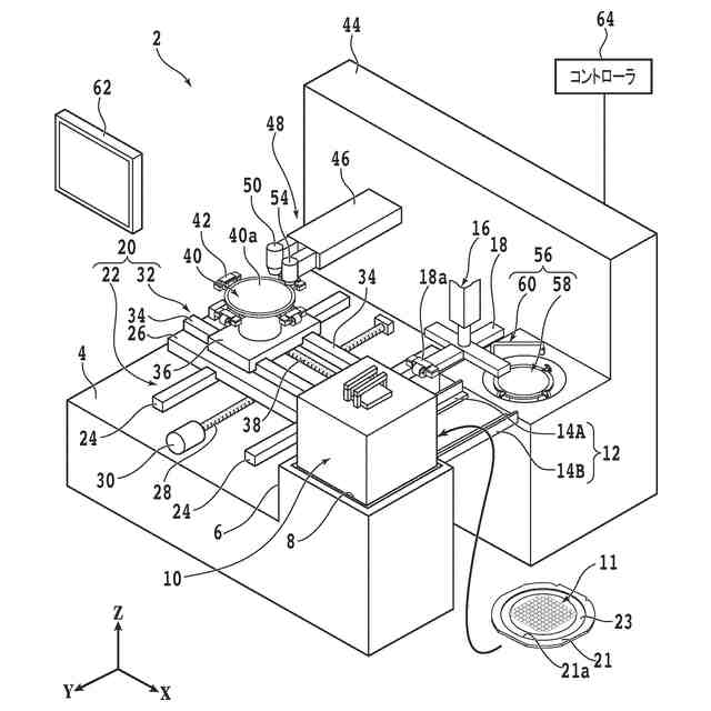
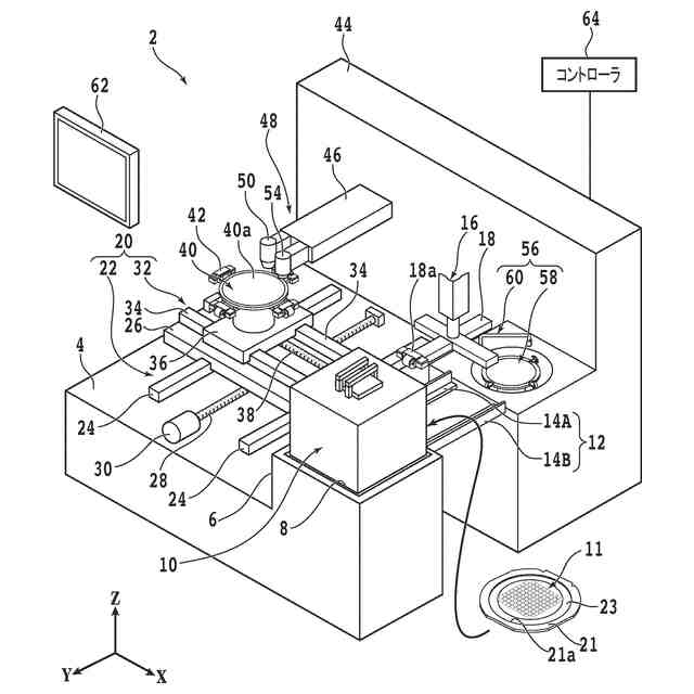
【解決手段】複数の分割予定ラインが設定され分割予定ライン上に複数の構造物が設けられた被加工物11を加工するレーザー加工装置2であって、被加工物11をレーザー加工する加工ユニット48と、仮置き機構12、搬送ユニット16、移動ユニット20、保持ユニット40、クランプ42、加工ユニット48、撮像ユニット54、洗浄ユニット56、表示ユニット62等に接続されているコントローラと、を備え、コントローラは、被加工物11に含まれ構造物の配置が共通する複数の単位領域を記憶する単位領域記憶部と、単位領域に対して設定された加工条件を記憶する加工条件記憶部と、単位領域が加工条件で加工され単位領域に加工痕が形成されるように加工ユニットを制御する加工制御部と、を有する。
【選択図】図1
特許請求の範囲
【請求項1】
複数の分割予定ラインが設定され該分割予定ライン上に複数の構造物が設けられた被加工物を加工する加工装置であって、
該被加工物を加工する加工ユニットと、
コントローラと、を備え、
該コントローラは、
該被加工物に含まれ該構造物の配置が共通する複数の単位領域を記憶する単位領域記憶部と、
該単位領域に対して設定された加工条件を記憶する加工条件記憶部と、
該単位領域が該加工条件で加工され該単位領域に加工痕が形成されるように該加工ユニットを制御する加工制御部と、を有する加工装置。
続きを表示(約 870 文字)
【請求項2】
該被加工物を撮像する撮像ユニットをさらに備え、
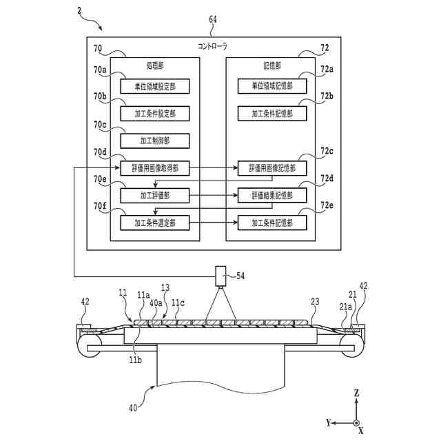
該コントローラは、該加工痕を該撮像ユニットで撮像することによって取得された評価用画像を記憶する評価用画像記憶部をさらに有する、請求項1に記載の加工装置。
【請求項3】
該コントローラは、該評価用画像に基づいて該加工痕を評価する加工評価部をさらに有する、請求項2に記載の加工装置。
【請求項4】
該加工条件記憶部は、複数の該単位領域に対してそれぞれ設定された異なる複数の該加工条件を記憶し、
該加工制御部は、複数の該単位領域がそれぞれ異なる該加工条件で加工されるように該加工ユニットを制御し、
該加工評価部は、複数の該単位領域にそれぞれ形成された該加工痕を評価し、
該コントローラは、該加工評価部による評価に基づいて、該加工ユニットで該被加工物を加工するための加工条件を選定する加工条件選定部をさらに有する、請求項3に記載の加工装置。
【請求項5】
該被加工物を撮像する撮像ユニットをさらに備え、
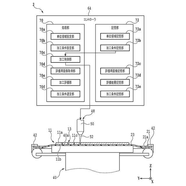
該コントローラは、該単位領域記憶部に記憶される該単位領域を設定する単位領域設定部をさらに有し、
該単位領域設定部は、該被加工物に設けられた複数の該構造物を該撮像ユニットで撮像することによって取得された検出用画像に基づいて、該被加工物から該構造物の配置が共通する複数の領域を抽出し、該領域を該単位領域に設定する、請求項1に記載の加工装置。
【請求項6】
複数の分割予定ラインが設定され該分割予定ライン上に複数の構造物が設けられた被加工物を加工する被加工物の加工方法であって、
該被加工物に含まれ該構造物の配置が共通する複数の単位領域を設定する単位領域設定ステップと、
該単位領域に対して加工条件を設定する加工条件設定ステップと、
該加工条件で該単位領域を加工して該単位領域に加工痕を形成する加工ステップと、を有する被加工物の加工方法。
発明の詳細な説明
【技術分野】
【0001】
本発明は、分割予定ライン上に構造物が設けられた被加工物の加工に用いられる加工装置及び被加工物の加工方法に関する。
続きを表示(約 2,200 文字)
【背景技術】
【0002】
デバイスチップの製造プロセスでは、格子状に設定された分割予定ライン(ストリート)によって区画された複数の領域にそれぞれデバイスが形成されたウェーハが用いられる。このウェーハを分割予定ラインに沿って分割して個片化することにより、デバイスを備えるデバイスチップが得られる。また、複数のデバイスチップを所定の基板上に実装し、実装されたデバイスチップを樹脂層(モールド樹脂)で被覆して封止することにより、パッケージ基板が形成される。このパッケージ基板を所定の分割予定ラインに沿って分割して個片化することにより、パッケージ化された複数のデバイスチップを備えるパッケージデバイスが製造される。デバイスチップやパッケージデバイスは、携帯電話、パーソナルコンピュータ等の様々な電子機器に組み込まれる。
【0003】
ウェーハ、パッケージ基板等の被加工物の分割には、切削装置が用いられる。切削装置は、被加工物に切削加工を施す加工ユニット(切削ユニット)を備えており、切削ユニットには環状の切削ブレードが装着される。切削ブレードを回転させつつ被加工物に切り込ませることにより、被加工物が分割される(特許文献1参照)。
【0004】
また、近年では、レーザー加工装置を用いたレーザー加工によって被加工物を分割するプロセスの開発も進められている。レーザー加工装置は、被加工物にレーザービームを照射する加工ユニット(レーザー照射ユニット)を備えている。例えば、レーザー照射ユニットから被加工物にレーザービームを照射することにより、被加工物にレーザー加工溝又は改質層が分割予定ラインに沿って形成される。その後、被加工物に外力を付与すると、被加工物がレーザー加工溝又は改質層を起点として破断し、被加工物が分割予定ラインに沿って分割される(特許文献2、3参照)。
【先行技術文献】
【特許文献】
【0005】
特開2010-50214号公報
特開平10-305420号公報
特開2002-192370号公報
【発明の概要】
【発明が解決しようとする課題】
【0006】
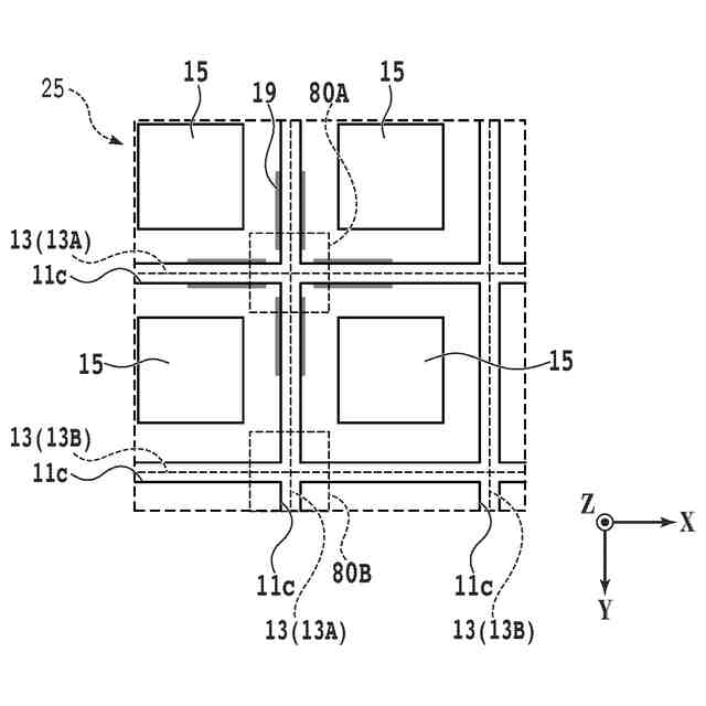
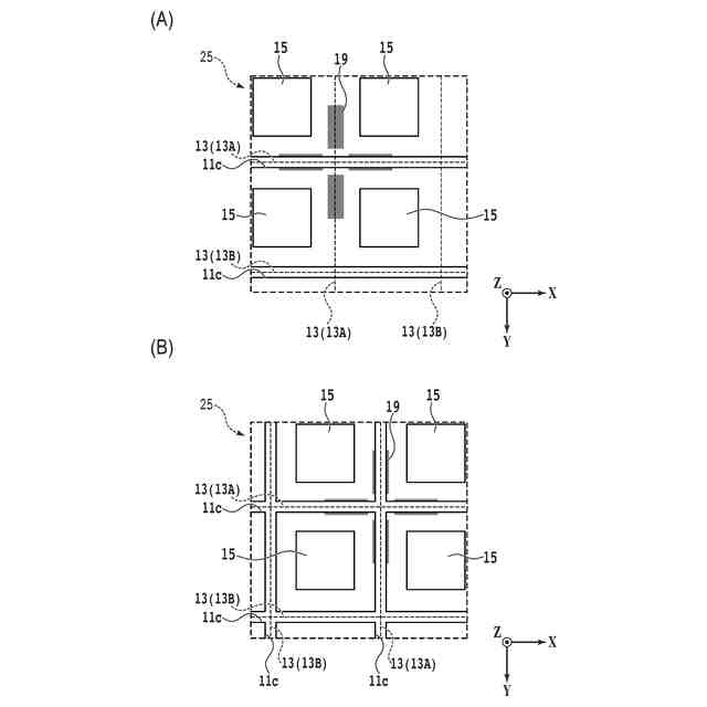
上記のように加工装置(切削装置、レーザー加工装置等)で被加工物を加工する際には、被加工物に所望の加工が施されるように、被加工物の材質等に応じて加工条件が設定される。また、被加工物の分割予定ライン上には、TEG(Test Element Group)、電極、配線、端子、回路等の構造物が設けられていることがある。この場合には、分割予定ライン上の構造物を適切に除去しつつ被加工物を分割予定ラインに沿って分割することが可能となるように、加工条件が選定される。
【0007】
ただし、構造物の有無、配置、寸法、材質等は分割予定ラインごとに異なる場合があり、被加工物の加工性は構造物の有無等に応じて異なる。そのため、分割予定ラインごとの構造物の有無等を考慮せずに被加工物を同一の加工条件で加工すると、加工不良の発生や加工効率の低下の原因となる。例えば、構造物が設けられていない分割予定ラインの加工に適した加工条件で構造物が設けられている分割予定ラインまで加工されると、構造物が適切に除去されず、加工不良が発生するおそれがある。一方、構造物が設けられている分割予定ラインの加工に適した加工条件で構造物が設けられていない分割予定ラインまで加工されると、被加工物に過剰な加工が施されて大量の加工屑(デブリ)や加工不良が発生したり、加工時間が長くなって加工効率が低下したりすることがある。
【0008】
そこで、加工条件を選定する際には、被加工物を複数の分割予定ラインに沿って試験的に加工し、加工後の被加工物の状態(加工不良の有無、程度等)を確認する作業が行われる。これにより、構造物の有無等が分割予定ラインによって異なる場合であっても、加工不良が発生しない適切な加工条件を分割予定ラインごとに設定することが可能になる。しかしながら、上記のような手法を用いると、加工条件を選定するために必要な加工量が多くなり、加工後の被加工物の確認範囲も広くなる。これにより、加工条件の選定に費やされるコストが増大する上、試験加工に手間と時間もかかる。
【0009】
本発明は、かかる問題に鑑みてなされたものであり、分割予定ライン上に構造物が設けられた被加工物を加工する際の加工条件の選定を簡略化することが可能な加工装置及び被加工物の加工方法の提供を目的とする。
【課題を解決するための手段】
【0010】
本発明の一態様によれば、複数の分割予定ラインが設定され該分割予定ライン上に複数の構造物が設けられた被加工物を加工する加工装置であって、該被加工物を加工する加工ユニットと、コントローラと、を備え、該コントローラは、該被加工物に含まれ該構造物の配置が共通する複数の単位領域を記憶する単位領域記憶部と、該単位領域に対して設定された加工条件を記憶する加工条件記憶部と、該単位領域が該加工条件で加工され該単位領域に加工痕が形成されるように該加工ユニットを制御する加工制御部と、を有する加工装置が提供される。
(【0011】以降は省略されています)
この特許をJ-PlatPat(特許庁公式サイト)で参照する
関連特許
株式会社ディスコ
ノズル
12日前
株式会社ディスコ
切削装置
12日前
株式会社ディスコ
研削装置
28日前
株式会社ディスコ
加工装置
1か月前
株式会社ディスコ
診断方法
2日前
株式会社ディスコ
加工装置
14日前
株式会社ディスコ
加工装置
1か月前
株式会社ディスコ
フレーム
12日前
株式会社ディスコ
切削装置
5日前
株式会社ディスコ
加工装置
1か月前
株式会社ディスコ
加工装置
21日前
株式会社ディスコ
加工装置
12日前
株式会社ディスコ
加工方法
13日前
株式会社ディスコ
シート貼着装置
13日前
株式会社ディスコ
ノズルユニット
2日前
株式会社ディスコ
加工水供給装置
5日前
株式会社ディスコ
ドレッシング方法
1か月前
株式会社ディスコ
ドレッシング方法
26日前
株式会社ディスコ
液体供給システム
12日前
株式会社ディスコ
接合強度検査方法
22日前
株式会社ディスコ
切削ブレード治具
2日前
株式会社ディスコ
チャックテーブル
22日前
株式会社ディスコ
洗浄液供給システム
22日前
株式会社ディスコ
被加工物の加工方法
20日前
株式会社ディスコ
ウェーハの製造方法
20日前
株式会社ディスコ
ウエーハの加工方法
23日前
株式会社ディスコ
被加工物の加工方法
12日前
株式会社ディスコ
ウエーハの加工装置
1か月前
株式会社ディスコ
洗浄装置及び洗浄方法
26日前
株式会社ディスコ
測定方法及び測定治具
28日前
株式会社ディスコ
切削方法及び切削装置
20日前
株式会社ディスコ
砥石及び研削ホイール
1か月前
株式会社ディスコ
押圧試験装置の評価方法
12日前
株式会社ディスコ
積層ウェーハの加工方法
2日前
株式会社ディスコ
異常予知方法及び加工装置
23日前
株式会社ディスコ
保持プレート及び洗浄装置
14日前
続きを見る
他の特許を見る