TOP
|
特許
|
意匠
|
商標
特許ウォッチ
Twitter
他の特許を見る
公開番号
2025140214
公報種別
公開特許公報(A)
公開日
2025-09-29
出願番号
2024039441
出願日
2024-03-13
発明の名称
情報処理装置、情報処理方法、及びMaaS提供方法
出願人
トヨタ自動車株式会社
代理人
個人
,
個人
,
個人
,
個人
主分類
G08G
5/00 20250101AFI20250919BHJP(信号)
要約
【課題】飛行試験を含む機体試験の適切なスケジュールを決定する。
【解決手段】情報処理装置10は制御部11を備え、制御部11は、飛行体20の飛行試験を含む機体試験が実施される空域における気象予測情報を取得し、気象予測情報に応じて、前記機体試験のスケジュールを自動的に決定する。
【選択図】図1
特許請求の範囲
【請求項1】
制御部を備え、飛行体の管理を行う情報処理装置であって、
前記制御部は、
飛行体の飛行試験を含む機体試験が実施される空域における気象予測情報を取得し、
前記気象予測情報に応じて、前記機体試験のスケジュールを自動的に決定する、情報処理装置。
続きを表示(約 450 文字)
【請求項2】
前記制御部は、前記気象予測情報が所定の条件を満たす場合には、飛行試験を実施可能と決定し、前記気象予測情報が所定の条件を満たさない場合には、飛行試験以外の試験を、前記飛行試験よりも優先的に実施可能と決定する、請求項1に記載の情報処理装置。
【請求項3】
前記制御部は、
前記空域又は前記飛行体が配置されたエアポートの混雑度を示す混雑情報を取得し、
前記気象予測情報及び前記混雑情報に応じて、前記機体試験のスケジュールを自動的に決定する、請求項1又は2に記載の情報処理装置。
【請求項4】
飛行体の管理を行う情報処理装置が、
飛行体の飛行試験を含む機体試験が実施される空域における気象予測情報を取得し、
前記気象予測情報に応じて、前記機体試験のスケジュールを自動的に決定する、情報処理方法。
【請求項5】
請求項1に記載の情報処理装置を用いたMaaS(Mobility as a Service)提供方法。
発明の詳細な説明
【技術分野】
【0001】
本開示は、情報処理装置、情報処理方法、及びMaaS提供方法に関する。
続きを表示(約 1,100 文字)
【背景技術】
【0002】
従来、eVTOL(electric Vertical Take Off and Landing)の電駆動システムの機能試験を実行する技術が知られている。例えば、特許文献1には、eVTOLの電駆動システムと直接的又は間接的に接続可能な動作確認用装置を用いて、eVTOLの運用場所において電駆動システムの機能試験を実行することが開示されている。
【先行技術文献】
【特許文献】
【0003】
特開2021-031008号公報
【発明の概要】
【発明が解決しようとする課題】
【0004】
eVTOLなどの航空機において、例えば運用に必要となる耐空証明書を取得するために、種々の機体試験が行われる。ここで、機体を実際に飛行させて行う飛行試験は、気象条件によっては実施することが困難であり、気象条件は試験スケジュールに影響を及ぼし得る。特許文献1においては、動作確認用装置は地面に固定されるものであり、飛行試験については考慮されていなかった。
【0005】
かかる事情に鑑みてなされた本開示の目的は、飛行試験を含む機体試験の適切なスケジュールを決定することにある。
【課題を解決するための手段】
【0006】
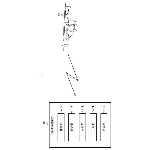
本開示の一実施形態に係る情報処理装置は、制御部を備え、飛行体の管理を行う情報処理装置であって、前記制御部は、飛行体の飛行試験を含む機体試験が実施される空域における気象予測情報を取得し、前記気象予測情報に応じて、前記機体試験のスケジュールを自動的に決定する。
【0007】
本開示の一実施形態に係る情報処理方法は、飛行体の管理を行う情報処理装置が、飛行体の飛行試験を含む機体試験が実施される空域における気象予測情報を取得し、前記気象予測情報に応じて、前記機体試験のスケジュールを自動的に決定する。
【0008】
本開示の一実施形態に係るMaaS提供方法は、上記情報処理装置を用いたMaaSを提供する。
【発明の効果】
【0009】
本開示の一実施形態によれば、飛行試験を含む機体試験の適切なスケジュールを決定することが可能となる。
【図面の簡単な説明】
【0010】
本開示の一実施形態に係る情報処理システムの概略構成を示す図である。
本開示の一実施形態に係る飛行体の概略構成を示す図である。
本開示の一実施形態に係る情報処理装置の第1の動作例を示すフローチャートである。
本開示の一実施形態に係る情報処理装置の第2の動作例を示すフローチャートである。
【発明を実施するための形態】
(【0011】以降は省略されています)
この特許をJ-PlatPat(特許庁公式サイト)で参照する
関連特許
トヨタ自動車株式会社
装置
26日前
トヨタ自動車株式会社
車両
16日前
トヨタ自動車株式会社
車両
27日前
トヨタ自動車株式会社
車両
25日前
トヨタ自動車株式会社
車両
6日前
トヨタ自動車株式会社
電池
6日前
トヨタ自動車株式会社
装置
26日前
トヨタ自動車株式会社
車両
2日前
トヨタ自動車株式会社
車両
2日前
トヨタ自動車株式会社
モータ
17日前
トヨタ自動車株式会社
電動車
4日前
トヨタ自動車株式会社
サーバ
10日前
トヨタ自動車株式会社
ロータ
4日前
トヨタ自動車株式会社
電解液
2日前
トヨタ自動車株式会社
回転子
17日前
トヨタ自動車株式会社
電動車
2日前
トヨタ自動車株式会社
電動車
16日前
トヨタ自動車株式会社
電動車
2日前
トヨタ自動車株式会社
電動車
2日前
トヨタ自動車株式会社
回転子
2日前
トヨタ自動車株式会社
蓄電装置
3日前
トヨタ自動車株式会社
育苗装置
3日前
トヨタ自動車株式会社
蓄電装置
3日前
トヨタ自動車株式会社
制御装置
6日前
トヨタ自動車株式会社
蓄電装置
6日前
トヨタ自動車株式会社
表示装置
18日前
トヨタ自動車株式会社
電源装置
27日前
トヨタ自動車株式会社
蓄電装置
2日前
トヨタ自動車株式会社
蓄電装置
16日前
トヨタ自動車株式会社
冷却構造
9日前
トヨタ自動車株式会社
蓄電装置
6日前
トヨタ自動車株式会社
制御装置
17日前
トヨタ自動車株式会社
蓄電セル
4日前
トヨタ自動車株式会社
蓄電装置
6日前
トヨタ自動車株式会社
駆動装置
2日前
トヨタ自動車株式会社
蓄電セル
4日前
続きを見る
他の特許を見る